ГОСТы сталей. ГОСТ 19052-80
ГОСТ 19052-80
Группа В56
МЕЖГОСУДАРСТВЕННЫЙ СТАНДАРТ
ПЛАСТИНЫ РЕЖУЩИЕ СМЕННЫЕ МНОГОГРАННЫЕ
ТВЕРДОСПЛАВНЫЕ КВАДРАТНОЙ ФОРМЫ С ОТВЕРСТИЕМ
И СТРУЖКОЛОМАЮЩИМИ КАНАВКАМИ НА ОДНОЙ СТОРОНЕ
Конструкция и размеры
Square throw-away (indexable) carbide cutting inserts with cylindrical
holes and chip-breaking flutes on one face only. Design and dimensions
МКС 25.100
77.160
ОКП 19 6000
Дата введения 1982-01-01
ИНФОРМАЦИОННЫЕ ДАННЫЕ
1. РАЗРАБОТАН И ВНЕСЕН Министерством цветной металлургии СССР
2. УТВЕРЖДЕН И ВВЕДЕН В ДЕЙСТВИЕ Постановлением Государственного комитета СССР по стандартам от 19.06.80 N 2907
3. В настоящий стандарт введен международный стандарт ИСО 3364-85 "Пластины сменные твердосплавные с радиусами при вершине с цилиндрическим крепежным отверстием. Размеры" в части пластин SNMM
4. ВЗАМЕН ГОСТ 19052-73
5. ССЫЛОЧНЫЕ НОРМАТИВНО-ТЕХНИЧЕСКИЕ ДОКУМЕНТЫ
Обозначение НТД, на который дана ссылка | Номер пункта |
ГОСТ 19042-80 | 5 |
ГОСТ 19086-80 | 6 |
6. Ограничение срока действия снято Постановлением Госстандарта СССР от 29.12.90 N 3618
7. ИЗДАНИЕ с Изменениями N 1, 2, 3, утвержденными в октябре 1984 г., апреле 1987 г., декабре 1990 г. (ИУС 2-85, 8-87, 4-91)
Требования настоящего стандарта являются обязательными.
(Введен дополнительно, Изм. N 3).
1. (Исключен, Изм. N 2).
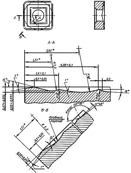
2. Конструкция и размеры пластин должны соответствовать указанным на чертеже и в таблице.

________________
* Размер для справок.
мм
Обозначение пластин классов допусков |
| |||||||||
U | M | |||||||||
цифровое | буквенно- | Приме- | цифровое | буквенно- | Приме- | |||||
03114-090304 | SNUM-090304 | 03124-090304 | SNMM-090304 | 9,525 | 3,81 | 3,18 | 0,4 | 1,808 | ||
03114-090308 | SNUM-090308 | 03124-090308 | SNMM-090308 | 0,8 | 1,644 | |||||
03114-120404 | SNUM-120404 | 03124-120404 | SNMM-120404 | 12,700 | 5,16 | 4,76 | 0,4 | 2,465 | ||
03114-120408 | SNUM-120408 | 03124-120408 | SNMM-120408 | 0,8 | 2,301 | |||||
03114-120412 | SNUM-120412 | 03124-120412 | SNMM-120412 | 1,2 | 2,137 | |||||
03114-150412 | SNUM-150412 | 03124-150412 | SNMM-150412 | 15,875 | 6,35 | 1,2 | 2,795 | |||
03114-150416 | SNUM-150416 | 03124-150416 | SNMM-150416 | 1,6 | 2,630 | |||||
- | - | 03124-150608 | SNMM-150608 | 6,35 | 0,8 | 2,959 | ||||
- | - | 03124-150612 | SNMM-150612 | 1,2 | 2,795 | |||||
03114-190612 | SNUM-190612 | 03124-190612 | SNMM-190612 | 19,050 | 7,93 | 1,2 | 3,452 | |||
03114-190616 | SNUM-190616 | 03124-190616 | SNMM-190616 | 1,6 | 3,288 | |||||
03114-190624 | SNUM-190624 | 03124-190624 | SNMM-190624 | 2,4 | 2,951 | |||||
03114-250716 | SNUM-250716 | 03124-250716 | SNMM-250716 | 25,400 | 9,12 | 7,93 | 1,6 | 4,598 | ||
03114-250724 | SNUM-250724 | 03124-250724 | SNMM-250724 | 2,4 | 4,274 | |||||
________________
* См. приложение 4.
Пример условного обозначения при заказе пластины из твердого сплава марки ВК6, класса допуска U, с длиной режущей кромки =9,5 мм, толщиной
=3,18 мм, радиусом
=0,4 мм, со стружколомающей канавкой типа 1:
19 6524
0370 090304-1
(Измененная редакция, Изм. N 3).
То же, со стружколомающей канавкой типа 2:
19 6527
0370 090304-2
(Измененная редакция, Изм. N 2).
3. Тип, форма и размеры стружколомающих канавок указаны в приложении 1.
4. Ориентировочная масса пластин указана в приложении 2.
5. Система обозначений пластин - по ГОСТ 19042.
6. Технические требования - по ГОСТ 19086.
7. Применяемые марки сплавов указаны в приложении 3.
(Введен дополнительно, Изм. N 3).
ПРИЛОЖЕНИЕ 1 (рекомендуемое)
ПРИЛОЖЕНИЕ 1
Рекомендуемое
Тип, форма и размеры стружколомающих канавок на передней поверхности пластин указаны на черт.1-5 и в табл.1 и 2.
Черт.1. Форма 1 для диаметров d=9,525 и 12,700 мм. Форма 2 для диаметров d от 15,875 до 25,400 мм. Тип 1
Тип 1

Черт.1
Таблица 1
мм
9,525 | - | 5 | 1,0 | 25° |
12,700 | 7 | 20° | ||
15,875 | 3,2 | - | 1,6 | |
19,050 | ||||
25,400 | 3,8 |
Черт.2. Форма 1 для пластин 031.4-090304; 031.4-120404. Тип 2
Форма 1 для пластин 031.4-090304; 031.4-120404
Тип 2

________________
* Размеры для справок.
Черт.2
Черт.3. Форма 2 для пластины 031.4-090308. Тип 2
Форма 2 для пластины 031.4-090308
Тип 2

________________
* Переход между главным стружколомом и стружколомом при вершине выравнивается на длине 0,5 мм.
** Размеры для справок.
Черт.3
Черт.4. Форма 3. Тип 2
Форма 3
Тип 2

________________
* Переход между главным стружколомом и стружколомом при вершине выравнивается на длине 1,5 мм.
** Размеры для справок.
Черт.4
Таблица 2
мм
Пластина | |||||||
031.4-120408 | 0,20 | 0,88 | 1,22 | 2,22 | 2,80 | 0,68 | 1,08 |
031.4-150608 | |||||||
031.4-120412 | 0,25 | 0,93 | 1,27 | 2,27 | 2,85 | 0,73 | 1,20 |
031.4-150412 | |||||||
031.4-150612 | |||||||
031.4-150516 | 0,40 | 1,08 | 1,42 | 2,42 | 3,00 | 0,88 | 1,60 |
031.4-190612 | 1,20 |
(Измененная редакция, Изм. N 3).
Черт.5. Форма 4 для пластин 031.4-190616; 031.4-250716; 031.4-190624; 031.4-250724. Тип 2
Форма 4 для пластин 031.4-190616; 031.4-250716; 031.4-190624; 031.4-250724
Тип 2

________________
* Размеры для справок.
(Измененная редакция, Изм. N 1).
Черт.5
ПРИЛОЖЕНИЕ 2 (справочное). Ориентировочная масса пластин
ПРИЛОЖЕНИЕ 2
Справочное
Ориентировочная масса пластин, г | |||||||||||
Цифровое обозначение пластин | из твердого сплава марок | из без- | из твердых сплавов | ||||||||
ВК6-ОМ | ВК6 | ВК8 | ВК10-ХОМ | Т5К10 | Т14К8 | Т15К6 | КНТ16, ТН20 | ВП255 | ВП3115 | ВП3325 | |
03114-090304 | 3,57 | 3,57 | 3,52 | 3,48 | 3,09 | 2,80 | 2,75 | 1,39 | 3,27 | 3,57 | 3,52 |
03124-090304 | |||||||||||
03114-090308 | 3,55 | 3,55 | 3,50 | 3,47 | 3,07 | 2,79 | 2,74 | 1,39 | 3,27 | 3,55 | 3,50 |
03124-090308 | |||||||||||
03114-120404 | 9,39 | 9,39 | 9,26 | 9,16 | 8,12 | 7,36 | 7,23 | 3,66 | 8,61 | 9,39 | 9,26 |
03124-120404 | |||||||||||
03114-120408 | 9,39 | 9,39 | 9,26 | 9,16 | 8,12 | 7,36 | 7,23 | 3,66 | 8,61 | 9,39 | 9,26 |
03124-120408 | |||||||||||
03114-120412 | 9,34 | 9,34 | 9,21 | 9,15 | 8,08 | 7,32 | 7,20 | 3,64 | 8,60 | 9,34 | 9,21 |
03124-120412 | |||||||||||
03114-150412 | 14,60 | 14,60 | 14,40 | 14,25 | 12,70 | 11,50 | 11,30 | 5,69 | 13,39 | 14,60 | 14,40 |
03124-150412 | |||||||||||
03114-150416 | 14,60 | 14,60 | 14,40 | 14,25 | 12,60 | 11,40 | 11,20 | 5,69 | 13,39 | 14,60 | 14,40 |
03124-150416 | |||||||||||
03114-190612 | 28,00 | 28,00 | 27,60 | 27,32 | 24,20 | 21,90 | 21,60 | - | 25,66 | 28,00 | 27,60 |
03124-190612 | |||||||||||
03114-190616 | 27,90 | 27,90 | 27,50 | 27,30 | 24,10 | 21,90 | 21,50 | - | 25,57 | 27,90 | 27,50 |
03124-190616 | |||||||||||
03114-190624 | 27,50 | 27,50 | 27,20 | 26,92 | 23,80 | 21,60 | 21,20 | - | 25,29 | 27,50 | 27,20 |
03124-190624 | |||||||||||
03114-250716 | 64,40 | 64,40 | 63,50 | 62,86 | 55,70 | 50,50 | 49,60 | - | 59,05 | 64,40 | 63,50 |
03124-250716 | |||||||||||
03114-250716 | 64,20 | 64,20 | 63,30 | 62,66 | 55,50 | 50,30 | 49,40 | - | 58,89 | 64,20 | 63,30 |
03124-250724 | |||||||||||
03124-150608 | - | - | 19,30 | - | 17,05 | 15,43 | 15,15 | 7,65 | 19,29 | 20,10 | 19,30 |
03124-150612 | - | - | 19,21 | - | 16,94 | 15,34 | 15,07 | 7,59 | 19,20 | 20,01 | 19,21 |
ПРИЛОЖЕНИЕ 2. (Измененная редакция, Изм. N 3).
ПРИЛОЖЕНИЕ 3 (рекомендуемое). Применяемые марки сплавов пластин
ПРИЛОЖЕНИЕ 3
Рекомендуемое
Цифровое обозначение пластин | Основное применение | Дополнительное применение | Применение по специальному заказу |
03114-090304 | N 7, N 9, N 11 | N 1, N 2, N 3, N 10 | N 4, N 5, N 6, N 8 |
03124-090304 | - | - | N 1, N 2, N 3, N 4, N 5, N 6, N 7, N 8, N 9, N 10, N 11 |
03114-090308 | N 7, N 9, N 11 | N 1, N 2, N 3 | N 4, N 5, N 6, N 8, N 10 |
03124-090308 | N 5, N 7, N 11 | N 1, N 2 | N 3, N 4, N 6, N 8, N 9, N 10 |
03114-120404 | N 7, N 9 | N 1, N 2, N 3, N 5, N 11 | N 4, N 6, N 8, N 10 |
03124-120404 | N 5, N 7, N 11 | - | N 1, N 2, N 3, N 4, N 6, N 8, N 9, N 10 |
03114-120408 | N 5, N 7, N 8, N 9, N 11 | N 1, N 2, N 3, N 4, N 6, N 10 | - |
03124-120408 | N 4, N 5, N 7, N 11 | N 1, N 2, N 3, N 4, N 6, N 9 | N 8, N 10 |
03114-120412 | N 5, N 7, N 9, N 11 | N 3, N 4, N 6 | N 1, N 2, N 8, N 10 |
03124-120412 | N 4, N 5, N 7, N 11, N 9 | N 1, N 2, N 3 | N 6, N 8, N 10 |
03114-150412 | N 5, N 7, N 8, N 9, N 10, N 11 | N 3, N 4, N 6 | N 2 |
03124-150412 | N 4, N 5, N 7 | N 1, N 6 | N 2, N 3, N 9, N 10, N 11 |
03114-150416 | N 5, N 7, N 10 | N 3, N 4, N 6 | N 1, N 2, N 8, N 9, N 11 |
03124-150416 | N 7 | N 5 | N 1, N 2, N 3, N 4, N 6, N 8, N 9, N 10, N 11 |
03114-150608 | N 4, N 5, N 7, N 10 | N 6, N 9 | N 8, N 11 |
03114-150612 | N 4, N 5, N 7, N 10 | N 6, N 9 | N 8, N 11 |
03114-190612 | N 4, N 5, N 7, N 10 | N 6 | N 1, N 2, N 3, N 9, N 11 |
03124-190612 | - | - | N 1, N 2, N 3, N 4, N 5, N 6, N 7, N 9, N 10, N 11 |
03114-190616 | N 4, N 5, N 7, N 10 | N 6 | N 1, N 2, N 3, N 9, N 11 |
03124-190616 | - | - | N 1, N 2, N 3, N 4, N 5, N 6, N 7, N 9, N 10, N 11 |
03114-190624 | N 5, N 7 | N 1, N 2, N 3, N 4, N 6, N 9, N 10, N 11 | |
03114-250716 | N 4, N 10 | N 3, N 7 | N 1, N 2, N 3, N 6, N 9, N 11 |
03124-250716 | N 3, N 7 | N 4, N 10 | N 1, N 2, N 5, N 6, N 9, N 11 |
03114-250724 | N 4, N 5, N 10 | N 7 | N 1, N 2, N 3, N 6, N 9, N 11 |
03124-250724 | - | N 5 | N 1, N 2, N 3, N 4, N 6, N 7, N 9, N 10, N 11 |
03124-190624 | - | - | N 1, N 2, N 3, N 4, N 5, N 6, N 7, N 9, N 10, N 11 |
N 1 - ВК10-ХОМ; N 2 - ВК6-ОМ; N 3 - ВК6; N 4 - ВК8; N 5 - Т5К10; N 6 - Т14К8; N 7 - Т15К6; N 8 - КНТ16, ТН20; N 9 - ВП3115; N 10 - ВП3325; N 11 - ВП1255.
ПРИЛОЖЕНИЕ 4 (справочное). Применяемость пластин
ПРИЛОЖЕНИЕ 4
Справочное
Обозначение | Пластины со стружколомающими канавками на одной стороне | |||||
радиус при вершине | ||||||
0,4 | 0,8 | 1,2 | 1,6 | 2,4 | ||
9,525 | SNMM 0903 | + | + | +++ | +++ | +++ |
12,7 | SNMM 1203 | ++ | ++ | ++ | +++ | +++ |
SNMM 1204 | ++ | + | + | ++ | +++ | |
15,875 | SNMM 1504 | +++ | +++ | ++ | ++ | +++ |
SNMM 1506 | +++ | + | + | ++ | +++ | |
19,05 | SNMM 1906 | +++ | +++ | + | + | ++ |
25,4 | SNMM 2507 | +++ | +++ | +++ | ++ | + |
SNMM 2509 | +++ | +++ | +++ | +++ | ++ | |
Примечание. + - пластины основного применения, стандартизованные.
++ - пластины ограниченного применения, нестандартизованные.
+++ - пластины, не рекомендуемые для применения.
ПРИЛОЖЕНИЯ 3, 4. (Введены дополнительно, Изм. N 3).
Электронный текст документа
подготовлен ЗАО "Кодекс" и сверен по:
официальное издание
Пластины сменные многогранные. Технические
условия. Конструкция и размеры: Сб. стандартов. -
М.: Стандартинформ, 2006
Разместите заказ
сами сделают вам предложение
