ГОСТы сталей. ГОСТ 10096-76
ГОСТ 10096-76
Группа В56
МЕЖГОСУДАРСТВЕННЫЙ СТАНДАРТ
ПУДРА АЛЮМИНИЕВАЯ КОМКОВАННАЯ
Технические условия
Clotted aluminium powder. Technical requirements
ОКП 17 9133
Дата введения 1978-01-01
ИНФОРМАЦИОННЫЕ ДАННЫЕ
1. РАЗРАБОТАН И ВНЕСЕН Министерством металлургии СССР
РАЗРАБОТЧИКИ
Р.Г.Смолянский, В.Г.Уваров, А.Н.Нечитайлов
2. УТВЕРЖДЕН И ВВЕДЕН В ДЕЙСТВИЕ Постановлением Государственного комитета стандартов Совета Министров СССР от 17.09.76 N 2132
3. ВЗАМЕН ГОСТ 10096-62
4. ССЫЛОЧНЫЕ НОРМАТИВНО-ТЕХНИЧЕСКИЕ ДОКУМЕНТЫ
Обозначение НТД, на который дана ссылка | Номер пункта, подпункта |
ГОСТ 12.1.004-91 | 2а.5 |
ГОСТ 12.1.005-88 | 2а.1, 2а.2 |
ГОСТ 12.1.044-89 | 2а.3 |
ГОСТ 12.3.009-76 | 5.4 |
ГОСТ 4328-77 | 4.8.1 |
ГОСТ 5494-95 | 4.7 |
ГОСТ 6613-86 | 2.3, 4.3, 4.3.1 |
ГОСТ 6709-72 | 4.8.1 |
ГОСТ 7995-80 | 4.8.1 |
ГОСТ 11069-74 | 2.1 |
ГОСТ 12697.7-77 | 4.6 |
ГОСТ 14192-96 | 5.2, 5.4 |
ГОСТ 17809-72 | 4.5.2 |
ГОСТ 19433-88 | 2а.4, 5.2 |
ГОСТ 21650-76 | 5.4 |
ГОСТ 23148-78 | 4.2.1 |
ГОСТ 24104-88 | 4.3.1, 4.4.1, 4.5.2, 4.8.1 |
ГОСТ 25086-87 | 4.8.3 |
ГОСТ 25336-82 | 4.8.1 |
ГОСТ 26319-84 | 5.1 |
ГОСТ 26663-85 | 5.4 |
ГОСТ 28498-90 | 4.8.1 |
ТУ 48-5-254-86 | 5.1 |
ТУ 48-5-286-87 | 5.4 |
5. Ограничение срока действия снято Постановлением Государственного комитета СССР по управлению качеством продукции и стандартам от 06.05.91 N 635
6. ПЕРЕИЗДАНИЕ (январь 1999 г.) с Изменениями N 1, 2, 3, утвержденными в июле 1983 г., июне 1987 г., мае 1991 г. (ИУС 10-83, 11-87, 8-91)
Настоящий стандарт распространяется на алюминиевую комкованную пудру, предназначенную для изготовления теплопрочного деформируемого материала типа САП.
Требования стандарта являются обязательными.
(Измененная редакция, Изм. N 2, 3).
Раздел 1. (Исключен, Изм. N 2).
2. ТЕХНИЧЕСКИЕ ТРЕБОВАНИЯ
2. ТЕХНИЧЕСКИЕ ТРЕБОВАНИЯ
2.1а. Алюминиевую комкованную пудру изготовляют в соответствии с требованиями настоящего стандарта по технологическому регламенту, утвержденному в установленном порядке.
(Введен дополнительно, Изм. N 1).
2.1. Алюминиевую комкованную пудру изготовляют из первичного алюминия марок не ниже А-6 по ГОСТ 11069 *или из отходов чистого алюминия, если по своему химическому составу они не ниже марки А-6.
_______________
* На территории Российской Федерации действует ГОСТ 11069-2001. - Примечание изготовителя базы данных.
2.2а. Пудру алюминиевую комкованную изготовляют следующих марок: АПС-1А, АПС-1Б, АПС-2, АПС-3.
(Введен дополнительно, Изм. N 2).
2.2. Физико-химические свойства пудры и коды ОКП должны соответствовать указанным в табл.1.
Таблица 1
Химический состав, %, не более | |||||||
Марки | Код ОКП | Окись алюминия | Железо | Жировые добавки | Влага | Насыпная плотность, г/см | Содержание магнитной фракции, г/100 кг, не более |
АПС-1А | 17 9133 0001 | 6-8 | 0,20 | 0,25 | 0,1 | 0,9 | 0,7 |
АПС-1Б | 17 9133 0002 | 6-8 | 0,25 | 0,25 | 0,1 | 1,0 | 1 |
АПС-2 | 17 9133 0003 | 9-12 | 0,25 | 0,30 | 0,1 | 1,0 | 2 |
АПС-3 | 17 9133 0004 | 13-17 | 0,25 | 0,30 | 0,1 | 1,0 | 3 |
(Измененная редакция, Изм. N 1, 2).
2.3. Гранулометрический состав пудры должен соответствовать указанному в табл.2.
Таблица 2
Марки | Остаток на сите с сетками по ГОСТ 6613, %, не более | ||
0315 | 05 | 1 | |
АПС-1А | 15 | 0,3 | - |
АПС-1Б | - | - | 0,3 |
АПС-2 | - | - | 0,3 |
АПС-3 | - | - | 0,3 |
2.4. Пудра должна представлять собой продукт серого цвета с отдельными частицами, имеющими металлический блеск.
2.5. Пудра не должна содержать видимых невооруженным глазом инородных примесей.
2.6. Срок хранения пудры - два года со дня изготовления.
(Введен дополнительно, Изм. N 2).
2а. ТРЕБОВАНИЯ БЕЗОПАСНОСТИ
2а.1. Алюминиевую пудру по степени воздействия на организм человека относят к 3-му классу опасности в соответствии с требованиями ГОСТ 12.1.005.
При вдыхании пыль алюминия поражает главным образом легкие, вызывая алюминоз легких.
(Измененная редакция, Изм. N 3).
2а.2. Предельно допустимая концентрация алюминиевой пудры в воздухе рабочей зоны в соответствии с требованиями ГОСТ 12.1.005 - 2 мг/м.
Контроль воздушной среды рабочей зоны необходимо осуществлять в соответствии с требованиями ГОСТ 12.1.005 и типовым положением по организации контроля воздушной среды, утвержденным Госгортехнадзором.
Определение содержания алюминия в воздухе рабочей зоны следует проводить фотометрическим методом в соответствии с методиками, утвержденными Министерством здравоохранения.
(Измененная редакция, Изм. N 2, 3).
2а.2.1. (Исключен, Изм. N 2).
2а.3. Алюминиевую пудру в соответствии с требованиями ГОСТ 12.1.044 относят к группе горючих веществ. Во взвешенном состоянии в атмосфере воздуха алюминиевая пудра (аэрозоль) взрывоопасна, в насыпанном состоянии (аэрогель) - пожароопасна.
При наличии источника инициирования воспламенения (горящие или накаленные тела, искрение от удара или трения, тепловые проявления химических реакций и механических воздействий, электрические разряды и т.п.) аэрозоль алюминиевой пыли при концентрации выше нижнего концентрационного предела распространения пламени (НКПР) взрывается.
При этом осевшая в помещении алюминиевая пыль может перейти во взвешенное состояние и вызвать более сильный взрыв. НКПР алюминиевой пыли не менее 40 г/м, ориентировочные значения показателей температуры воспламенения аэрозоля - 540 °С, аэрогеля - 470 °С.
Алюминиевая пудра при взаимодействии с водой, кислородом воздуха и окислителями способна гореть.
При попадании в алюминиевую пудру воды возможно ее самовозгорание. Опасность возрастает по мере увеличения дисперсности пудры.
При работе с пудрой необходимо избегать пыления, не допускать наличия источников инициирования воспламенения, попадания в пудру влаги, скоплений осевшей пыли.
2а.4. В соответствии с требованиями ГОСТ 19433 по степени опасности груза пудру относят к опасным грузам класса 4, подкласса 4.3. Категория опасности груза 431.
2а.3, 2а.4. (Измененная редакция, Изм. N 2, 3).
2а.5. Для тушения алюминиевой пудры применяют: песок, сухие порошки глинозема, магнезита, обезвоженного карналлита и огнетушащие порошки на основе хлоридов щелочных и щелочно-земельных металлов. Запрещается применять воду, пенные и углекислотные огнетушители. Общие требования по обеспечению пожарной безопасности должны соответствовать требованиям ГОСТ 12.1.004.
2а.6. Для индивидуальной защиты органов дыхания от аэрозолей алюминиевой пудры необходимо применять специальную пылезащитную одежду согласно действующим типовым отраслевым нормам бесплатной выдачи спецодежды, спецобуви и предохранительных приспособлений рабочим и служащим, утвержденным Госкомитетом СССР по труду и социальным вопросам.
Коллективные средства защиты от алюминиевой пыли должны соответствовать правилам безопасности при производстве порошков и пудр алюминия, магния и сплавов на их основе, утвержденным Госгортехнадзором.
2а.5; 2а.6. (Измененная редакция, Изм. N 3).
2а.7. Непригодную к использованию алюминиевую пудру и пыль (отходы) не допускается вывозить в отвалы. Отходы должны сжигаться в местах, согласованных с местными органами пожарного надзора.
2а.8. (Исключен, Изм. N 2).
Раздел 2а. (Введен дополнительно, Изм. N 1).
3. ПРАВИЛА ПРИЕМКИ
3.1. Пудру принимают партиями. Партия должна состоять из пудры одной марки и оформлена одним документом о качестве, содержащим:
товарный знак или наименование предприятия-изготовителя и товарный знак;
марку пудры;
номер партии;
массу (нетто) партии;
количество мест в партии;
результаты испытаний;
дату изготовления;
обозначение настоящего стандарта.
Масса партии должна быть не более 3000 кг.
3.2. Для определения качества пудры отбирают выборку в соответствии с табл.3.
Таблица 3
Количество банок в контролируемой партии | Объем выборки |
От 1 до 5 | Все |
Св. 5 " 15 | 5 |
" 15 " 35 | 7 |
" 35 " 60 | 8 |
" 60 " 99 | 9 |
3.1, 3.2. (Измененная редакция, Изм. N 1).
3.3. Содержание магнитной фракции и влаги в пудре изготовитель определяет периодически на каждой десятой партии на выборке, отобранной по п.3.2.
3.4. Проверку соответствия упаковки и маркировки требованиям настоящего стандарта проводят на каждом барабане партии.
(Измененная редакция, Изм. N 2).
3.5. При получении неудовлетворительных результатов испытаний хотя бы по одному из показателей по нему проводят повторные испытания на удвоенной выборке, отобранной от той же партии пудры. Результаты повторных испытаний распространяются на всю партию.
4. МЕТОДЫ ИСПЫТАНИЙ
4.1. Для определения химического и гранулометрического составов и насыпной плотности отбирают среднюю пробу.
4.2. Отбор и подготовка проб
4.2.1. Из каждой банки выборки щупом по ГОСТ 23148* отбирают точечную пробу массой не менее 150 г.
_______________
* На территории Российской Федерации действует ГОСТ 23148-98. - Примечание изготовителя базы данных.
4.2.2. Точечные пробы соединяют, тщательно перемешивают и сокращают методом квартования или с помощью струйного делителя до средней пробы массой не менее 500 г.
4.2.1, 4.2.2. (Измененная редакция, Изм. N 2).
4.2.3. Среднюю пробу делят на две части, одну из которых подвергают испытаниям, а другую упаковывают в плотно закрывающуюся тару и хранят в течение трех месяцев на случай разногласия в оценке качества.
4.3. Определение гранулометрического состава
Гранулометрический состав определяют просевом пробы массой 50 г через сита с сетками по ГОСТ 6613.
4.3.1. Аппаратура
Механический встряхиватель с частотой вращения сит 270-300 об/мин и числом встряхивания 140-180 в минуту.
Весы лабораторные общего назначения 4-го класса точности с погрешностью взвешивания не более 0,01 г по ГОСТ 24104*.
_______________
* На территории Российской Федерации действует ГОСТ 24104-2001, здесь и далее по тексту. - Примечание изготовителя базы данных.
Набор сит с сетками N 0,5; 0315; 1 по ГОСТ 6613.
Кисточка мягкая по нормативно-технической документации.
(Измененная редакция, Изм. N 2, 3).
4.3.2. Проведение анализа
Под набором сит, собранных в необходимой последовательности, помещают поддон и устанавливают на механический встряхиватель. Пробу массой 50 г взвешивают с погрешностью не более 0,01 г, помещают на верхнее сито и закрывают крышкой. Включают встряхиватель и просеивают пудру в течение 30 мин.
Остаток на ситах и поддоне определяют взвешиванием с погрешностью не более 0,01 г. Застрявшие в отверстиях сит частицы извлекают с помощью мягкой кисточки и присоединяют к остатку на сите.
Потери при просеивании не должны превышать 1%.
4.3.3. Обработка результатов
Массовую долю отдельных фракций () в процентах вычисляют по формуле
,
где - масса данной фракции, г;
- масса испытуемой пробы, г.
За результат анализа принимают округленное до первого десятичного знака среднее арифметическое результатов двух определений, расхождение между которыми не должно превышать 20 отн. %.
(Измененная редакция, Изм. N 2).
4.4. Определение насыпной плотности
4.4.1. Аппаратура
Весы лабораторные общего назначения 4-го класса точности с погрешностью взвешивания не более 0,01 г по ГОСТ 24104.
Установка для определения насыпной плотности (черт.1).
Металлическая пластина.
(Измененная редакция, Изм. N 2, 3).
4.4.2. Проведение испытания
Навеску пудры массой 150-200 г постепенно насыпают через воронку 1 с сеткой 2 и корпус 3 с наклонными пластинами 4 в мерный стакан 5. Расстояние между нижним срезом корпуса 3 и верхней кромкой стакана 5 должно быть 25 мм. Корпус 3 крепят к стойке 6.
Избыток пудры осторожно снимают металлической пластиной. Затем стакан с пудрой взвешивают с погрешностью не более 0,01 г.
4.4.3. Обработка результатов
Насыпную плотность () в г/см
вычисляют по формуле
,
где - масса стакана с пудрой, г;
- масса стакана, г;
- вместимость стакана, см
.
За результат испытания принимают округленное до первого десятичного знака среднее арифметическое результатов трех параллельных определений, расхождение между которыми не должно превышать 5 отн. %.
4.5. Определение массовой доли магнитной фракции
4.5.1. Проверку на массовую долю магнитной фракции проводят на всей массе пудры любого барабана (массой не более 10 кг), входящей в выборку.
4.4.2-4.5.1. (Измененная редакция, Изм. N 2).
4.5.2. Аппаратура
Контрольный сепаратор (черт.2).
Постоянный магнит в кожухе из немагнитного металла (черт.3). Магнит изготовлен из сплава марки ЮНДК 35Т5БА по ГОСТ 17809 и должен иметь магнитный поток не менее 0,2 мВб.
Установка для измерения магнитного потока (черт.4).
Весы лабораторные общего назначения 2-го класса точности с погрешностью взвешивания не более 0,001 г по ГОСТ 24104.
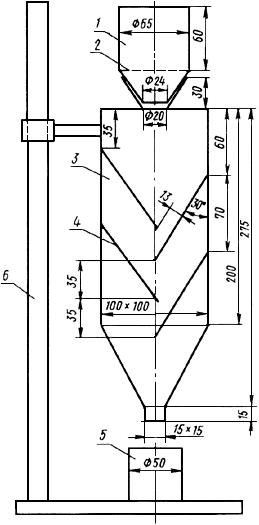
Черт.1. Установка для определения насыпной плотности

1 - воронка из латуни; 2 - сетка N 1,6 по НТД; 3 - корпус из прозрачного органического стекла;
4 - наклонные стеклянные пластины; 5 - цилиндрический стакан вместимостью (100±0,05) см
с внутренним диаметром 50 мм; 6 - стойка
Черт.1
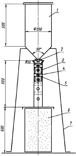
Черт.2. Контрольный сепаратор

1 - емкость для сепарируемой пудры; 2 - вентиль; 3 - корпус сепаратора
(квадратная труба с площадью внутреннего сечения, равной 16 см); 4 - кожух магнита
(восемь взаимно перпендикулярных кожухов укреплены консольно в стенках трубы);
5 - магниты (цилиндрические постоянные магниты диаметром 25 мм, длиной 25 мм,
расположенные в кожухах); 6 - емкость для отсепарированной пудры; 7 - стойка
Черт.2
Черт.3. Постоянный магнит в кожухе из немагнитного металла

Черт.3
Черт.4. Установка для измерения магнитного потока

1 - магнит;
2 - катушка наружным диаметром 28±0,5 мм, с толщиной стенки 0,2-0,5 мм,
изготовленная из немагнитного металла (алюминий, медь); 3 - обмотка, состоящая
из 20 витков, намотанных в два слоя медным эмалированным проводом (ПЭЛ)
или обмоточным с эмалевоволокнистой изоляцией проводом (ПЭЛШО)
диаметром 0,2 мм по НТД; 4 - милливеберметр; 5 - подставка; 6 - фиксатор
Черт.4
(Измененная редакция, Изм. N 1, 2, 3).
4.5.3. Проведение испытания
4.5.3.1. Определение величины магнитного потока постоянных магнитов
Магнит 1 (см. черт.4) устанавливают внутри катушки 2 на фиксатор 6. Затем фиксатор отводят, и магнит под действием собственной тяжести падает на подставку 5, при этом стрелка милливеберметра отклоняется.
Расстояние от фиксатора 6 до центра обмотки 3 должно быть равно половине высоты магнита 1.
Величину магнитного потока () в мВб вычисляют по формуле
,
где - показание стрелки милливеберметра.
(Измененная редакция, Изм. N 3).
4.5.3.2. Проведение анализа
В кожухи 4 (см. черт.2) контрольного сепаратора вставляют магниты 5 и сепаратор устанавливают на емкость 6 для отсепарированной пудры.
Расстояние между центрами любых двух соседних магнитов должно быть равным и не менее 50 мм.
В емкость 1 загружается испытуемая пудра. Открывая вентиль 2, дают возможность пудре из емкости 1 пересыпаться через сепаратор в емкость 6. После окончания сепарации сепаратор устанавливают на лист кальки размером 200х200 мм. Из кожухов извлекают магниты. Сепаратор встряхивают для очистки его от зависшей на кожухах смеси частиц магнитной фракции и пудры. Затем с помощью магнита, помещенного в кожух, производят выделение частиц магнитной фракции из смеси, находящейся на кальке. Последнюю операцию повторяют трижды. Выделенную магнитную фракцию взвешивают на аналитических весах с погрешностью не более 0,001 г.
4.5.3.3. Обработка результатов
Массовую долю магнитной фракции () в граммах на 100 кг вычисляют по формуле
,
где - масса магнитной фракции, г;
- масса испытуемой пудры, кг.
За результат испытания принимают округленное до первого десятичного знака среднее арифметическое результатов двух параллельных определений, расхождение между которыми не должно превышать 20 отн. %.
4.6. Массовую долю железа определяют по ГОСТ 12697.7.
4.7. Массовую долю жировых добавок и влаги определяют по ГОСТ 5494.
4.8. Определение массовой доли активного алюминия
Массовую долю активного алюминия определяют косвенным способом: измеряя объем водорода, образовавшегося в результате реакции с гидроокисью натрия.
4.5.3.3-4.8. (Измененная редакция, Изм. N 2).
4.8.1. Аппаратура и реактивы
Газоволюметр (черт.5);
Весы лабораторные общего назначения 2-го класса точности с погрешностью взвешивания не более 0,0002 г по ГОСТ 24104;
натрия гидроокись по ГОСТ 4328, массовая концентрация 20 г/дм;
вода дистиллированная по ГОСТ 6709.
Черт.5. Газоволюметр

1 - стеклянная пробирка по ГОСТ 25336; 2 - сосуд типа СЦ-0,5 по ГОСТ 25336;
3, 5 - краны соединительные по ГОСТ 7995; 4 - термометр по ГОСТ 28498;
6 - бюретка; 7 - уравнительная склянка по ГОСТ 25336
Черт.5
(Измененная редакция, Изм. N 3).
4.8.2. Проведенные испытания
Навеску пудры массой 0,05-0,1 г, взвешенную с погрешностью не более 0,0002 г, помещают в пробирку, установленную в реакционном сосуде наклонно. В реакционный сосуд осторожно наливают 30 см раствора натрия гидроокиси с массовой концентрацией 20 г/дм
так, чтобы раствор находился ниже краев пробирки.
Реакционный сосуд плотно закрывают резиновой пробкой, через которую проходит трубка, соединяющая его через трехходовой кран с атмосферой и через двухходовой кран с измерительной бюреткой.
Перед началом опыта измерительную бюретку при помощи уравнительной склянки заполняют водой, затем реакционный сосуд поворотом трехходового крана разобщают с атмосферой и соединяют с измерительной бюреткой.
Температура воды, охлаждающей реакционный сосуд, а также воды, заключенной в кожухе измерительной бюретки, не должна отличаться от температуры окружающего воздуха более чем на 1 °С.
Реакционный сосуд встряхивают так, чтобы часть раствора попала в пробирку с пудрой, и погружают в воду. Встряхивание повторяют несколько раз до полного растворения алюминия.
После прекращения выделения газа и охлаждения реакционного сосуда до температуры окружающего воздуха объем газа измеряют 2-3 раза через каждые 15 мин при помощи уравнительной склянки. После того, как объем газа станет постоянным, измеряют атмосферное давление и температуру окружающего воздуха.
4.8.3. Обработка результатов
Массовую долю активного алюминия () в процентах вычисляют по формуле
,
где - атмосферное давление, Па;
- упругость водяных паров при температуре анализа, Па;
0,000216 - коэффициент пересчета водорода на алюминий; - объем выделившегося газа, см
;
- температура в кожухе измерительной бюретки, °С;
- навеска алюминиевой пудры, г.
За результат испытания принимают округленное до первого десятичного знака среднее арифметическое двух параллельных определений, расхождение между которыми не должно превышать 1 отн. %.
Контроль правильности результатов анализа следует проводить методом стандартной добавки в соответствии с требованиями ГОСТ 25086.
4.8.1-4.8.3. (Введены дополнительно, Изм. N 2).
4.9. Массовую долю окиси алюминия (AlO
) определяют по разности между 100% и содержанием суммы активного алюминия, железа, жировых добавок и влаги в процентах.
(Измененная редакция, Изм. N 2).
4.10. Проверку внешнего вида пудры и на отсутствие инородных примесей проводят внешним осмотром всей выборки.
5. УПАКОВКА, МАРКИРОВКА, ТРАНСПОРТИРОВАНИЕ И ХРАНЕНИЕ
5.1. Пудру алюминиевую упаковывают в соответствии с требованиями ГОСТ 26319 в металлические герметично закрывающиеся барабаны типа БТ-50-II или БТО-50-I по ТУ 48-5-254 вместимостью 40, 50, 56 дм, массой брутто не более 75 кг.
Для предохранения от коррозии наружная поверхность барабанов должна быть окрашена.
Крышка каждого упакованного барабана должна быть герметизирована замазкой, не оказывающей отрицательного влияния на качество пудры.
5.2. Транспортная маркировка - по ГОСТ 14192 с нанесением на барабанах манипуляционных знаков: "Беречь от влаги", "Герметичная упаковка" и знака опасности по ГОСТ 19433, подкласса 4.3.
На каждом барабане несмываемой краской при помощи штампа или трафарета должны быть указаны:
товарный знак или наименование и товарный знак предприятия-изготовителя;
наименование пудры;
марка пудры;
номер партии;
масса брутто и нетто;
дата изготовления;
номер упаковочной единицы;
обозначение настоящего стандарта;
классификационный шифр группы 4312 по ГОСТ 19433;
серийный номер 00Н 1396.
5.1, 5.2. (Измененная редакция, Изм. N 2, 3).
5.3. (Исключен, Изм. N 1).
5.4. Пудру транспортируют транспортом всех видов в крытых транспортных средствах в соответствии с правилами перевозок грузов, действующими на транспорте данного вида.
Формирование транспортных пакетов в соответствии с требованиями ГОСТ 26663 и ТУ 48-5-286. Средства скрепления пакетов должны соответствовать требованиям ГОСТ 21650. Транспортная маркировка пакетов - по ГОСТ 14192.
На железнодорожном транспорте пудру следует транспортировать повагонно.
При транспортировании алюминиевой пудры воздушным транспортом масса груза нетто на одну упаковку не должна превышать 15 кг на пассажирских и 50 кг на грузовых воздушных судах.
Погрузочно-разгрузочные работы с алюминиевой пудрой следует выполнять в соответствии с требованиями ГОСТ 12.3.009. Не допускается перебрасывать барабаны с пудрой и перекатывать их боковой поверхностью.
(Измененная редакция, Изм. N 2, 3).
5.5. Пудру хранят в упаковке изготовителя в закрытых сухих помещениях на расстоянии не менее 1 м от отопительных приборов.
Запрещается совместное хранение пудры с окислителями и водными растворами различных соединений.
(Измененная редакция, Изм. N 2).
6. ГАРАНТИИ ИЗГОТОВИТЕЛЯ
6.1. Изготовитель должен гарантировать соответствие качества пудры требованиям настоящего стандарта при соблюдении условий хранения, транспортирования и правил погрузочно-разгрузочных работ.
Гарантийный срок хранения пудры всех марок устанавливается один год с момента изготовления.
(Измененная редакция, Изм. N 1).
Раздел 7. (Исключен, Изм. N 1).
Электронный текст документа
подготовлен ЗАО "Кодекс" и сверен по:
официальное издание
М.: ИПК Издательство стандартов, 1999
Разместите заказ
сами сделают вам предложение
