ГОСТы сталей. ГОСТ 12815-80
ГОСТ 12815-80
Группа Г18
МЕЖГОСУДАРСТВЕННЫЙ СТАНДАРТ
ФЛАНЦЫ АРМАТУРЫ, СОЕДИНИТЕЛЬНЫХ ЧАСТЕЙ И ТРУБОПРОВОДОВ НА от 0,1 до 20,0 МПа (от 1 до 200 кгс/см
)
Типы. Присоединительные размеры и размеры уплотнительных поверхностей
Flanges for valves, fittings and pipelines for from 0,1 to 20 MPa (from 1 to 200 kgf/cm
). Types. Connecting dimensions and dimensions of sealing surfaces
МКС 23.040.60
ОКП 37 9941
Дата введения 1983-01-01
Постановлением Государственного комитета СССР по стандартам от 20 мая 1980 г. N 2238 дата введения установлена 01.01.83
Ограничение срока действия снято Постановлением Госстандарта от 15.04.92 N 402
ВЗАМЕН ГОСТ 1233-67 и ГОСТ 1234-67
ИЗДАНИЕ (июль 2003 г.) с Изменениями N 1, 2, 3, 4, 5, утвержденными в марте 1983 г., декабре 1983 г., декабре 1987 г., сентябре 1989 г., апреле 1992 г. (ИУС 6-83, 3-84, 4-88, 12-89, 7-92).
Внесены поправки, опубликованные в ИУС N 11, 2005, ИУС N 4, 2010 год, ИУС N 6, 2011 год
Поправки внесены изготовителем базы данных
1. Настоящий стандарт распространяется на фланцы трубопроводов и соединительных частей, а также на присоединительные фланцы арматуры, машин, приборов, патрубков аппаратов и резервуаров на условное давление от 0,1 до 20,0 МПа (от 1 до 200 кгс/см
) и температуру среды от 20 до 873 К (от минус 253 до плюс 600 °С) и на фланцы с прокладками из фторопласта-4 на условное давление
от 0,1 до 20,0 МПа (от 1 до 200 кгс/см
) и температуру среды от 73 до 473 К (от минус 200 до плюс 200 °С) и может быть использован для их сертификации.
Стандарт не распространяется на фланцы трубопроводов транспортных машин, если эти фланцы не предназначены для присоединения арматуры или приборов общего назначения, а также фланцы, стандартизованные ГОСТ 1536-76 и ГОСТ 4433-76.
Требования пп.1-3; 5; 6; 10-12 настоящего стандарта являются обязательными, остальные требования - рекомендуемыми.
(Измененная редакция, Изм. N 5).
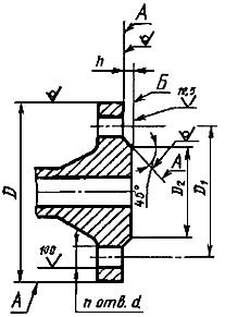
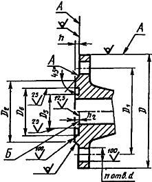
2. Типы и основные параметры фланцев должны соответствовать указанным в табл.1, присоединительные размеры, размеры и исполнения уплотнительных поверхностей - указанным на черт.1-6 и в табл.2-11, кроме размеров уплотнительных поверхностей щип-паз под фторопластовые прокладки, которые должны соответствовать указанным на черт.6 и в табл.12.
Таблица 1
Тип фланца | Условное давление | Условный проход | |||
Литые из серого чугуна по ГОСТ 12817-80 | 0,1; 0,25 (1; 2,5) | 15-3000 | |||
0,6 (6) | 15-2400 | ||||
1,0 (10) | 15-2000 | ||||
1,6 (16) | 15-1000 | ||||
Литые из ковкого чугуна по ГОСТ 12818-80 | 1,6; 2,5; 4,0 (16; 25; 40) | 15-80 | |||
Литые стальные по ГОСТ 12819-80 | 1,6 (16) | 15-1600 | |||
2,5 (25) | 15-1400 | ||||
4,0 (40) | 15-800 | ||||
6,3 (63) | 15-600 | ||||
10 (100) | 15-400 | ||||
16 (160) | 15-300 | ||||
20 (200) | 15-250 | ||||
Стальные плоские приварные по ГОСТ 12820-80 | 0,1; 0,25 (1; 2,5) | 10-2400 | |||
0,6 (6) | 10-1600 | ||||
1,0 (10) | 10-1600 | ||||
1,6 (16) | 10-1200 | ||||
2,5 (25) | 10-800 | ||||
Стальные приварные встык по ГОСТ 12821-80 | 0,1; 0,25; 0,6 (1; 2,5; 6) | 10-1600 | |||
1,0; 1,6; 2,5; 4,0 (10; 16; 25; 40) | 10-1200 | ||||
6,3 (63) | 10-400; 500-1200 | ||||
10 (100) | 10-400 | ||||
16 (160) | 15-300 | ||||
20 (200) | 15-250 | ||||
Стальные свободные на приварном кольце по ГОСТ 12822-80 | 0,1; 0,25; 0,6; 1,0; 1,6; 2,5 (1; 2,5; 6; 10; 16; 25) | 10-500 | |||
Черт. 1. Исполнение 1 фланца с соединительным выступом; Вариант (квадратный фланец)
Исполнение 1 | Вариант |
|
|
| |
Черт. 2. Исполнение 2 фланца с выступом; Исполнение 3 фланца с впадиной
Исполнение 2 | Исполнение 3 |
|
|
Черт.2 | |
Черт. 3. Исполнение 4 фланца с шипом; Исполнение 5 фланца с пазом
Исполнение 4 | Исполнение 5 |
|
|
Черт.3 | |
Черт. 4. Исполнение 6 фланца под линзовую прокладку; Черт.5. Исполнение 7 фланца под прокладку овального сечения
Исполнение 6 | Исполнение 7 |
|
|
Черт.4 | Черт.5 |
Черт. 6. Исполнение 8; Исполнение 9
Исполнение 8 | Исполнение 9 |
|
|
Черт.6 | |
Примечания к черт.1-6:
1. Допускается обработка поверхностей с шероховатостью
мкм.
2. Допускается обработка поверхностей с шероховатостью
мкм при кругообразном направлении неровностей.
3. Допускается вместо <45° выполнять скругление.
Таблица 2
0,1 и 0,25 МПа (1,0 и 2,5 кгс/см
)
Размеры в мм
Проход условный |
|
|
|
|
|
|
|
|
|
|
|
|
| Номинальный диаметр болтов или шпилек | |||||||||
Ряд 1 | Ряд 2 | Ряд 1 | Ряд 2 | Ряд 1 | Ряд 2 | Ряд 1 | Ряд 2 | Ряд 1 | Ряд 2 | Ряд 1 | Ряд 2 | Ряд 1 | Ряд 2 | Ряд 1 | Ряд 2 | Ряд 1 | Ряд 2 | ||||||
10 | 75 | 50 | 35 | 20 | 19 | 30 | 29 | 19 | 18 | 31 | 30 | 11 | 11 | 4 | 4 | 2 | 4 | 4 | 3 | 3 | 60 | М10 | М10 |
15 | 80 | 55 | 40 | 25 | 23 | 35 | 33 | 24 | 22 | 36 | 34 | 65 | |||||||||||
20 | 90 | 65 | 50 | 32 | 33 | 46 | 43 | 31 | 32 | 47 | 44 | 70 | |||||||||||
25 | 100 | 75 | 60 | 39 | 41 | 53 | 51 | 38 | 40 | 54 | 52 | 75 | |||||||||||
32 | 120 | 90 | 70 | 49 | 49 | 63 | 59 | 48 | 48 | 64 | 60 | 14 | 14 | 95 | М12 | М12 | |||||||
40 | 130 | 100 | 80 | 56 | 55 | 70 | 69 | 55 | 54 | 71 | 70 | 3 | 100 | ||||||||||
50 | 140 | 110 | 90 | 69 | 66 | 83 | 80 | 68 | 65 | 84 | 81 | 110 | |||||||||||
65 | 160 | 130 | 110 | 89 | 86 | 103 | 100 | 88 | 85 | 104 | 101 | 125 | |||||||||||
80 | 185 | 150 | 128 | 103 | 101 | 117 | 115 | 102 | 100 | 118 | 116 | 18 | 18 | 140 | М16 | М16 | |||||||
100 | 205 | 170 | 148 | 123 | 117 | 143 | 137 | 122 | 116 | 144 | 138 | 4,5 | 3,5 | 155 | |||||||||
125 | 235 | 200 | 178 | 149 | 146 | 169 | 166 | 148 | 145 | 170 | 167 | 8 | 8 | - | |||||||||
150 | 260 | 225 | 202 | 176 | 171 | 196 | 191 | 175 | 170 | 197 | 192 | ||||||||||||
(175) | 290 | 255 | 232 | 206 | 203 | 226 | 223 | 205 | 202 | 227 | 224 | ||||||||||||
200 | 315 | 280 | 258 | 231 | 229 | 251 | 249 | 230 | 228 | 252 | 250 | ||||||||||||
(225) | 340 | 305 | 282 | 256 | 256 | 276 | 276 | 255 | 255 | 277 | 277 | ||||||||||||
250 | 370 | 335 | 312 | 286 | 283 | 306 | 303 | 285 | 282 | 307 | 304 | 12 | 12 | ||||||||||
300 | 435 | 395 | 365 | 336 | 336 | 356 | 356 | 335 | 335 | 357 | 357 | 22 | 22 | 4 | 5 | 4 | |||||||
350 | 485 | 445 | 415 | 381 | 386 | 407 | 406 | 380 | 385 | 408 | 407 | 5 | 4 | ||||||||||
400 | 535 | 495 | 465 | 431 | 436 | 457 | 456 | 430 | 435 | 458 | 457 | 16 | 16 | М20 | М20 | ||||||||
(450) | 590 | 550 | 520 | 481 | 489 | 507 | 509 | 480 | 488 | 508 | 510 | ||||||||||||
500 | 640 | 600 | 570 | 531 | 541 | 557 | 561 | 530 | 540 | 558 | 562 | 20 | |||||||||||
600 | 755 | 705 | 670 | 631 | 635 | 657 | 661 | 630 | 634 | 658 | 662 | 26 | 26 | 20 | 5 | 6 | 5 | М24 | М24 | ||||
(700) | 860 | 810 | 775 | 736 | 737 | 762 | 763 | 735 | 736 | 763 | 764 | 24 | 24 | ||||||||||
800 | 975 | 920 | 880 | 841 | 841 | 867 | 867 | 840 | 840 | 868 | 868 | 30 | 30 | М27 | М27 | ||||||||
(900) | 1075 | 1020 | 980 | - | - | - | - | - | - | - | - | - | - | - | - | ||||||||
1000 | 1175 | 1120 | 1080 | 28 | 28 | ||||||||||||||||||
1200 | 1375 | 1320 | 1280 | 32 | 32 | ||||||||||||||||||
1400 | 1575 | 1520 | 1480 | 36 | 36 | ||||||||||||||||||
1600 | 1785 | 1730 | 1690 | 40 | 40 | ||||||||||||||||||
(1800) | 1985 | 1930 | 1890 | 44 | 44 | ||||||||||||||||||
2000 | 2190 | 2130 | 2090 | 48 | 48 | ||||||||||||||||||
(2200) | 2405 | 2340 | 2295 | 33 | 33 | 52 | 52 | 6 | М30 | М30 | |||||||||||||
2400 | 2605 | 2540 | 2495 | 56 | 56 | ||||||||||||||||||
(2600) | 2805 | 2740 | 2695 | 60 | 60 | ||||||||||||||||||
(2800) | 3035 | 2960 | 2910 | 36 | 39 | 64 | 64 | М33 | М36 | ||||||||||||||
3000 | 3240 | 3160 | 3110 | 68 | 68 | ||||||||||||||||||
Таблица 3
0,6 МПа (6 кгс/см
)
Размеры в мм
Про- ход услов- |
|
|
|
|
|
|
|
|
|
|
|
|
| Номи- нальный диаметр болтов или шпилек | |||||||||
Ряд 1 | Ряд 2 | Ряд 1 | Ряд 2 | Ряд 1 | Ряд 2 | Ряд 1 | Ряд 2 | Ряд 1 | Ряд 2 | Ряд 1 | Ряд 2 | Ряд 1 | Ряд 2 | Ряд 1 | Ряд 2 | Ряд 1 | Ряд 2 | ||||||
10 | 75 | 50 | 35 | 20 | 19 | 30 | 29 | 19 | 18 | 31 | 30 | 11 | 11 | 4 | 4 | 2 | 4 | 4 | 3 | 3 | 60 | М10 | М10 |
15 | 80 | 55 | 40 | 25 | 23 | 35 | 33 | 24 | 22 | 36 | 34 | 65 | |||||||||||
20 | 90 | 65 | 50 | 32 | 33 | 46 | 43 | 31 | 32 | 47 | 44 | 70 | |||||||||||
25 | 100 | 75 | 60 | 39 | 41 | 53 | 51 | 38 | 4 * | 54 | 52 | 75 | |||||||||||
32 | 120 | 90 | 70 | 49 | 49 | 63 | 59 | 48 | 48 | 64 | 60 | 14 | 14 | 95 | М12 | М12 | |||||||
40 | 130 | 100 | 80 | 56 | 55 | 70 | 69 | 55 | 54 | 71 | 70 | 3 | 100 | ||||||||||
50 | 140 | 110 | 90 | 69 | 66 | 83 | 80 | 68 | 65 | 84 | 81 | 110 | |||||||||||
65 | 160 | 130 | 110 | 89 | 86 | 103 | 100 | 88 | 85 | 104 | 101 | 125 | |||||||||||
80 | 185 | 150 | 128 | 103 | 101 | 117 | 115 | 102 | 100 | 118 | 116 | 18 | 18 | 140 | М16 | М16 | |||||||
100 | 205 | 170 | 148 | 123 | 117 | 143 | 137 | 122 | 116 | 144 | 138 | 4,5 | 3,5 | 155 | |||||||||
125 | 235 | 200 | 178 | 149 | 146 | 169 | 166 | 148 | 145 | 170 | 167 | 8 | 8 | - | |||||||||
150 | 260 | 225 | 202 | 176 | 171 | 196 | 191 | 175 | 170 | 197 | 192 | ||||||||||||
(175) | 290 | 255 | 232 | 206 | 203 | 226 | 223 | 205 | 202 | 227 | 224 | ||||||||||||
200 | 315 | 280 | 258 | 231 | 229 | 251 | 249 | 230 | 228 | 252 | 250 | ||||||||||||
(225) | 340 | 305 | 282 | 256 | 256 | 276 | 276 | 255 | 255 | 277 | 277 | ||||||||||||
250 | 370 | 335 | 312 | 286 | 283 | 306 | 303 | 285 | 282 | 307 | 304 | 12 | 12 | ||||||||||
300 | 435 | 395 | 365 | 336 | 336 | 356 | 356 | 335 | 335 | 357 | 357 | 22 | 22 | 4 | 5 | 4 | М20 | М20 | |||||
350 | 485 | 445 | 415 | 381 | 386 | 407 | 406 | 380 | 385 | 408 | 407 | 5 | 4 | ||||||||||
400 | 535 | 495 | 465 | 431 | 436 | 457 | 456 | 430 | 435 | 458 | 457 | 16 | 16 | ||||||||||
(450) | 590 | 550 | 520 | 481 | 489 | 507 | 509 | 480 | 488 | 508 | 510 | ||||||||||||
500 | 640 | 600 | 570 | 531 | 541 | 557 | 561 | 530 | 540 | 558 | 562 | 20 | |||||||||||
600 | 755 | 705 | 670 | 631 | 635 | 657 | 661 | 630 | 634 | 658 | 662 | 26 | 26 | 20 | 5 | 6 | 5 | М24 | М24 | ||||
(700) | 860 | 810 | 775 | 736 | 737 | 762 | 763 | 735 | 736 | 763 | 764 | 24 | 24 | ||||||||||
800 | 975 | 920 | 880 | 841 | 841 | 867 | 867 | 840 | 840 | 868 | 868 | 30 | 30 | М27 | М27 | ||||||||
(900) | 1075 | 1020 | 980 | - | - | - | - | - | - | - | - | - | - | - | - | ||||||||
1000 | 1175 | 1120 | 1080 | 28 | 28 | ||||||||||||||||||
1200 | 1400 | 1340 | 1295 | 33 | 33 | 32 | 32 | М30 | М30 | ||||||||||||||
1400 | 1620 | 1560 | 1510 | 36 | 36 | 36 | М33 | ||||||||||||||||
1600 | 1820 | 1760 | 1710 | 40 | 40 | ||||||||||||||||||
(1800) | 2045 | 1970 | 1920 | 39 | 39 | 44 | 44 | М36 | М36 | ||||||||||||||
2000 | 2265 | 2180 | 2125 | 42 | 45 | 48 | 48 | М39 | М42 | ||||||||||||||
(2200) | 2475 | 2390 | 2335 | 52 | 52 | ||||||||||||||||||
2400 | 2685 | 2600 | 2545 | 56 | 56 | 6 | |||||||||||||||||
_______________
* Соответствует оригиналу. - Примечание изготовителя базы данных.
Таблица 4
1,0 МПа (10 кгс/см
)
Размеры в мм
Про- ход услов- |
|
|
|
|
|
|
|
|
|
|
|
| Номи- нальный диаметр болтов или шпилек | |||||||||||||
Ряд 1 | Ряд 2 | Ряд 1 | Ряд 2 | Ряд 1 | Ряд 2 | Ряд 1 | Ряд 2 | Ряд 1 | Ряд 2 | Ряд 1 | Ряд 2 | Ряд 1 | Ряд 2 | Ряд 1 | Ряд 2 | Ряд 1 | Ряд 2 | |||||||||
10 | 90 | 60 | 42 | 24 | 34 | 23 | 35 | 14 | 14 | 4 | 4 | 2 | 4 | 4 | 3 | 3 | 70 | М12 | М12 | |||||||
15 | 95 | 65 | 47 | 29 | 39 | 28 | 40 | 75 | ||||||||||||||||||
20 | 105 | 75 | 58 | 36 | 50 | 35 | 51 | 80 | ||||||||||||||||||
25 | 115 | 85 | 68 | 43 | 57 | 42 | 58 | 90 | ||||||||||||||||||
32 | 135 | 100 | 78 | 51 | 65 | 50 | 66 | 18 | 18 | 105 | М16 | М16 | ||||||||||||||
40 | 145 | 110 | 88 | 61 | 75 | 60 | 76 | 3 | 110 | |||||||||||||||||
50 | 160 | 125 | 102 | 73 | 87 | 72 | 88 | 125 | ||||||||||||||||||
65 | 180 | 145 | 122 | 95 | 109 | 94 | 110 | 140 | ||||||||||||||||||
80 | 195 | 160 | 133 | 106 | 120 | 105 | 121 | 8 | 150 | |||||||||||||||||
100 | 215 | 180 | 158 | 129 | 149 | 128 | 150 | 8 | 4,5 | 3,5 | - | |||||||||||||||
125 | 245 | 210 | 184 | 155 | 175 | 154 | 176 | |||||||||||||||||||
150 | 280 | 240 | 212 | 183 | 203 | 182 | 204 | 22 | 22 | М20 | М20 | |||||||||||||||
(175) | 310 | 270 | 242 | 213 | 233 | 212 | 234 | |||||||||||||||||||
200 | 335 | 295 | 268 | 239 | 259 | 238 | 260 | |||||||||||||||||||
(225) | 365 | 325 | 295 | 266 | 286 | 265 | 287 | |||||||||||||||||||
250 | 390 | 350 | 320 | 292 | 312 | 291 | 313 | 12 | 12 | |||||||||||||||||
300 | 440 | 400 | 370 | 343 | 363 | 342 | 364 | 4 | 5 | 4 | ||||||||||||||||
350 | 500 | 460 | 430 | 395 | 421 | 394 | 422 | 16 | 16 | 5 | 4 | |||||||||||||||
400 | 565 | 515 | 482 | 447 | 473 | 446 | 474 | 26 | 26 | М24 | М24 | |||||||||||||||
(450) | 615 | 565 | 532 | 497 | 523 | 496 | 524 | 20 | 20 | |||||||||||||||||
500 | 670 | 620 | 585 | 549 | 575 | 548 | 576 | |||||||||||||||||||
600 | 780 | 725 | 685 | 649 | 651 | 675 | 677 | 648 | 650 | 676 | 678 | 30 | 30 | 5 | 6 | 5 | М27 | М27 | ||||||||
(700) | 895 | 840 | 800 | 751 | 751 | 777 | 777 | 750 | 750 | 778 | 778 | 24 | 24 | |||||||||||||
800 | 1010 | 950 | 905 | 856 | 851 | 882 | 877 | 855 | 850 | 883 | 878 | 33 | 33 | М30 | М30 | |||||||||||
(900) | 1110 | 1050 | 1005 | - | - | - | - | 28 | 28 | - | - | - | - | |||||||||||||
1000 | 1220 | 1160 | 1110 | 36 | М33 | М36 | ||||||||||||||||||||
1200 | 1455 | 1380 | 1330 | 39 | 39 | 32 | 32 | М36 | ||||||||||||||||||
1400 | 1675 | 1590 | 1530 | 42 | 45 | 36 | 36 | М39 | М42 | |||||||||||||||||
1600 | 1915 | 1820 | 1750 | 48 | 52 | 40 | 40 | М45 | М48 | |||||||||||||||||
(1800) | 2115 | 2020 | 1950 | 44 | 44 | |||||||||||||||||||||
2000 | 2325 | 2230 | 2150 | 48 | 48 | |||||||||||||||||||||
Таблица 5
1,6 МПа (16 кгс/см
)
Размеры в мм
Про- ход услов- | Номи- нальный диаметр болтов или шпилек | ||||||||||||||||||||||||
Ряд 1 | Ряд 2 | Ряд 1 | Ряд 2 | Ряд 1 | Ряд 2 | Ряд 1 | Ряд 2 | Ряд 1 | Ряд 2 | Ряд 1 | Ряд 2 | Ряд 1 | Ряд 2 | Ряд 1 | Ряд 2 | Ряд 1 | Ряд 2 | ||||||||
10 | 90 | 60 | 42 | 24 | 34 | 23 | 35 | 14 | 14 | 4 | 4 | 2 | 4 | 4 | 3 | 3 | 70 | М12 | М12 | ||||||
15 | 95 | 65 | 47 | 29 | 39 | 28 | 40 | 75 | |||||||||||||||||
20 | 105 | 75 | 58 | 36 | 50 | 35 | 51 | 80 | |||||||||||||||||
25 | 115 | 85 | 68 | 43 | 57 | 42 | 58 | 90 | |||||||||||||||||
32 | 135 | 100 | 78 | 51 | 65 | 50 | 66 | 18 | 18 | 105 | М16 | М16 | |||||||||||||
40 | 145 | 110 | 88 | 61 | 75 | 60 | 76 | 3 | 110 | ||||||||||||||||
50 | 160 | 125 | 102 | 73 | 87 | 72 | 88 | 125 | |||||||||||||||||
65 | 180 | 145 | 122 | 95 | 109 | 94 | 110 | 140 | |||||||||||||||||
80 | 195 | 160 | 133 | 106 | 120 | 105 | 121 | 8 | 150 | ||||||||||||||||
100 | 215 | 180 | 158 | 129 | 149 | 128 | 150 | 8 | 4,5 | 3,5 | - | ||||||||||||||
125 | 245 | 210 | 184 | 155 | 175 | 154 | 176 | ||||||||||||||||||
150 | 280 | 240 | 212 | 183 | 203 | 182 | 204 | 22 | 22 | М20 | М20 | ||||||||||||||
(175) | 310 | 270 | 242 | 213 | 233 | 212 | 234 | ||||||||||||||||||
200 | 335 | 295 | 268 | 239 | 259 | 238 | 260 | 12 | 12 | ||||||||||||||||
(225) | 365 | 325 | 295 | 266 | 286 | 265 | 287 | ||||||||||||||||||
250 | 405 | 355 | 320 | 292 | 312 | 291 | 313 | 26 | 26 | М24 | М24 | ||||||||||||||
300 | 460 | 410 | 370 | 343 | 363 | 342 | 364 | 4 | 5 | 4 | |||||||||||||||
350 | 520 | 470 | 430 | 395 | 421 | 394 | 422 | 16 | 16 | 5 | 4 | ||||||||||||||
400 | 580 | 525 | 482 | 447 | 473 | 446 | 474 | 30 | 30 | М27 | М27 | ||||||||||||||
(450) | 640 | 585 | 532 | 497 | 523 | 496 | 524 | 20 | 20 | ||||||||||||||||
500 | 710 | 650 | 585 | 549 | 575 | 548 | 576 | 33 | 33 | М30 | М30 | ||||||||||||||
600 | 840 | 770 | 685 | 649 | 651 | 675 | 677 | 648 | 650 | 676 | 678 | 36 | 39 | 5 | 6 | 5 | М33 | М36 | |||||||
(700) | 910 | 840 | 800 | 751 | 751 | 777 | 777 | 750 | 750 | 778 | 778 | 24 | 24 | ||||||||||||
800 | 1020 | 950 | 905 | 856 | 851 | 882 | 877 | 855 | 850 | 883 | 878 | 39 | М36 | ||||||||||||
(900) | 1120 | 1050 | 1005 | - | - | - | - | 28 | 28 | - | - | - | - | ||||||||||||
1000 | 1255 | 1170 | 1110 | 42 | 45 | М39 | М42 | ||||||||||||||||||
1200 | 1485 | 1390 | 1330 | 48 | 52 | 32 | 32 | М45 | М48 | ||||||||||||||||
1400 | 1685 | 1590 | 1530 | 36 | 36 | ||||||||||||||||||||
1600 | 1925 | 1820 | 1750 | 56 | 56 | 40 | 40 | М52 | М52 | ||||||||||||||||
Таблица 6
2,5 МПа (25 кгс/см
)
Размеры в мм
Про- ход услов- | Номи- нальный диаметр болтов или шпилек | ||||||||||||||||||||||
Ряд 1 | Ряд 2 | Ряд 1 | Ряд 2 | Ряд 1 | Ряд 2 | Ряд 1 | Ряд 2 | Ряд 1 | Ряд 2 | Ряд 1 | Ряд 2 | Ряд 1 | Ряд 2 | Ряд 1 | Ряд 2 | ||||||||
10 | 90 | 60 | 42 | 24 | 34 | 23 | 35 | 14 | 14 | 4 | 2 | 4 | 4 | 3 | 3 | 70 | М12 | М12 | |||||
15 | 95 | 65 | 47 | 29 | 39 | 28 | 40 | 75 | |||||||||||||||
20 | 105 | 75 | 58 | 36 | 50 | 35 | 51 | 80 | |||||||||||||||
25 | 115 | 85 | 68 | 43 | 57 | 42 | 58 | 90 | |||||||||||||||
32 | 135 | 100 | 78 | 51 | 65 | 50 | 66 | 18 | 18 | 105 | М16 | М16 | |||||||||||
40 | 145 | 110 | 88 | 61 | 75 | 60 | 76 | 3 | 110 | ||||||||||||||
50 | 160 | 125 | 102 | 73 | 87 | 72 | 88 | 125 | |||||||||||||||
65 | 180 | 145 | 122 | 95 | 109 | 94 | 110 | 8 | - | ||||||||||||||
80 | 195 | 160 | 133 | 106 | 120 | 105 | 121 | ||||||||||||||||
100 | 230 | 190 | 158 | 129 | 149 | 128 | 150 | 22 | 22 | 4,5 | 3,5 | М20 | М20 | ||||||||||
125 | 270 | 220 | 184 | 155 | 175 | 154 | 176 | 26 | 26 | М24 | М24 | ||||||||||||
150 | 300 | 250 | 212 | 183 | 203 | 182 | 204 | ||||||||||||||||
(175) | 330 | 280 | 242 | 213 | 233 | 212 | 234 | 12 | |||||||||||||||
200 | 360 | 310 | 278 | 239 | 259 | 238 | 260 | ||||||||||||||||
(225) | 395 | 340 | 305 | 266 | 286 | 265 | 287 | 30 | 30 | М27 | М27 | ||||||||||||
250 | 425 | 370 | 335 | 292 | 312 | 291 | 313 | ||||||||||||||||
300 | 485 | 430 | 390 | 343 | 363 | 342 | 364 | 16 | 4 | 5 | 4 | ||||||||||||
350 | 550 | 490 | 450 | 395 | 421 | 394 | 422 | 33 | 33 | 5 | 4 | М30 | М30 | ||||||||||
400 | 610 | 550 | 505 | 447 | 473 | 446 | 474 | 36 | М33 | ||||||||||||||
(450) | 660 | 600 | 555 | 497 | 523 | 496 | 524 | 20 | |||||||||||||||
500 | 730 | 660 | 615 | 549 | 575 | 548 | 576 | 39 | М36 | ||||||||||||||
600 | 840 | 770 | 720 | 649 | 651 | 675 | 677 | 648 | 650 | 676 | 678 | 39 | 5 | 6 | 5 | М36 | |||||||
(700) | 960 | 875 | 820 | 751 | 751 | 777 | 777 | 750 | 750 | 778 | 778 | 42 | 45 | 24 | М39 | М42 | |||||||
800 | 1075 | 990 | 930 | 856 | 851 | 882 | 877 | 855 | 850 | 883 | 878 | 48 | М45 | ||||||||||
(900) | 1185 | 1090 | 1030 | - | - | - | - | 52 | 28 | - | - | - | - | М48 | |||||||||
1000 | 1315 | 1210 | 1140 | 56 | 56 | М52 | М52 | ||||||||||||||||
1200 | 1525 | 1420 | 1350 | 32 | |||||||||||||||||||
1400 | 1750 | 1640 | 1560 | 62 | 62 | 36 | М56 | М56 | |||||||||||||||
Таблица 7
4,0 МПа (40 кгс/см
)
Размеры в мм
Про- ход услов- | Номи- нальный диаметр болтов или шпилек | |||||||||||||||||||||||
Ряд 1 | Ряд 2 | Ряд 1 | Ряд 2 | Ряд 1 | Ряд 2 | Ряд 1 | Ряд 2 | Ряд 1 | Ряд 2 | Ряд 1 | Ряд 2 | Ряд 1 | Ряд 2 | Ряд 1 | Ряд 2 | |||||||||
10 | 90 | 60 | 42 | 24 | 34 | 23 | 35 | 14 | 14 | 4 | 2 | 4 | 4 | 3 | 3 | 70 | М12 | М12 | ||||||
15 | 95 | 65 | 47 | 29 | 39 | 28 | 40 | 75 | ||||||||||||||||
20 | 105 | 75 | 58 | 36 | 50 | 35 | 51 | 80 | ||||||||||||||||
25 | 115 | 85 | 68 | 43 | 57 | 42 | 58 | 90 | ||||||||||||||||
32 | 135 | 100 | 78 | 51 | 65 | 50 | 66 | 18 | 18 | 105 | М16 | М16 | ||||||||||||
40 | 145 | 110 | 88 | 61 | 75 | 60 | 76 | 3 | 110 | |||||||||||||||
50 | 160 | 125 | 102 | 73 | 87 | 72 | 88 | 125 | ||||||||||||||||
65 | 180 | 145 | 122 | 95 | 109 | 94 | 110 | 8 | - | |||||||||||||||
80 | 195 | 160 | 133 | 106 | 120 | 105 | 121 | |||||||||||||||||
100 | 230 | 190 | 158 | 129 | 149 | 128 | 150 | 22 | 22 | 4,5 | 3,5 | М20 | М20 | |||||||||||
125 | 270 | 220 | 184 | 155 | 175 | 154 | 176 | 26 | 26 | М24 | М24 | |||||||||||||
150 | 300 | 250 | 212 | 183 | 203 | 182 | 204 | |||||||||||||||||
(175) | 350 | 295 | 242 | 213 | 233 | 212 | 234 | 30 | 30 | 12 | М27 | М27 | ||||||||||||
200 | 375 | 320 | 285 | 239 | 259 | 238 | 260 | |||||||||||||||||
(225) | 415 | 355 | 315 | 266 | 286 | 265 | 287 | 33 | 33 | М30 | М30 | |||||||||||||
250 | 445 | 385 | 345 | 292 | 312 | 291 | 313 | |||||||||||||||||
300 | 510 | 450 | 410 | 343 | 363 | 342 | 364 | 16 | 4 | 5 | 4 | |||||||||||||
350 | 570 | 510 | 465 | 395 | 421 | 394 | 422 | 36 | 5 | 4 | М33 | |||||||||||||
400 | 655 | 585 | 535 | 447 | 473 | 446 | 474 | 39 | 39 | М36 | М36 | |||||||||||||
(450) | 680 | 610 | 560 | 497 | 523 | 496 | 524 | 20 | ||||||||||||||||
500 | 755 | 670 | 615 | 549 | 575 | 548 | 576 | 42 | 45 | М39 | М42 | |||||||||||||
600 | 890 | 795 | 735 | 649 | 651 | 675 | 677 | 648 | 650 | 676 | 678 | 48 | 52 | 5 | 6 | 5 | М45 | М48 | ||||||
(700) | 995 | 900 | 840 | 751 | 751 | 777 | 777 | 750 | 750 | 778 | 778 | 24 | ||||||||||||
800 | 1135 | 1030 | 960 | 856 | 851 | 882 | 877 | 855 | 850 | 883 | 878 | 56 | 56 | М52 | М52 | |||||||||
(900) | 1250 | 1140 | 1070 | - | - | - | - | 28 | - | - | - | - | ||||||||||||
1000 | 1360 | 1250 | 1180 | |||||||||||||||||||||
1200 | 1575 | 1460 | 1380 | 62 | 62 | 32 | М56 | М56 | ||||||||||||||||
Таблица 8
6,3 МПа (63 кгс/см
)
Размеры в мм
Про- ход услов- |
|
|
|
|
|
| Номи- нальный диаметр | ||||||||||||||||||||
Ряд 1 | Ряд 2 | Ряд 1 | Ряд 2 | Ряд 1 | Ряд 2 | Ряд 1 | Ряд 2 | Ряд 1 | Ряд 2 | Ряд 1 | Ряд 2 | Ряд 1 | Ряд 2 | Ряд 1 | Ряд 2 | ||||||||||||
10 | 100 | 70 | 42 | 24 | 34 | 23 | 35 | 18 | 35 | 50 | 14 | 14 | 4 | 2 | 4 | 4 | 3 | 3 | 6,5 | 9 | 2,8 | М12 | М12 | ||||
15 | 105 | 75 | 47 | 29 | 39 | 28 | 40 | 24 | 55 | ||||||||||||||||||
20 | 125 | 90 | 58 | 36 | 50 | 35 | 51 | 30 | 45 | 58 | 18 | 18 | М16 | М16 | |||||||||||||
25 | 135 | 100 | 68 | 43 | 57 | 42 | 58 | 35 | 50 | 68 | |||||||||||||||||
32 | 150 | 110 | 78 | 51 | 65 | 50 | 66 | 42 | 65 | 78 | 22 | 22 | М20 | М20 | |||||||||||||
40 | 165 | 125 | 88 | 61 | 75 | 60 | 76 | 52 | 75 | 88 | 3 | ||||||||||||||||
50 | 175 | 135 | 102 | 73 | 87 | 72 | 88 | 63 | 85 | 102 | 8,0 | 12 | 4,0 | ||||||||||||||
65 | 200 | 160 | 122 | 95 | 109 | 94 | 110 | 85 | 110 | 132 | 8 | ||||||||||||||||
80 | 210 | 170 | 133 | 106 | 120 | 105 | 121 | 97 | 115 | 133 | |||||||||||||||||
100 | 250 | 200 | 158 | 129 | 149 | 128 | 150 | 124 | 145 | 170 | 26 | 26 | 4,5 | 3,5 | М24 | М24 | |||||||||||
125 | 295 | 240 | 184 | 155 | 175 | 154 | 176 | 153 | 175 | 205 | 30 | 30 | М27 | М27 | |||||||||||||
150 | 340 | 280 | 212 | 183 | 203 | 182 | 204 | 181 | 205 | 240 | 33 | 33 | М30 | М30 | |||||||||||||
(175) | 370 | 310 | 242 | 213 | 233 | 212 | 234 | 218 | 235 | 270 | 12 | ||||||||||||||||
200 | 405 | 345 | 285 | 239 | 259 | 238 | 260 | 243 | 265 | 285 | 36 | М33 | |||||||||||||||
(225) | 430 | 370 | 315 | 266 | 286 | 265 | 287 | 270 | 280 | 315 | |||||||||||||||||
250 | 470 | 400 | 345 | 292 | 312 | 291 | 313 | 298 | 320 | 345 | 39 | М36 | |||||||||||||||
300 | 530 | 460 | 410 | 343 | 363 | 342 | 364 | 345 | 375 | 410 | 16 | 4 | 5 | 4 | |||||||||||||
350 | 595 | 525 | 465 | 395 | 421 | 394 | 422 | 394 | 420 | 465 | 39 | 39 | 5 | 4 | М36 | М36 | |||||||||||
400 | 670 | 585 | 535 | 447 | 473 | 446 | 474 | 445 | 480 | 535 | 42 | 45 | М39 | М42 | |||||||||||||
500 | 800 | 705 | 615 | 549 | 575 | 548 | 576 | - | - | - | 48 | 52 | 20 | - | - | - | М45 | М48 | |||||||||
600 | 925 | 820 | 735 | 649 | 651 | 675 | 677 | 648 | 650 | 676 | 678 | 56 | 56 | 5 | 6 | 5 | М52 | М52 | |||||||||
(700) | 1045 | 935 | 840 | - | - | - | - | 24 | - | - | - | - | |||||||||||||||
800 | 1165 | 1050 | 960 | 62 | 62 | М56 | М56 | ||||||||||||||||||||
(900) | 1285 | 1170 | 1070 | 28 | |||||||||||||||||||||||
1000 | 1415 | 1290 | 1180 | 70 | 70 | М64 | М64 | ||||||||||||||||||||
1200 | 1665 | 1530 | 1380 | 78 | 78 | 32 | М72 | М72 | |||||||||||||||||||
_______________
* Соответствует оригиналу. - Примечание изготовителя базы данных.
Таблица 9
10 МПа (10
0 кгс/см)
Размеры в мм
Про- ход услов- |
| Номи- нальный диаметр | |||||||||||||||||||||
Ряд 1 | Ряд 2 | Ряд 1 | Ряд 2 | Ряд 1 | Ряд 2 | Ряд 1 | Ряд 2 | ||||||||||||||||
10 | 100 | 70 | 42 | 24 | 34 | 23 | 35 | 18 | 35 | 50 | 14 | 14 | 4 | 2 | 4 | 4 | 3 | 3 | 6,5 | 9 | 2,8 | М12 | М12 |
15 | 105 | 75 | 47 | 29 | 39 | 28 | 40 | 24 | 55 | ||||||||||||||
20 | 125 | 90 | 58 | 36 | 50 | 35 | 51 | 30 | 45 | 58 | 18 | 18 | М16 | М16 | |||||||||
25 | 135 | 100 | 68 | 43 | 57 | 42 | 58 | 35 | 50 | 68 | |||||||||||||
32 | 150 | 110 | 78 | 51 | 65 | 50 | 66 | 42 | 65 | 78 | 22 | 22 | М20 | М20 | |||||||||
40 | 165 | 125 | 88 | 61 | 75 | 60 | 76 | 52 | 75 | 88 | 3 | ||||||||||||
50 | 195 | 145 | 102 | 73 | 87 | 72 | 88 | 63 | 85 | 102 | 26 | 26 | 8,0 | 12 | 4,0 | М24 | М24 | ||||||
65 | 220 | 170 | 122 | 95 | 109 | 94 | 110 | 85 | 110 | 140 | 8 | ||||||||||||
80 | 230 | 180 | 133 | 106 | 120 | 105 | 121 | 97 | 115 | 150 | |||||||||||||
100 | 265 | 210 | 158 | 129 | 149 | 128 | 150 | 124 | 145 | 175 | 30 | 30 | 4,5 | 3,5 | М27 | М27 | |||||||
125 | 310 | 250 | 184 | 155 | 175 | 154 | 176 | 153 | 175 | 210 | 33 | 33 | М30 | М30 | |||||||||
150 | 350 | 290 | 212 | 183 | 203 | 182 | 204 | 181 | 205 | 250 | 12 | ||||||||||||
(175) | 380 | 320 | 242 | 213 | 233 | 212 | 234 | 218 | 235 | 280 | |||||||||||||
200 | 430 | 360 | 285 | 239 | 259 | 238 | 260 | 243 | 265 | 285 | 36 | 39 | М33 | М36 | |||||||||
(225) | 470 | 400 | 315 | 266 | 286 | 265 | 287 | 270 | 280 | 315 | 39 | М36 | |||||||||||
250 | 500 | 430 | 345 | 292 | 312 | 291 | 313 | 298 | 320 | 345 | |||||||||||||
300 | 585 | 500 | 410 | 343 | 363 | 342 | 364 | 345 | 375 | 410 | 42 | 45 | 16 | 4 | 5 | 4 | М39 | М42 | |||||
350 | 655 | 560 | 465 | 395 | 421 | 394 | 422 | 394 | 420 | 465 | 48 | 52 | 5 | 4 | 11,0 | 17 | 5,8 | М45 | М48 | ||||
400 | 715 | 620 | 535 | 447 | 473 | 446 | 474 | 445 | 480 | 535 | |||||||||||||
Таблица 10
16 МПа (16
0 кгс/см)
Размеры в мм
Про- ход услов- |
| Номи- нальный диаметр | |||||||||||||||||||||
Ряд 1 | Ряд 2 | Ряд 1 | Ряд 2 | Ряд 1 | Ряд 2 | Ряд 1 | Ряд 2 | ||||||||||||||||
15 | 105 | 75 | 47 | 29 | 39 | 28 | 40 | 24 | 35 | 55 | 14 | 14 | 4 | 2 | 4 | 4 | 3 | 3 | 6,5 | 9 | 2,8 | М12 | М12 |
20 | 125 | 90 | 58 | 36 | 50 | 35 | 51 | 30 | 45 | 58 | 18 | 18 | М16 | М16 | |||||||||
25 | 135 | 100 | 68 | 43 | 57 | 42 | 58 | 35 | 50 | 68 | |||||||||||||
32 | 150 | 110 | 78 | 51 | 65 | 50 | 66 | 42 | 65 | 78 | 22 | 22 | М20 | М20 | |||||||||
40 | 165 | 125 | 88 | 61 | 75 | 60 | 76 | 52 | 75 | 88 | 3 | ||||||||||||
50 | 195 | 145 | 102 | 73 | 87 | 72 | 88 | 63 | 95 | 115 | 26 | 26 | 8,0 | 12 | 4,0 | М24 | М24 | ||||||
65 | 220 | 170 | 122 | 95 | 109 | 94 | 110 | 85 | 110 | 140 | 8 | ||||||||||||
80 | 230 | 180 | 133 | 106 | 120 | 105 | 121 | 97 | 130 | 150 | |||||||||||||
100 | 265 | 210 | 158 | 129 | 149 | 128 | 150 | 124 | 145 | 175 | 30 | 30 | 4,5 | 3,5 | М27 | М27 | |||||||
125 | 310 | 250 | 184 | 155 | 175 | 154 | 176 | 153 | 190 | 210 | 33 | 33 | М30 | М30 | |||||||||
150 | 350 | 290 | 212 | 183 | 203 | 182 | 204 | 181 | 205 | 250 | 12 | 10,0 | 14 | 4,2 | |||||||||
(175) | 380 | 320 | 242 | 213 | 233 | 212 | 234 | 218 | 255 | 280 | 36 | 11,0 | 17 | 5,8 | М33 | ||||||||
200 | 430 | 360 | 285 | 239 | 259 | 238 | 260 | 243 | 275 | 315 | 39 | М36 | М36 | ||||||||||
(225) | 470 | 400 | 315 | 266 | 286 | 265 | 287 | 270 | 305 | 350 | 39 | ||||||||||||
250 | 500 | 430 | 345 | 292 | 312 | 291 | 313 | 298 | 330 | 380 | 42 | М39 | |||||||||||
300 | 585 | 500 | 410 | 343 | 363 | 342 | 364 | 345 | 380 | 410 | 45 | 16 | 4 | 5 | 4 | 14,0 | 23 | 8,5 | М42 | ||||
Таблица 11
20 МПа (20
0 кгс/см)
Размеры в мм
Про- ход услов- |
| Номи- нальный диаметр | |||||||||||||||||
15 | 120 | 82 | 47 | 29 | 39 | 28 | 40 | 24 | 40 | 55 | 22 | 4 | 2 | 4 | 3 | 6,5 | 9 | 2,8 | М20 |
20 | 130 | 90 | 58 | 36 | 50 | 35 | 51 | 30 | 45 | 58 | |||||||||
25 | 150 | 102 | 68 | 43 | 57 | 42 | 58 | 35 | 50 | 68 | 26 | М24 | |||||||
32 | 160 | 115 | 78 | 51 | 65 | 50 | 66 | 42 | 65 | 78 | |||||||||
40 | 170 | 124 | 88 | 61 | 75 | 60 | 76 | 52 | 75 | 91 | 3 | 8,0 | 12 | 4,0 | |||||
50 | 210 | 160 | 102 | 73 | 87 | 72 | 88 | 63 | 95 | 129 | 8 | ||||||||
65 | 260 | 203 | 122 | 95 | 109 | 94 | 110 | 85 | 130 | 167 | 30 | М27 | |||||||
80 | 290 | 230 | 133 | 106 | 120 | 105 | 121 | 97 | 160 | 190 | 33 | М30 | |||||||
100 | 360 | 292 | 158 | 129 | 149 | 128 | 150 | 124 | 190 | 245 | 39 | 4,5 | 3,5 | М36 | |||||
125 | 385 | 318 | 184 | 155 | 175 | 154 | 176 | 153 | 205 | 271 | 12 | 10,0 | 14 | 4,2 | |||||
150 | 440 | 360 | 212 | 183 | 203 | 182 | 204 | 181 | 240 | 306 | 45 | 11,0 | 17 | 5,8 | М42 | ||||
(175) | 475 | 394 | 242 | 213 | 233 | 212 | 234 | 218 | 275 | 340 | |||||||||
200 | 535 | 440 | 285 | 239 | 259 | 238 | 260 | 243 | 305 | 380 | 52 | М48 | |||||||
(225) | 580 | 483 | 315 | 266 | 286 | 265 | 287 | - | - | - | 56 | - | - | - | М52 | ||||
250 | 670 | 572 | 345 | 292 | 312 | 291 | 313 | - | - | - | 16 |
Примечания к табл.1-12:
1. Фланцы с условными проходами, указанными в скобках, не допускается применять для арматуры общего назначения.
2. Фланцы должны изготовляться с размерами по предпочтительному ряду 2.
3. Для ранее разработанных изделий размеры и
,
и
допускается выполнять по рабочим чертежам до замены технологической оснастки.
Таблица 12
Размеры в мм
Условный проход |
| Ряд |
|
|
|
| |||
10 | До 0,63 | 1 | 19 | 31 | 4 | 3 | |||
2 | 18 | 30 | |||||||
Св. 0,63 (6,3) | 1; 2 | 23 | 35 | ||||||
15 | До 0,63 | 1 | 24 | 36 | |||||
2 | 22 | 34 | |||||||
Св. 0,63 (6,3) | 1 | 28 | 40 | ||||||
2 | |||||||||
20 | До 0,63 (6,3) | 1 | 31 | 47 | |||||
2 | 32 | 44 | |||||||
Св. 0,63 (6,3) | 1; 2 | 35 | 51 | ||||||
25 | До 0,63 | 1 | 38 | 54 | |||||
2 | 40 | 52 | |||||||
Св. 0,63 (6,3) | 1; 2 | 42 | 58 | ||||||
32 | До 0,63 | 1 | 48 | 64 | |||||
2 | 60 | ||||||||
Св. 0,63 (6,3) | 1; 2 | 50 | 66 | ||||||
40 | До 0,63 (6,3) | 1 | 55 | 71 | |||||
2 | 54 | 70 | |||||||
Св. 0,63 (6,3) | 1; 2 | 60 | 76 | ||||||
50 | До 0,63 (6,3) | 1 | 68 | 84 | |||||
2 | 65 | 81 | |||||||
Св. 0,63 (6,3) | 1; 2 | 72 | 88 | ||||||
65 | До 0,63 (6,3) | 1 | 88 | 104 | |||||
2 | 85 | 101 | |||||||
Св. 0,63 (6,3) | 1; 2 | 94 | 110 | ||||||
80 | До 0,63 (6,3) | 1 | 102 | 118 | |||||
2 | 100 | 116 | |||||||
Св. 0,63 (6,3) | 1; 2 | 105 | 121 | ||||||
100 | До 0,63 (6,3) | 1 | 122 | 144 | 6 | 5 | |||
2 | 116 | 138 | |||||||
Св. 0,63 (6,3) | 1; 2 | 128 | 150 | ||||||
125 | До 0,63 | 1 | 148 | 170 | |||||
2 | 145 | 167 | |||||||
Св. 0,63 (6,3) | 1; 2 | 154 | 176 | ||||||
150 | До 0,63 | 1 | 175 | 197 | |||||
2 | 170 | 192 | |||||||
Св. 0,63 (6,3) | 1; 2 | 182 | 204 | ||||||
(175) | До 0,63 (6,3) | 1 | 205 | 227 | |||||
2 | 202 | 224 | |||||||
Св. 0,63 (6,3) | 1; 2 | 212 | 234 | ||||||
200 | До 0,63 (6,3) | 1 | 230 | 252 | |||||
2 | 228 | 250 | |||||||
Св. 0,63 (6,3) | 1; 2 | 238 | 260 | ||||||
(225) | До 0,63 (6,3) | 1 | 225 | 277 | |||||
2 | |||||||||
Св. 0,63 (6,3) | 1; 2 | 265 | 287 | ||||||
250 | До 0,63 (6,3) | 1 | 285 | 307 | |||||
2 | 282 | 304 | |||||||
Св. 0,63 (6,3) | 1; 2 | 291 | 313 | ||||||
300 | До 0,63 (6,3) | 1 | 335 | 357 | |||||
2 | |||||||||
Св. 0,63 (6,3) | 1; 2 | 242 | 364 | ||||||
350 | До 0,63 (6,3) | 1 | 380 | 408 | |||||
2 | 385 | 407 | |||||||
Св. 0,63 (6,3) | 1; 2 | 394 | 422 | ||||||
400 | До 0,63 (6,3) | 1 | 430 | 458 | |||||
2 | 435 | 457 | |||||||
Св. 0,63 (6,3) | 1; 2 | 446 | 474 | ||||||
450 | До 0,63 (6,3) | 1 | 480 | 508 | |||||
2 | 488 | 510 | |||||||
Св. 0,63 (6,3) | 1; 2 | 496 | 524 | ||||||
500 | До 0,63 (6,3) | 1 | 530 | 558 | |||||
2 | 540 | 562 | |||||||
Св. 0,63 (6,3) | 1; 2 | 548 | 576 | ||||||
600 | До 0,63 (6,3) | 1 | 630 | 658 | |||||
2 | 634 | 662 | |||||||
Св. 0,63 (6,3) | 1 | 648 | 676 | ||||||
2 | 650 | 678 | |||||||
700 | До 0,63 | 1 | 735 | 763 | |||||
2 | 736 | 764 | |||||||
Св. 0,63 (6,3) | 1; 2 | 750 | 778 | ||||||
800 | До 0,63 (6,3) | 1; 2 | 840 | 868 | |||||
Св. 0,63 (6,3) | 1 | 855 | 883 | ||||||
2 | 850 | 878 | |||||||
(Измененная редакция; Изм. N 1, 3, 4, 5).
3. Поля допусков посадочных мест под фторопластовые прокладки в сопрягаемых деталях должны соответствовать указанным в табл.13.
Таблица 13
Диаметр (шипа или паза), мм | Поле допуска | ||||
Отверстие | Вал | ||||
От 18 до 30 | Н12 | b12 | |||
Св. 30 до 130 | d11 | ||||
Св. 130 до 260 | Н11 | ||||
Св. 260 до 500 | f9 | ||||
Св. 500 до 800 | Н10 | ||||
Св. 800 до 1000 | Н9 | ||||
(Измененная редакция, Изм. N 3).
4. Допускается изготовлять фланцы других конструкций с другими исполнениями уплотнительных поверхностей, в том числе с уплотнительными канавками на соединительном выступе или приварном кольце, с обязательным выполнением присоединительных размеров по табл.2-11.
5. Проходы условные - по ГОСТ 28338-89.
Давление номинальное (условное) - по ГОСТ 26349-84.
Давления рабочие - по ГОСТ 356-80.
(Измененная редакция, Изм. N 5).
6. Отверстия под болты и шпильки во фланцах арматуры машин, приборов, патрубков аппаратов и резервуаров для удобства монтажа должны располагаться симметрично по отношению к главным осям (но не на главных осях).
(Измененная редакция, Изм. N 5).
7. Допускается фланцы всех исполнений, имеющие 4 отверстия под болты (или шпильки), изготовлять квадратными на 4,0 МПа (40 кгс/см
).
8. Допуски размеров и
:
для чугунных литых и литых стальных фланцев - по 9-му классу точности ГОСТ 26645-85;
для фланцев, изготавливаемых из проката обычной точности (В), - по ГОСТ 2590-88* и ГОСТ 2591-88**;
________________
* На территории Российской Федерации действует ГОСТ 2590-2006;
** На территории Российской Федерации действует ГОСТ 2591-2006. - Примечание изготовителя базы данных.
для фланцев, изготавливаемых методом кислородной и плазменно-дуговой резки, - по 2-му классу точности ГОСТ 14792-80;
для фланцев штампованных, изготавливаемых методом гибки из полосового проката с последующей сваркой стыка и горячей рихтовкой, - по классу точности Т4 ГОСТ 7505-89, при этом допускается усиление шва, которое при определении предельного отклонения не учитывается;
при изготовлении другими методами - по h16.
(Измененная редакция, Изм. N 5).
9. (Исключен, Изм. N 3).
10. Предельные отклонения номинального размера :
±1 мм при 2 мм;
±2 мм при 2 мм.
Для литых фланцев допускается выполнение размера :
не менее 2 мм для 32 мм
и не менее 3 мм для 32 мм.
(Измененная редакция, Изм. N 3).
11. Предельные отклонения номинальных размеров:
| +0,5 мм |
| ±4,0 мм |
| Н12 |
|
|
| ±0,75 мм |
| ±0,15 мм |
| 0,4 мм |
| H15 |
|
|
(Измененная редакция, Изм. N 3, 4).
12. Для соединений типа А по ГОСТ 14140-81 позиционный допуск осей отверстий (допуск зависимый) в диаметральном выражении не должен быть более, мм:
1,0 - для отверстий диаметром 11 мм;
2,0 - для отверстий диаметром от 14 до 26 мм;
3,0 - для отверстий диаметром от 30 до 45 мм;
4,0 - для отверстий диаметром 52 и 56 мм;
6,0 - для отверстий диаметром от 62 до 78 мм.
При изготовлении фланцев с резьбовыми отверстиями (тип В по ГОСТ 14140-81) позиционный допуск осей отверстий (допуск зависимый) в диаметральном выражении не должен быть более, мм:
0,5 - для отверстий диаметром 11 мм;
1,0 - для отверстий диаметром от 14 до 26 мм;
1,6 - для отверстий диаметром от 30 до 45 мм;
2,0 - для отверстий диаметром 52 и 56 мм;
3,0 - для отверстий диаметром от 62 до 78 мм.
(Измененная редакция, Изм. N 1).
ПРИЛОЖЕНИЕ (справочное). Информационные данные о соответствии ГОСТ 12815-80 СТ СЭВ 3249-81, СТ СЭВ 3250-81 и СТ СЭВ 3251-81
ПРИЛОЖЕНИЕ
Справочное
Информационные данные о соответствии ГОСТ 12815-80 СТ СЭВ 3249-81, СТ СЭВ 3250-81 и СТ СЭВ 3251-81
Пункт 2 ГОСТ 12815-80 соответствует пунктам: 4 и 5 СТ СЭВ 3249-81; 4, 5 и 6 СТ СЭВ 3250-81; 4 и 5 СТ СЭВ 3251-81.
(Введено дополнительно, Изм. N 2).
Электронный текст документа подготовлен
АО "Кодекс" и сверен по:
официальное издание
Фланцы арматуры, соединительных
частей и трубопроводов: Сб. ГОСТов.
ГОСТ 12815-80-ГОСТ 12822-80. -
М.: ИПК Издательство стандартов, 2003
Разместите заказ
сами сделают вам предложение




