ГОСТы сталей. ГОСТ 16017-79
ГОСТ 16017-79
Группа В42
ГОСУДАРСТВЕННЫЙ СТАНДАРТ СОЮЗА ССР
БОЛТЫ ЗАКЛАДНЫЕ ДЛЯ РЕЛЬСОВЫХ
СКРЕПЛЕНИЙ ЖЕЛЕЗНОДОРОЖНОГО ПУТИ
Конструкция и размеры.
Технические требования
Inserted bolts for rail track fastenings.
Design and dimensions. Technical requirements
ОКП 12 9700
Дата введения 1981-01-01
ВВЕДЕН В ДЕЙСТВИЕ постановлением Государственного комитета СССР по стандартам от 26 апреля 1979 г. N 1547
Постановлением Госстандарта от 03.06.92 N 523 снято ограничение срока действия
ВЗАМЕН ГОСТ 16017-70
ПЕРЕИЗДАНИЕ (октябрь 1996 г.) с Изменениями N 1, 2, 3, 4, утвержденными в мае 1981 г., декабре 1985 г., июне 1990 г., июне 1992 г. (ИУС 8-81, 2-86, 10-90, 8-92)
Настоящий стандарт распространяется на закладные болты нормальной точности (класс точности В) и грубой точности (класс точности С), применяемые для прикрепления металлических подкладок или рельсов к железобетонным подрельсовым основаниям в рельсовых скреплениях.
При поставке закладных болтов для рельсовых скреплений на экспорт следует учитывать требования настоящего стандарта и ГОСТ 16018-79, предъявляемые к этим болтам.
Требования настоящего стандарта являются обязательными.
(Измененная редакция, Изм. N 1, 4).
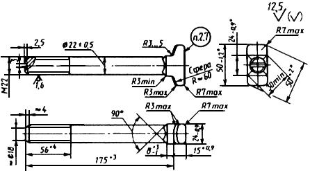
1. КОНСТРУКЦИЯ И РАЗМЕРЫ
1. КОНСТРУКЦИЯ И РАЗМЕРЫ
1.1. Конструкция и размеры закладных болтов должны соответствовать указанным на чертеже.
Исполнение 1 (класс точности В)

Исполнение 2 (класс точности С)

Исполнение 3 (класс точности С)

Вариант головки

Вариант указательной канавки

, где - средний диаметр резьбы.
_____________
* Размеры указаны с учетом высоты швов от разъема матриц, наплывов металла в углах подголовка и заусенцев от обсечки облоя.
Пример условного обозначения закладного болта класса точности В, исполнения 1, диаметром резьбы =22 мм, с крупным шагом резьбы, с полем допуска 8g, длиной 175 мм, класса прочности 3.6, из спокойной стали, с цинковым покрытием толщиной 15 мкм, хроматированным:
Болт M22-8g х 175.36.C.0115 ГОСТ 16017-79
То же, класса точности С, исполнения 2, из автоматной стали без цинкового покрытия:
Болт С2 M22-8g х 175.36.A ГОСТ 16017-79.
(Измененная редакция, Изм. N 2, 3).
1.2. Допускается изготовление болтов длиной от 145 до 225 мм и длиной резьбы в пределах от 40 до 84 мм по согласованию потребителя с изготовителем. При этом длина болта должна назначаться кратной 10 мм, а длина резьбы кратной:
4 мм - при длине резьбы до 60 мм включ.;
6 мм " " " св. 60 мм.
1.3. Вариант изготовления головки и профиль указательной канавки устанавливает предприятие-изготовитель.
(Измененная редакция, Изм. N 3).
2. ТЕХНИЧЕСКИЕ ТРЕБОВАНИЯ
2.1. Закладные болты должны изготовляться в соответствии с требованиями настоящего стандарта и ГОСТ 1759.0-87 по рабочим чертежам, утвержденным в установленном порядке.
2.2. Механические свойства болтов должны соответствовать классу прочности 3.6, 4.8 или 5.8 по ГОСТ 1759.4-87.
2.1, 2.2. (Измененная редакция, Изм. N 3).
2.3. Закладные болты должны иметь цинковое с хроматированием или пассивированием покрытие толщиной 9-18 мкм. Требования к покрытию - по ГОСТ 9.301-86. По согласованию изготовителя с потребителем закладные болты могут изготавливаться без покрытия.
(Измененная редакция, Изм. N 1).
2.4. Резьба - по ГОСТ 24705-81. После* допуска 8 g по ГОСТ 16093-81.
______________
* Текст соответствует оригиналу. - Примечание "КОДЕКС".
2.4а. Не допускается утолщение стержня болта под головкой более 1,0 мм на длине 25 мм.
(Введен дополнительно, Изм. N 2).
2.5. Смещение оси головки и подголовка относительно оси стержня болта не должно быть более 0,9 мм.
2.6. Допускается отклонение от перпендикулярности оси указательной канавки к большой оси головки болта до 5° и смещение оси канавки от диаметрального его положения до 2 мм.
Смещение канавки по меньшей оси не контролируется.
(Измененная редакция, Изм. N 3).
2.7. Маркировать: товарный знак или условное обозначение предприятия-изготовителя и год изготовления (две последние цифры).
Высота знаков маркировки - не менее 8 мм, толщина - не менее 1 мм, выпуклость - не менее 0,5 мм.
2.8. Масса 1000 болтов (справочная):
635 кг - в исполнениях 1 и 3;
591 кг - в исполнении 2.
Примечания:
1. Когда возможно применение болтов как в исполнении 1, так и в исполнении 2 или 3, в конструкторской документации должна указываться масса болтов в исполнении 1.
2. Изменение массы 1000 болтов при изменении их длины на 10 мм не должно быть более:
25,7 кг - для исполнений 1 и 3;
29,8 кг - для исполнения 2.
2.9. Правила приемки - по ГОСТ 17769-83.
2.10. Методы контроля болтов - по ГОСТ 1759.0-87.
Испытания механических свойств болтов должны проводиться по требованию потребителя в соответствии с ГОСТ 1759.4-87.
Измерение твердости и испытание на разрыв на косой шайбе не проводятся.
Допуски размеров, формы и расположение поверхностей и методы их контроля - по ГОСТ 1759.1-82.
Дефекты поверхности и методы контроля - по ГОСТ 1759.2-82.
(Измененная редакция, Изм. N 2, 3).
2.11. Контроль качества цинкового покрытия - по ГОСТ 9.302-88.
2.12. (Исключен, Изм. N 2).
2.13. Упаковка болтов и маркировка тары - по ГОСТ 18160-72.
2.14. Болты должны быть укомплектованы гайками по ГОСТ 16018-79.
Допускается транспортирование болтов и гаек без упаковки, при этом должна быть исключена возможность их смешивания.
2.15. Транспортирование болтов без упаковки на железнодорожных платформах не допускается.
Текст документа сверен по:
официальное издание
Болты и гайки для рельсовых
скреплений железнодорожного пути.
ГОСТ 16016-79-ГОСТ 16018-79: Сб. ГОСТов. -
М.: ИПК Издательство стандартов, 1997
Разместите заказ
сами сделают вам предложение
