ГОСТы сталей. ГОСТ 8568-77
ГОСТ 8568-77
Группа В23
МЕЖГОСУДАРСТВЕННЫЙ СТАНДАРТ
ЛИСТЫ СТАЛЬНЫЕ С РОМБИЧЕСКИМ И ЧЕЧЕВИЧНЫМ РИФЛЕНИЕМ
Технические условия
Corrugated steel rhombic and lentil form sheets. Specifications
МКС 77.140.50
ОКП 09 7000
Дата введения 1978-01-01
ИНФОРМАЦИОННЫЕ ДАННЫЕ
1. РАЗРАБОТАН И ВНЕСЕН Министерством черной металлургии СССР
2. УТВЕРЖДЕН И ВВЕДЕН В ДЕЙСТВИЕ Постановлением Государственного комитета стандартов Совета Министров СССР от 13.04.77 N 926
3. ВЗАМЕН ГОСТ 8568-57
4. ССЫЛОЧНЫЕ НОРМАТИВНО-ТЕХНИЧЕСКИЕ ДОКУМЕНТЫ
Обозначение НТД, на который дана ссылка | Номер пункта |
ГОСТ 380-94 | 1.12; 2.2 |
ГОСТ 7566-94 | 3.3; 5.1 |
ГОСТ 14637-89 | 3.1 |
ГОСТ 19903-74 | 1.9; 1.10; 1.12 |
5. Ограничение срока действия снято по протоколу N 7-95 Межгосударственного совета по стандартизации, метрологии и сертификации (ИУС 11-95)
6. ИЗДАНИЕ (сентябрь 2004 г.) с Изменениями N 1, 2, 3, 4, утвержденными в октябре 1978 г., ноябре 1980 г., июне 1987 г., июне 1989 г. (ИУС 11-78, 1-81, 11-87, 11-89), Поправкой (ИУС 2-2003)
ВНЕСЕНА поправка, опубликованная в ИУС N 12, 2005 год
Поправка внесена изготовителем базы данных
Настоящий стандарт распространяется на стальные горячекатаные с односторонним ромбическим и чечевичным рифлением листы общего назначения.
(Измененная редакция, Изм. N 4).
1. СОРТАМЕНТ
1. СОРТАМЕНТ
1.1а. Листовой прокат по толщине изготовляют:
высокой точности - А,
нормальной точности - В.
(Введен дополнительно, Изм. N 4).
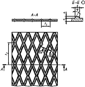
1.1. Форма, размеры, предельные отклонения и масса 1 м листа с ромбическим и чечевичным рифлением должны соответствовать указанным на черт.1, 2 и в таблице.

Черт.1

Черт.2
Тол- | Предельные отклонения по толщине листа при ширине, мм | Ширина | Угол при | Длина риф- | Радиус закру- | Распо- | Масса 1 м | Преде- | |||||||||
| от 600 | cв. 1000 | св. 1500 | св. 2000 | |||||||||||||
нор- | высо- | нор- | высо- | нор- | высо- | нор- | высо- | Но- | Пред. | Но- | Пред. | ||||||
Ромбическое рифление | |||||||||||||||||
2,5 | ±0,25 | ±0,18 | ±0,25 | ±0,18 | - | - | - | - | 5,0 | ±0,15 | 28 | ±2 | - | - | - | 21,0 | ±10 |
3,0 | ±0,25 | ±0,23 | ±0,25 | ±0,23 | - | - | - | - | 5,0 | ±0,15 | 28 | ±2 | - | - | - | 25,1 | ±10 |
4,0 | +0,3 | ±0,30 | +0,3 | ±0,3 | +0,3 | ±0,3 | +0,3 | ±0,3 | 5,0 | ±0,15 | 28 | ±2 | - | - | - | 33,5 | ±8 |
5,0 | +0,3 | ±0,35 | +0,3 | ±0,35 | +0,3 | ±0,35 | +0,3 | ±0,35 | 5,0 | ±0,15 | 28 | ±2 | - | - | - | 41,8 | ±6 |
6,0 | +0,4 | +0,4 | +0,4 | +0,4 | +0,4 | +0,4 | +0,4 | +0,4 | 5,0 | ±0,15 | 28 | ±2 | - | - | - | 50,1 | ±9 |
8,0 | +0,4 | +0,3 | +0,4 | +0,3 | +0,4 | +0,3 | +0,4 | +0,3 -0,8 | 5,0 | ±0,15 | 28 | ±2 | - | - | - | 66,6 | ±5 |
10,0 | +0,5 | +0,4 | +0,6 | +0,4 | +0,6 | +0,5 | +0,6 | +0,5 | 5,0 | ±0,15 | 28 | ±2 | - | - | - | 83,0 | ±3 |
12,0 | +0,6 | +0,5 | +0,7 | +0,6 | +0,7 | +0,6 | +0,7 | +0,6 | 5,0 | ±0,15 | 28 | ±2 | - | - | - | 99,3 | ±3 |
Чечевичное рифление | |||||||||||||||||
2,5 | ±0,25 | ±0,18 | ±0,25 | ±0,18 | - | - | - | - | 3,6 | ±0,15 | 45 | ±1 | 24 | 30 | 45 | 20,1 | ±10 |
3,0 | ±0,25 | ±0,23 | ±0,25 | ±0,23 | - | - | - | - | 4,0 | ±0,15 | 45 | ±1 | 24 | 30 | 45 | 24,2 | ±10 |
4,0 | +0,3 | ±0,3 | +0,3 | ±0,3 | +0,3 | ±0,3 | +0,3 | ±0,3 | 4,0 | ±0,15 | 45 | ±1 | 24 | 30 | 45 | 32,2 | ±8 |
5,0 | +0,3 | ±0,35 | +0,3 | ±0,35 | +0,3 | ±0,35 | +0,3 | ±0,35 | 5,0 | ±0,15 | 45 | ±1 | 24 | 30 | 45 | 40,5 | ±6 |
6,0 | +0,4 | +0,4 | +0,4 | +0,4 | +0,4 | +0,4 | +0,4 | +0,4 | 5,0 | ±0,15 | 45 | ±1 | 24 | 30 | 45 | 48,5 | ±5 |
8,0 | +0,4 | +0,3 | +0,4 | +0,3 | +0,4 | +0,3 | +0,4 | +0,3 | 6,0 | ±0,15 | 45 | ±1 | 24 | 30 | 45 | 64,9 | ±5 |
10,0 | +0,5 | +0,4 | +0,6 | +0,4 | +0,6 | +0,5 | +0,6 | +0,5 | 6,0 | ±0,15 | 45 | ±1 | 24 | 30 | 45 | 80,9 | ±3 |
12,0 | +0,6 | +0,5 | +0,7 | +0,6 | +0,7 | +0,6 | +0,7 | +0,6 | 6,0 | ±0,15 | 45 | ±1 | 24 | 30 | 45 | 96,8 | ±3 |
Примечания:
1. Толщина листов с односторонним ромбическим и чечевичным рифлением определяется по толщине основания листа в миллиметрах.
2. Для листов, прокатанных на станах полистной прокатки, в средней части ширины листа допускается толщина основания на 0,2 мм выше плюсового предельного отклонения.
3. Ширина основания рифлей , угол при вершине рифлей
, диагонали ромба
, угол расположения рифлей на плоскости листа , расстояние между рифлями
, длина рифлей
, радиус закругления рифлей
на готовых листах не контролируются и даны для расчетов при изготовлении инструмента.
4. Масса 1 м листа определена по номинальным размерам листов, высоте рифлей, равной 0,2 толщины листа, малой диагонали ромба, равной 27,5 мм, большей диагонали ромба, равной 65 мм. Плотность стали - 7,85 г/см
.
5. (Исключено, Изм. N 4).
(Измененная редакция, Изм. N 2, 3, 4, Поправка).
1.2. Рифленый прокат изготовляют в листах и рулонах с односторонним ромбическим или чечевичным рифлением.
(Измененная редакция, Изм. N 3).
1.3. Высота рифлей на листах должна быть 0,1-0,3 толщины основания листа, но не менее 0,5 мм. По требованию потребителя листы толщиной основания 5 мм и более должны иметь высоту рифлений не менее 1,0 мм.
(Измененная редакция, Изм. N 2).
1.4. Листы с ромбическим рифлением изготовляют с диагоналями ромба (25-30)х(60-70) мм. Конфигурация рифлений и расположение больших диагоналей ромба вдоль или поперек листа устанавливаются изготовителем.
По требованию потребителя разрешается изготовление листа с другим соотношением диагоналей ромба.
(Измененная редакция, Изм. N 2, 3).
1.5. Листы с чечевичным рифлением изготовляют с расстоянием между рифлями 20, 25 и 30 мм.
1.6. Листы изготовляют шириной от 600 до 2200 мм и длиной от 1400 до 8000 мм с градацией 50 мм.
1.7. По требованию потребителя допускается изготовление листов других размеров.
(Измененная редакция, Изм. N 3).
1.8. Листы по размерам изготовляются:
с указанием размеров по толщине в соответствии с размерами, указанными в таблице, и по ширине и длине в пределах, указанных в п.1.6 - форма I;
с указанием размеров по толщине в пределах, указанных в таблице, без указания размеров по ширине и длине - форма II;
с указанием размеров, кратных по ширине и длине размерам, указанным потребителем в пределах, установленных в п.1.6 - форма III;
с указанием мерных размеров в пределах, указанных в п.1.6 - форма IV.
(Измененная редакция, Изм. N 1).
1.9. Предельные отклонения по длине и ширине листов - по ГОСТ 19903.
По требованию потребителя листы и рулоны изготовляют с предельными отклонениями;
+20 мм - по ширине для рулонного проката свыше 1000 мм с необрезной кромкой;
+15 мм - по длине для листа свыше 2000 до 6000 мм и свыше при толщине 4,0 и 5,0 мм;
+25 мм - при толщине 6,0; 8,0; 10,0 и 12,0 мм.
(Измененная редакция, Изм. N 3, 4).
1.10. Отклонения от плоскостности - по ГОСТ 19903 для нормальной и улучшенной плоскостности.
(Измененная редакция, Изм. N 4).
1.11. (Исключен, Изм. N 1).
1.12. Требования к прокату, изготовляемому в рулонах, а также размеры рулонов по ширине - по ГОСТ 19903.
Примеры условных обозначений:
Лист горячекатаный из стали марки Ст3сп по ГОСТ 380* с односторонним ромбическим рифлением размером 3,0х1000х2000 мм, нормальной точности по толщине, улучшенной плоскостности с катаной кромкой:
________________
* На территории Российской Федерации документ не действует. Действуют: в части требований к сортовому и фасонному литью ГОСТ 535-2005; в части марок и химического состава ГОСТ 380-2005; в части требований к толстолистовому прокату ГОСТ 14637-89, здесь и далее по тексту. - Примечание изготовителя базы данных.
Лист ромб В-К-ПУ-3,0х1000х2000 Ст3сп ГОСТ 8568-77
То же, с чечевичным односторонним рифлением:
Лист чечевица В-К-ПУ-3,0х1000х2000 Ст3сп ГОСТ 8568-77
Рулонный горячекатаный прокат марки Ст3сп по ГОСТ 380 с односторонним ромбическим рифлением размером 3,0х1000 мм, высокой точности, с катаной кромкой:
Рулон ромб А-К-3,0х1000 Ст3сп ГОСТ 8568-77
То же, с чечевичным односторонним рифлением:
Рулон чечевица А-К-3,0х1000 Ст3сп ГОСТ 8568-77
(Измененная редакция, Изм. N 2, 3, 4).
2. ТЕХНИЧЕСКИЕ ТРЕБОВАНИЯ
2.1. Листы и рулоны изготовляют в соответствии с требованиями настоящего стандарта по технологическому регламенту, утвержденному в установленном порядке.
2.2. Листы и рулоны изготовляют из углеродистой стали обыкновенного качества марок Ст0, Ст1, Ст2 и СтЗ (кипящей, спокойной и полуспокойной) с химическим составом по ГОСТ 380.
По согласованию изготовителя с потребителем допускается изготовлять листовой прокат без нормирования содержания хрома, никеля, меди.
2.1, 2.2. (Измененная редакция, Изм. N 4).
2.3. По требованию потребителя допускается изготовление листов из стали других марок.
(Измененная редакция, Изм. N 3).
2.4. Листы, прокатанные на станах полистной прокатки, обрезаются с четырех сторон.
2.5. Листы и рулоны, прокатанные на стане непрерывной прокатки, допускается поставлять с катаными продольными кромками.
Имеющиеся на кромках зазубрины не должны выводить лист за номинальные размеры по ширине.
2.4, 2.5. (Измененная редакция, Изм. N 1).
2.6. На поверхности листов не должно быть прокатных и слиточных плен, раковин-вдавов, раковин от окалины, раскатанных пузырей, трещин и загрязнений. На кромках листов не должно быть расслоений.
2.7. На поверхности листов допускаются рябизна, окалина, ржавчина, отпечатки, отдельные плены, глубина залегания которых не превышает предельных отклонений по толщине.
3. ПРАВИЛА ПРИЕМКИ
3.1. Листы и рулоны принимаются партиями. Партия состоит из листов одного вида рифления. Определение партии - по ГОСТ 14637.
3.2. Для контроля размеров и качества поверхности от партии отбирают два листа или один рулон.
3.3. При получении неудовлетворительных результатов контроля хотя бы по одному из показателей повторный контроль проводят на выборке, отобранной по ГОСТ 7566.
4. МЕТОДЫ ИСПЫТАНИЙ
4.1. Контроль поверхности проводят без применения увеличительных приборов.
4.2. Толщину основания листов и высоту рифлений измеряют на расстоянии не менее 100 мм от углов и 40 мм от кромок.
Размеры в любой измеряемой точке не должны выводить толщину листа за предельные отклонения.
4.3. Высоту рифлей определяют как разность размеров общей толщины листа
и толщины основания листа
.
5. МАРКИРОВКА, УПАКОВКА, ТРАНСПОРТИРОВАНИЕ И ХРАНЕНИЕ
5.1. Маркировка, упаковка, транспортирование и хранение - по ГОСТ 7566.
(Измененная редакция, Изм. N 3).
Электронный текст документа
подготовлен АО "Кодекс" и сверен по:
официальное издание
М.: ИПК Издательство стандартов, 2004
Редакция документа с учетом
изменений и дополнений подготовлена
АО "Кодекс"
Разместите заказ
сами сделают вам предложение
