ГОСТы сталей. ГОСТ 29117-91
ГОСТ 29117-91
Группа В39
МЕЖГОСУДАРСТВЕННЫЙ СТАНДАРТ
СТАЛИ ЛЕГИРОВАННЫЕ И ВЫСОКОЛЕГИРОВАННЫЕ
Методы определения висмута
Alloyed and high-alloyed steels. Methods of bismuth determination
МКС 77.080.20
ОКП 0809
Дата введения 1993-01-01
ИНФОРМАЦИОННЫЕ ДАННЫЕ
1. РАЗРАБОТАН И ВНЕСЕН Министерством металлургии СССР
2. УТВЕРЖДЕН И ВВЕДЕН В ДЕЙСТВИЕ Постановлением Комитета стандартизации и метрологии СССР от 21.10.91 N 1631
3. ВВЕДЕН ВПЕРВЫЕ
4. ССЫЛОЧНЫЕ НОРМАТИВНО-ТЕХНИЧЕСКИЕ ДОКУМЕНТЫ
Обозначение НТД, на который дана ссылка | Номер пункта |
ГОСТ 859-2001 | 2.2 |
ГОСТ 3118-77 | 2.2 |
ГОСТ 3760-79 | 2.2 |
ГОСТ 4139-75 | 2.2 |
ГОСТ 4233-77 | 2.2 |
ГОСТ 4234-77 | 4.2 |
ГОСТ 4328-77 | 2.2 |
ГОСТ 4329-77 | 4.2 |
ГОСТ 4461-77 | 2.2 |
ГОСТ 4520-78 | 4.2 |
ГОСТ 4658-73 | 4.2 |
ГОСТ 5817-77 | 2.2 |
ГОСТ 6613-86 | 2.2 |
ГОСТ 9293-74 | 4.2 |
ГОСТ 10157-79 | 3.2, 4.2 |
ГОСТ 10928-90 | 2.2 |
ГОСТ 11125-84 | 2.2 |
ГОСТ 13610-79 | 2.2 |
ГОСТ 14261-77 | 2.2 |
ГОСТ 20301-74 | 2.2 |
ГОСТ 22867-77 | 4.2 |
ГОСТ 24147-80 | 2.2 |
ГОСТ 28473-90 | Разд.1 |
ТУ 48-6-11-90 | 2.2 |
5. ПЕРЕИЗДАНИЕ. Май 2004 г.
Настоящий стандарт устанавливает фотометрический (при массовых долях от 0,0005% до 0,01%), непламенный атомно-абсорбционный (при массовых долях от 0,0001% до 0,01%), инверсионно-вольтамперометрический (при массовых долях от 0,0001% до 0,005%) и полярографический (при массовых долях от 0,001% до 0,01%) методы определения висмута в легированных и высоколегированных сталях.
1. ОБЩИЕ ТРЕБОВАНИЯ
1. ОБЩИЕ ТРЕБОВАНИЯ
Общие требования к методам анализа - по ГОСТ 28473.
2. ФОТОМЕТРИЧЕСКИЙ МЕТОД
2.1. Сущность метода
Метод основан на образовании окрашенного в розовый цвет комплексного соединения висмута с ксиленоловым оранжевым в азотной кислоте концентрацией 0,1 моль/дм и измерении его оптической плотности в области светопропускания с максимумом поглощения при длине волны 540 нм.
Висмут предварительно отделяют от сопутствующих элементов стали осаждением в виде сульфида тиоацетамидом в аммиачном растворе в присутствии коллектора сульфида меди и винной кислоты в качестве комплексообразующего вещества или методом ионообменной хроматографии.
2.2. Аппаратура, реактивы и растворы
Спектрофотометр или фотоэлектроколориметр со всеми принадлежностями для измерения в видимой области спектра.
рН-метр.
Термометр со шкалой до 150 °С.
Ионообменная колонка диаметром 1,2-1,5 см, высотой 30-40 см, заполненная анионитом АН-31, АВ-17-8 или АВ-17-8чС в -форме с высотой слоя 15 см.
Анионит АН-31 по ГОСТ 20301.
Подготовка анионита к анализу: 200 г анионита заливают не менее чем пятикратным объемом насыщенного раствора хлористого натрия и оставляют для набухания на 24 ч.
Для отделения фракции смолы с размером зерна менее 0,4 мм взвесь смолы в растворе хлористого натрия выливают на сито с сеткой N 063 по ГОСТ 6613 и промывают струей воды, собирая прошедшую сквозь сито фракцию анионита вместе с водой в сосуд вместимостью 2-3 дм. Оставшуюся на сите смолу отбрасывают. Жидкость над фракцией анионита, прошедшей сквозь сито, декантируют, а анионит промывают способом декантации соляной кислотой концентрацией вначале 3 моль/дм
, затем 0,5 моль/дм
до полного удаления Fe (III) (проба с роданистым калием). Анионит промывают 10-кратным количеством воды, затем заливают на 48 ч раствором гидроксида натрия. Далее анионит промывают водой до нейтральной реакции по универсальному индикатору и хранят под водой в стеклянной банке с притертой пробкой. Перед началом работы в нижнюю часть хроматографической колонки помещают тампон из полихлорвиниловой нити или из стеклянной ваты, предварительно прокипяченной в соляной кислоте (1:1) и промытой водой. Ионообменную колонку заполняют анионитом на высоту слоя 15 см и затем водой на
ее высоты. Слой анионита должен быть ровным, без пузырьков воздуха. Для переведения смолы в
-форму через нее пропускают 100-150 см
соляной кислоты концентрацией 3 моль/дм
со скоростью 1 см
/мин.
Анионит АВ-17-8 или АВ-17-8чС по ГОСТ 20301.
Подготовка анионита к анализу: 200 см товарного анионита АВ-17-8 или АВ-17-8чС (выпускаемого в виде взвеси в воде) промывают дважды водой способом декантации. Для отделения фракции смолы с размером зерна менее 0,6 мм взвесь смолы в воде выливают на сито с сеткой N 063 по ГОСТ 6613 и промывают струей воды, собирая прошедшую сквозь сито фракцию анионита вместе с водой в сосуд вместимостью 2-3 дм
. Оставшуюся на сите смолу отбрасывают. Фракцию анионита, прошедшую сквозь сито, подвергают подготовке к анализу, как смолу АН-31.
Кислота соляная по ГОСТ 3118 или ГОСТ 14261, разбавленная 1:1, и растворы концентрацией 3 моль/дм и 0,5 моль/дм
.
Кислота азотная по ГОСТ 4461 или ГОСТ 11125, разбавленная 1:1, 1:15, 1:500, и растворы концентрацией 1 моль/дм и 0,1 моль/дм
.
Смесь соляной и азотной кислот: к 150 см соляной кислоты добавляют 50 см
азотной кислоты, 200 см
воды и перемешивают. Смесь готовят непосредственно перед использованием.
Кислота аскорбиновая, раствор концентрацией 100 г/дм, свежеприготовленный.
Кислота винная по ГОСТ 5817, растворы концентрацией 500 г/дм и 100 г/дм
.
Аммиак водный по ГОСТ 3760 или ГОСТ 24147 и разбавленный 1:200.
Тиоацетамид, раствор концентрацией 20 г/дм.
Ксиленоловый оранжевый, раствор концентрацией 1 г/дм в азотной кислоте концентрацией 0,1 моль/дм
.
Натрий хлористый по ГОСТ 4233, насыщенный раствор.
Натрия гидроксид по ГОСТ 4328, раствор концентрацией 50 г/дм.
Калий роданистый по ГОСТ 4139, раствор концентрацией 50 г/дм.
Медь марки М00б по ГОСТ 859.
Медь азотнокислая, раствор концентрацией 0,01 г/см: 1 г меди растворяют при нагревании в 15-20 см
азотной кислоты (1:1). Раствор кипятят для удаления оксидов азота, охлаждают, разбавляют водой до 100 см
и перемешивают.
Железо карбонильное радиотехническое марки Пс по ГОСТ 13610.
Универсальная индикаторная бумага рН 1-10.
Висмут марок Ви00 по ГОСТ 10928, марок Ви000 и Ви0000 по ТУ 48-6-11*.
________________
* Документ в информационных продуктах не содержится. За информацией о документе Вы можете обратиться в Службу поддержки пользователей. - Примечание изготовителя базы данных.
Стандартные растворы висмута.
Раствор А: 0,1 г висмута растворяют при нагревании в 30 см азотной кислоты, кипятят раствор до удаления оксидов азота, охлаждают, переносят в мерную колбу вместимостью 1 дм
, доливают до метки водой и перемешивают.
1 см стандартного раствора А содержит 0,0001 г висмута.
Раствор Б: 10 см раствора А помещают в мерную колбу вместимостью 100 см
, добавляют 10 см
азотной кислоты, доливают до метки водой и перемешивают.
1 см стандартного раствора Б содержит 0,00001 г висмута.
2.3. Проведение анализа
2.3.1. Приготовление испытуемого раствора
2.3.1.1. Для сталей, содержащих вольфрам, молибден, ниобий
Навеску стали массой 1 г (при массовых долях висмута от 0,0005% до 0,002%) или 0,5 г (при массовых долях висмута от 0,002% до 0,01%) помещают в стакан (или колбу) вместимостью 250-300 см, приливают 15-20 см
соляной кислоты, 5 см
азотной кислоты, накрывают часовым стеклом и растворяют навеску при нагревании.
Раствор выпаривают до объема приблизительно 10 см, добавляют 30 см
воды, 20-30 см
раствора винной кислоты концентрацией 500 г/дм
и нагревают в течение 10 мин. Раствор охлаждают, добавляют 20-25 см
аммиака до рН 8-10 по универсальному индикатору и вновь нагревают в течение 10 мин до растворения выделившихся вольфрамовой и молибденовой кислот. Добавляют 1 см
раствора азотнокислой меди, устанавливают рН 7,5, добавляя соляную кислоту (1:1) или аммиак, используя рН-метр.
Раствор разбавляют водой до 150 см, нагревают до 85 °С - 90 °С, приливают 10 см
раствора тиоацетамида, выдерживают 10 мин при этой же температуре и вновь приливают 10 см
раствора тиоацетамида. Оставляют раствор с осадком на 2 ч при 40 °С - 50 °С.
Затем раствор с осадком охлаждают до комнатной температуры, отфильтровывают осадок сульфидов на два фильтра средней плотности (белая лента), промывают 7-8 раз холодной водой, фильтрат отбрасывают. Осадок на фильтре растворяют в 30-40 см (порциями по 10 см
) горячей смеси соляной и азотной кислот и промывают фильтр 2-3 раза горячей азотной кислотой (1:500), собирая фильтрат и промывные воды в стакан, в котором проводилось осаждение. Фильтр отбрасывают.
2.3.1.2. Для сталей, не содержащих вольфрам, молибден, ниобий
Навеску стали массой 1 г (при массовых долях висмута от 0,0005% до 0,002%) или 0,5 г (при массовых долях висмута от 0,002% до 0,01%) помещают в стакан (или колбу) вместимостью 250-300 см, приливают 15-20 см
соляной кислоты, 5 см
азотной кислоты, накрывают стакан (или колбу) часовым стеклом и растворяют навеску при нагревании. Раствор выпаривают до влажных солей. Соли растворяют в 5-7 см
соляной кислоты и снова выпаривают до влажных солей. Эту операцию повторяют. Соли растворяют в 40 см
соляной кислоты концентрацией 3 моль/дм
, нагревая до начала кипения. Образовавшийся осадок кремниевой кислоты отфильтровывают на два фильтра средней плотности (белая лента) и промывают 3-4 раза горячей соляной кислотой концентрацией 3 моль/дм
, присоединяя промывную жидкость к основному фильтрату. Фильтр с осадком отбрасывают.
Фильтрат пропускают через ионообменную колонку с анионитом, предварительно промытую 50 см соляной кислоты концентрацией 3 моль/дм
со скоростью приблизительно 0,5 см
/мин. После того, как весь испытуемый раствор перенесен в ионообменную колонку, пропускают еще 70-100 см
(порциями по 10-20 см
) соляной кислоты концентрацией 3 моль/дм
для удаления сопутствующих элементов: никеля, хрома, кобальта, марганца, меди, железа. Элюат отбрасывают. Когда последняя порция кислоты достигнет верхнего уровня анионита, десорбируют висмут 300 см
азотной кислоты концентрацией 1 моль/дм
.
2.3.2. Спектрофотометрическая процедура анализа
Испытуемый раствор, приготовленный по п.2.3.1.1 или 2.3.1.2, выпаривают до влажных солей, соли растворяют в 5 смазотной кислоты и выпаривают досуха.
Затем соли растворяют в 3 см азотной кислоты концентрацией 1 моль/дм
при нагревании, стенки стакана ополаскивают 3-5 см
воды, раствор перемешивают и охлаждают. Добавляют 2 см
раствора аскорбиновой кислоты, перемешивают, через 5 мин приливают 1 см
раствора винной кислоты концентрацией 100 г/дм
и 1 см
раствора ксиленолового оранжевого, перемешивая раствор после добавления каждого реактива. Раствор переносят в мерную колбу вместимостью 25 см
, доливают до метки водой и перемешивают.
Через 10 мин измеряют оптическую плотность окрашенного раствора на спектрофотометре при длине волны 540 нм в кювете с толщиной поглощающего свет слоя 1 см или на фотоэлектроколориметре с зеленым светофильтром в кювете с толщиной поглощающего свет слоя 5 см. Раствором сравнения служит раствор контрольного опыта. Массу висмута в испытуемом растворе находят по градуировочному графику.
2.3.3. Построение градуировочного графика
В пять стаканов (или колб) вместимостью 250-300 см помещают навески карбонильного железа 0,5-1 г в соответствии с массой навески анализируемой пробы стали. В четыре стакана (или колбы) приливают последовательно 0,5; 1,0; 3,0; 5,0 см
стандартного раствора Б. Пятый стакан служит для проведения контрольного (холостого) опыта.
Во все стаканы добавляют по 20 см соляной кислоты и 5 см
азотной кислоты. Далее поступают, как указано в п.2.3.1 с учетом способа отделения висмута от основных компонентов и в п.2.3.2.
3. НЕПЛАМЕННЫЙ АТОМНО-АБСОРБЦИОННЫЙ МЕТОД
3.1. Сущность метода
Метод основан на измерении поглощения излучения свободными атомами висмута при длине волны 223,1 или 306,8 нм, образующимися при введении анализируемого раствора в графитовую кювету.
Висмут предварительно отделяют от основных компонентов стали осаждением в виде сульфида тиоацетамидом в аммиачном растворе в присутствии коллектора сульфида меди и винной кислоты в качестве комплексообразующего вещества или методом ионообменной хроматографии.
3.2. Аппаратура, реактивы и растворы
Атомно-абсорбционный спектрофотометр с графитовой кюветой.
Лампа для определения висмута.
Микропипетка вместимостью 20 мкдм.
Аргон высокой чистоты по ГОСТ 10157 или смесь аргона с 5% водорода.
Стандартный раствор В висмута: 10 см раствора Б, приготовленного по п.2.2, помещают в мерную колбу вместимостью 100 см
, добавляют 10 см
азотной кислоты, доливают до метки водой и перемешивают. Раствор готовят непосредственно перед использованием.
1 см стандартного раствора В содержит 0,000001 г висмута.
Остальные реактивы, растворы и аппаратура по п.2.2.
3.3. Проведение анализа
3.3.1. Приготовление испытуемого раствора
Навеску стали массой 0,1-1 г согласно табл.1 помещают в стакан (или колбу) вместимостью 250-300 см, приливают 15-20 см
соляной кислоты, 5 см
азотной кислоты, накрывают стакан (или колбу) часовым стеклом и растворяют навеску при нагревании.
Таблица 1
Массовая доля висмута, % | Масса навески, г | Объем анализируемого раствора, см | ||||
От | 0,0001 | до | 0,0005 | включ. | 1 | 25 |
Св. | 0,0005 | " | 0,001 | " | 0,5 | 25 |
" | 0,001 | " | 0,0025 | " | 0,2 | 25 |
" | 0,0025 | " | 0,01 | " | 0,1 | 50 |
Далее поступают, как указано в п.2.3.1, отделяя висмут от основных компонентов в виде сульфида тиоацетамидом или методом ионообменной хроматографии.
3.3.2. Спектрометрическая процедура анализа
Испытуемый раствор, приготовленный по п.2.3.1.1 или 2.3.1.2, выпаривают до влажных солей. Соли растворяют в 5 см азотной кислоты и снова выпаривают до влажных солей. Затем соли растворяют при нагревании в 10 см
азотной кислоты (1:1), накрывая стакан часовым стеклом, и охлаждают. Раствор переносят в мерную колбу (см. табл.1), доливают водой до метки и перемешивают. Отбирают микропипеткой аликвотную часть раствора, равную 20 мкдм
, вводят в графитовую кювету и фиксируют величину поглощения излучения свободными атомами висмута при длине волны 223,1 или 306,8 нм; для измерения отбирают не менее трех аликвотных частей раствора.
Массу висмута находят по градуировочному графику с учетом поправки контрольного опыта.
3.3.3. Подготовка прибора к измерению
Включение прибора, настройку спектрофотометра на резонансное излучение, регулировку блока управления, блока атомизации проводят согласно инструкции, прилагаемой к прибору.
Условия определения висмута:
Аналитическая линия () - 223,1 или 306,8 нм.
Спектральная ширина щели - 0,2 нм.
Время высушивания при 100 °С - 10 с.
Время разложения при 560 °С - 15 с.
Время атоматизации при 1930 °С - 10 с.
Режим инертного газа "газ-стоп".
3.3.4. Построение градуировочного графика
В пять стаканов (или колб) вместимостью 250-300 см помещают навески карбонильного железа в количестве, соответствующем массе навески стали (см. табл.1). В четыре стакана (или колбы) приливают последовательно 1,0; 2,0; 4,0; 5,0 см
стандартного раствора В висмута. Пятый стакан (или колба) служит для проведения контрольного опыта.
Во все стаканы (или колбы) добавляют по 20 см соляной кислоты и 5 см
азотной кислоты.
Далее поступают, как указано в п.2.3.1 с учетом способа отделения висмута от основных компонентов и в пп.3.3.2, 3.3.3.
Из значения оптической плотности анализируемых растворов вычитают значение оптической плотности контрольного опыта. По найденным величинам оптической плотности и соответствующим им массам висмута строят градуировочный график.
4. ИНВЕРСИОННО-ВОЛЬТАМПЕРОМЕТРИЧЕСКИЙ МЕТОД
4.1. Сущность метода
Метод основан на предварительном концентрировании висмута на стационарном ртутном капельном или ртутно-графитовом электроде при потенциале минус 0,5 В в соляной кислоте концентрацией 1 моль/дм с последующей регистрацией тока анодного растворения висмута при потенциале минус 0,15 В по отношению к хлорсеребряному электроду.
Висмут отделяют от основных компонентов стали осаждением в виде сульфида тиоацетамидом в аммиачном растворе в присутствии коллектора сульфида меди и винной кислоты в качестве комплексообразующего вещества или методом ионообменной хроматографии.
4.2. Аппаратура, реактивы и растворы
Полярограф переменного тока, осциллографический или постоянного тока.
Ячейка с хлорсеребряным электродом сравнения, стационарным ртутным капельным электродом любой конструкции или твердый дисковый электрод (4 мм
) из графитосодержащего материала любого способа изготовления, обеспечивающие требуемую по НТД воспроизводимость аналитического сигнала.
Потенциостат любой модели, работающий в режиме заданного потенциала.
Ртуть марки Р0 по ГОСТ 4658, не содержащая влаги.
Азот газообразный по ГОСТ 9293 или аргон по ГОСТ 10157.
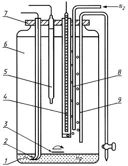
Фон для полярографирования, содержащий 1 моль/дм соляной кислоты. В случае необходимости подвергается дополнительной электрохимической очистке по схеме чертежа от примесей цветных металлов с ртутным катодом в течение 4-5 ч при потенциале минус 1,2 В, который поддерживается постоянным с помощью потенциостата.
Калий хлористый по ГОСТ 4234, насыщенный раствор.
Ртуть (II) азотнокислая окисная по ГОСТ 4520, раствор концентрацией 0,001 г/см в азотной кислоте (1:15).
Квасцы алюмокалиевые по ГОСТ 4329, раствор концентрацией 10 г/дм.
Аммоний азотнокислый по ГОСТ 22867.
Стандартные растворы висмута.
Раствор Б: 10 см раствора А (по п.2.2) помещают в мерную колбу вместимостью 100 см
, добавляют 2 см
соляной кислоты, доливают до метки водой и перемешивают.
1 см стандартного раствора Б содержит 0,00001 г висмута.
Раствор В: 5 см раствора Б помещают в мерную колбу вместимостью 50 см
, добавляют 2 см
соляной кислоты, доливают до метки водой и перемешивают.
1 см стандартного раствора В содержит 0,000001 г висмута.
Раствор В готовят непосредственно перед использованием.
Остальные реактивы и растворы по п.2.2.
4.3. Проведение анализа
4.3.1. Приготовление испытуемого раствора
Навеску стали массой 0,5 г помещают в стакан (или колбу) вместимостью 250-300 см, приливают 15-20 см
соляной кислоты, 5 см
азотной кислоты, накрывают стакан (или колбу) часовым стеклом и растворяют навеску при нагревании.
Далее поступают, как указано в п.2.3.1, отделяя висмут от основных компонентов в виде сульфида тиоацетамидом (п.2.3.1.1) или методом ионообменной хроматографии (п.2.3.1.2).
Испытуемый раствор, полученный по п.2.3.1.1, выпаривают досуха, соли растворяют в 3 см азотной кислоты при нагревании и разбавляют водой приблизительно до 80 см
. К полученному раствору приливают 10 см
раствора алюмокалиевых квасцов, 0,5 г азотнокислого аммония и аммиак до слабого запаха. Содержимое стакана (или колбы) нагревают в течение 1-2 мин, осадок отфильтровывают на фильтр средней плотности (белая лента) и промывают 3-4 раза горячим разбавленным (1:200) аммиаком. Фильтрат отбрасывают. Осадок на фильтре растворяют в 10 см
горячей соляной кислоты (1:1) и промывают фильтр 2-3 раза горячей водой, собирая фильтрат и промывные воды в стакан (или колбу), в которых проводилось осаждение.

1 - рабочий ртутный электрод; 2 - платиновый контакт; 3 - магнитная мешалка; 4 - вспомогательный электрод из спектрального угля; 5 - хлорсеребряный электрод сравнения; 6 - полиэтиленовый сосуд; 7 - крышка; 8 - стеклянная трубка для подвода азота; 9 - сифон для слива электролита
4.3.2. Инверсионно-вольтамперометрическая процедура анализа
Испытуемый раствор, полученный по п.4.3.1 после отделения висмута от основных компонентов, выпаривают досуха. Соли растворяют в 5 см соляной кислоты и снова выпаривают досуха. Затем соли растворяют при нагревании в 4 см
соляной кислоты, накрывая стакан часовым стеклом, и охлаждают. Раствор разбавляют водой и переносят в мерную колбу вместимостью 50 см
, доливают водой до метки и перемешивают.
При работе со стационарным ртутным капельным электродом в полярографическую ячейку заливают 20-25 см фонового электролита, через который предварительно в течение 5 мин продувают азот или аргон, добавляют в соответствии с табл.2 аликвотную часть испытуемого раствора, 0,01-0,02 г аскорбиновой кислоты и перемешивают.
Таблица 2
Массовая доля висмута, % | Объем аликвотной части раствора, см | Масса навески стали, соответствующая аликвотной части раствора, г | ||||
От | 0,0001 | до | 0,0005 | включ. | 5 | 0,05 |
Св. | 0,0005 | " | 0,001 | " | 2 | 0,02 |
" | 0,001 | " | 0,005 | " | 1 | 0,01 |
Устанавливают на полярографе потенциал минус 0,5 В и проводят концентрирование висмута на стационарном ртутном капельном электроде в непрерывно перемешиваемом растворе в течение 2-3 мин. По окончании времени накопления прекращается перемешивание, и раствор успокаивается в течение 15-20 с, после чего снимается анодная поляризационная кривая при линейно изменяющемся потенциале электрода от минус 0,5 до минус 0,05 В, регистрируя пик висмута при потенциале минус 0,15 В. Для каждого измерения получают новую каплю ртути.
При работе с твердыми электродами в режиме ртутно-графитового в полярографическую ячейку заливают 20-25 см фонового электролита, через который предварительно в течение 5 мин продувают азот или аргон, добавляют 3-4 капли раствора азотнокислой ртути (II) (150-200 мкг), добавляют в соответствии с табл.3 аликвотную часть испытуемого раствора, 0,01-0,02 г аскорбиновой кислоты и перемешивают.
Таблица 3
Массовая доля висмута, % | Объем аликвотной части раствора, см | Масса навески стали, соответствующая аликвотной части раствора, г | ||||
От | 0,0001 | до | 0,0005 | включ. | 2 | 0,02 |
Св. | 0,0005 | " | 0,002 | " | 1 | 0,01 |
" | 0,002 | " | 0,005 | " | 0,5 | 0,005 |
Устанавливают на полярографе потенциал минус 0,5 В и проводят концентрирование висмута на ртутно-графитовом электроде в непрерывно перемешиваемом растворе в течение 1-2 мин. По окончании времени накопления прекращается перемешивание, раствор успокаивается в течение 15-20 с, после чего снимается анодная поляризационная кривая при линейно изменяющемся потенциале электрода от минус 0,5 до плюс 0,2 В. При фиксированном значении потенциала плюс 0,2 В электрод очищается электрохимически в перемешиваемом растворе в течение 30 с после каждой регистрации поляризационной кривой. Регистрацию кривых проводят три раза, из них первое измерение в расчетах не учитывается. Максимальный ток ионизации висмута (пик висмута) регистрируется при потенциале минус 0,15 В.
Чувствительность прибора при регистрации вольтамперограмм в обоих случаях выбирают так, чтобы высота регистрируемого пика была не менее 10 мм.
4.3.3. При работе со стационарным ртутным капельным электродом содержание висмута находят по градуировочному графику с учетом контрольного опыта.
Для построения градуировочного графика в пять стаканов (или колб) вместимостью 250-300 см помещают по 0,5 г карбонильного железа и приливают по 20 см
соляной кислоты и 5 см
азотной кислоты. В четыре стакана (или колбы) приливают стандартный раствор В висмута в возрастающих количествах с таким расчетом, чтобы масса висмута в испытуемой пробе стали была приблизительно в середине графика (см. табл.3). Пятый стакан (или колба) служит для проведения контрольного опыта.
Далее поступают, как указано в пп.2.3.1 и 4.3.1 с учетом выбранного способа отделения висмута от основных компонентов и п.4.3.2.
Из значений высоты пика анализируемых растворов вычитают значение высоты пика контрольного опыта. По найденным величинам высоты и соответствующим им массам висмута строят градуировочный график.
При работе с ртутно-графитовым электродом содержание висмута находят методом стандартных добавок.
Аликвотную часть стандартного раствора В висмута добавляют в испытуемый раствор в полярографической ячейке, перемешивают, далее проводят инверсионно-вольтамперометрические измерения (по п.4.3.2) как при определении висмута в испытуемом растворе.
Величину стандартной добавки выбирают так, чтобы высота пика висмута после введения добавки увеличилась в 1,5-2 раза.
5. ПОЛЯРОГРАФИЧЕСКИЙ МЕТОД
5.1. Сущность метода
Метод основан на способности висмута восстанавливаться на ртутном капающем электроде в соляной кислоте концентрацией 1 моль/дм при потенциале минус 0,15 В по отношению к хлорсеребряному электроду.
Висмут отделяют от основных компонентов стали осаждением в виде сульфида тиоацетамидом в аммиачном растворе в присутствии сульфида меди и винной кислоты в качестве комплексообразующего вещества или методом ионообменной хроматографии.
5.2. Аппаратура, реактивы и растворы
Полярограф переменного тока, осциллографический или постоянного тока.
Ячейка с ртутным капельным электродом.
Реактивы и растворы по пп.2.2 и 4.2.
5.3. Проведение анализа
5.3.1. Приготовление испытуемого раствора
Проводят как указано в п.4.3.1.
5.3.2. Полярографическая процедура анализа
Испытуемый раствор, полученный (п.4.3.1) после отделения висмута от основных компонентов, выпаривают досуха. Соли растворяют в 5 см соляной кислоты и снова выпаривают досуха. Затем соли растворяют при нагревании в 4 см
соляной кислоты, накрывая стакан часовым стеклом, и охлаждают. Раствор разбавляют водой и переносят в мерную колбу вместимостью 50 см
, доливают водой до метки и перемешивают.
Раствор после продувания инертным газом заливают в ячейку и полярографируют, регистрируя максимальный ток восстановления висмута в пределах приложенного напряжения от 0,05 до 0,3 В относительно хлорсеребряного электрода или ртутного дна.
Чувствительность прибора при регистрации вольтамперограмм выбирают так, чтобы высота пика была не менее 10 мм.
5.3.3. Построение градуировочного графика
В пять стаканов (или колб) вместимостью 250-300 см помещают по 0,5 г карбонильного железа и приливают по 20 см
соляной кислоты и 5 см
азотной кислоты. В четыре стакана (или колбы) приливают стандартный раствор Б висмута в возрастающих количествах с таким расчетом, чтобы масса висмута в испытуемой пробе стали была приблизительно в середине графика. Пятый стакан (или колба) служит для проведения контрольного опыта.
Далее поступают, как указано в пп.2.3.1 и 4.3.1, с учетом выбранного способа отделения висмута от основных компонентов и в п.5.3.2.
Из значений высоты пика анализируемых растворов вычитают значение высоты пика контрольного опыта. По найденным величинам высоты и соответствующим им массам висмута строят градуировочный график.
6. ОБРАБОТКА РЕЗУЛЬТАТОВ
6.1. Массовую долю висмута () в процентах вычисляют по формулам:
- при расчете по градуировочному графику
,
где - масса висмута, найденная по градуировочному графику, г;
- масса навески стали, г;
- при расчете методом добавок
,
где - высота пика висмута при полярографировании испытуемого раствора, мм;
- высота пика висмута при полярографировании контрольного опыта, мм;
- высота пика висмута после введения в ячейку стандартной добавки, мм;
- объем стандартной добавки, см
;
- концентрация стандартного раствора, г/см
;
- масса навески стали, соответствующая аликвотной части раствора, г.
6.2. Нормы точности и нормативы контроля точности определения массовой доли висмута приведены в табл.4.
Таблица 4
Массовая доля висмута, % | Нормы точности и нормативы контроля точности, % | ||||||||
От | 0,0001 | до | 0,0002 | включ. | 0,00008 | 0,00010 | 0,00008 | 0,00010 | 0,00005 |
Св. | 0,0002 | " | 0,0005 | " | 0,00016 | 0,00020 | 0,00017 | 0,00020 | 0,00010 |
" | 0,0005 | " | 0,001 | " | 0,0004 | 0,0005 | 0,0004 | 0,0005 | 0,0003 |
" | 0,001 | " | 0,002 | " | 0,0008 | 0,0010 | 0,0008 | 0,0010 | 0,0005 |
" | 0,002 | " | 0,005 | " | 0,0016 | 0,0020 | 0,0017 | 0,0020 | 0,0010 |
" | 0,005 | " | 0,01 | " | 0,002 | 0,003 | 0,003 | 0,003 | 0,002 |
Электронный текст документа
подготовлен ЗАО "Кодекс" и сверен по:
официальное издание
М.: ИПК Издательство стандартов, 2004
Разместите заказ
сами сделают вам предложение
