ГОСТы сталей. ГОСТ 12359-99
ГОСТ 12359-99
(ИСО 4945-77)
Группа В39
МЕЖГОСУДАРСТВЕННЫЙ СТАНДАРТ
СТАЛИ УГЛЕРОДИСТЫЕ, ЛЕГИРОВАННЫЕ И ВЫСОКОЛЕГИРОВАННЫЕ
Методы определения азота
Carbon, alloyed and high-alloyed steels.
Methods for determination of nitrogen
МКС 77.040.40*
ОКСТУ 0709
_______________
* В Межгосударственном классификаторе стандартов
код 77.040.40 не приводится. - Примечание "КОДЕКС".
Дата введения 2000-07-01
Предисловие
1 РАЗРАБОТАН Межгосударственным техническим комитетом по стандартизации МТК 145 "Методы контроля металлопродукции"
ВНЕСЕН Госстандартом России
2 ПРИНЯТ Межгосударственным Советом по стандартизации, метрологии и сертификации (протокол N 15-99 от 28 мая 1999 г.)
За принятие проголосовали:
Наименование государства | Наименование национального органа по стандартизации |
Республика Армения | Армгосстандарт |
Республика Беларусь | Госстандарт Беларуси |
Республика Казахстан | Госстандарт Республики Казахстан |
Российская Федерация | Госстандарт России |
Туркменистан | Главная государственная инспекция Туркменистана |
Республика Узбекистан | Узгосстандарт |
Украина | Госстандарт Украины |
3 Приложение А содержит полный аутентичный текст международного стандарта ИСО 4945-77 "Сталь. Определение содержания азота. Спектрофотометрический метод"
4 Постановлением Государственного комитета Российской Федерации по стандартизации и метрологии от 21 октября 1999 г. N 360-ст межгосударственный стандарт ГОСТ 12359-99 (ИСО 4945-77) введен в действие непосредственно в качестве государственного стандарта Российской Федерации с 1 июля 2000 г.
5 ВЗАМЕН ГОСТ 12359-81
1 Область применения
1 Область применения
Настоящий стандарт устанавливает фотометрический (спектрофотометрический) метод определения азота с реактивом Несслера (при массовой доле азота от 0,002 до 0,01%) и титриметрический метод определения азота (при массовой доле азота от 0,005 до 0,50%) в углеродистых, легированных и высоколегированных сталях.
Допускается спектрометрический метод определения азота с нитропруссидом натрия по международному стандарту ИСО 4945 (приложение А).
2 Нормативные ссылки
В настоящем стандарте использованы ссылки на следующие стандарты:
ГОСТ 83-79 Натрий углекислый. Технические условия
ГОСТ 3640-94 Цинк. Технические условия
ГОСТ 3769-78 Аммоний сернокислый. Технические условия
ГОСТ 4145-74 Калий сернокислый. Технические условия
ГОСТ 4165-78 Медь (II) сернокислая 5-водная. Технические условия
ГОСТ 4328-77 Натрия гидроокись. Технические условия
ГОСТ 4463-76 Натрий фтористый. Технические условия
ГОСТ 8677-76 Кальция оксид. Технические условия
ГОСТ 9285-78 Калия гидрат окиси технический. Технические условия
ГОСТ 14261-77 Кислота соляная особой чистоты. Технические условия
ГОСТ 14262-78 Кислота серная особой чистоты. Технические условия
ГОСТ 18300-87 Спирт этиловый ректификованный технический. Технические условия
ГОСТ 20490-75 Калий марганцовокислый. Технические условия
ГОСТ 28473-90 Чугун, сталь, ферросплавы, хром, марганец металлические. Общие требования к методам анализа
3 Общие требования
Общие требования к методам анализа - по ГОСТ 28473.
4 Фотометрический (спектрофотометрический) метод определения азота
4.1 Сущность метода
Метод основан на растворении стали в неокисляющих кислотах, разложении образующихся аммонийных солей гидроокисью натрия, дистилляции аммиака с паром или воздушной аспирацией из щелочного анализируемого раствора и определении его в конденсате с реактивом Несслера.
4.2 Аппаратура, реактивы и растворы
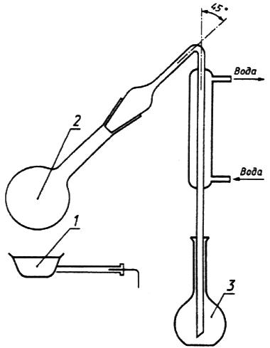
Установка для дистилляции аммиака с паром (рисунок 1) состоит из дистилляционной колбы 1, воронок 2 и 3, холодильника 4, колбы-ловушки 5, генератора пара 7, нагревателя генератора пара 8, лабораторного автотрансформатора 9, бутыли с водой 6 и колбы-приемника 10.
Рисунок 1 - Схема установки для дистилляции аммиака с паром

Рисунок 1 - Схема установки для дистилляции аммиака с паром
Установки для дистилляции аммиака с воздушной аспирацией (рисунки 2 и 3) состоят из воздухоочистительных систем 1 и 2 (1 - промывной сосуд, заполненный серной кислотой плотностью 1,84 г/см, 2 - промывной сосуд, заполненный водой), электроплитки 7, дистилляционной колбы из термостойкого стекла вместимостью 500 см
, снабженной воронкой с краном, 6, холодильника 3, сосуда для улавливания азота (в виде аммиака) 5, микробюретки 4 (класса 1).
Рисунок 2 - Схема установки для дистилляции аммиака с воздушной аспирацией
Рисунок 2 - Схема установки для дистилляции аммиака с воздушной аспирацией
Рисунок 3 - Схема установки для дистилляции аммиака с воздушной аспирацией
Рисунок 3 - Схема установки для дистилляции аммиака с воздушной аспирацией
Колба для растворения навески (рисунок 4).
Рисунок 4 - Колба для растворения навески

Рисунок 4 - Колба для растворения навески
Вода дистиллированная, свободная от ионов аммония, для приготовления водных растворов и проведения анализа. Воду проверяют на присутствие ионов аммония реактивом Несслера: к 200 см воды приливают 2,5 см
реактива Несслера, перемешивают и оставляют стоять 15 мин. Если вода не окрасилась в желтоватый цвет (оптическая плотность раствора, измеренная на спектрофотометре в кювете толщиной рабочего слоя 1 см при длине волны 400 нм, не более 0,05), она может быть использована для определения азота. Если появилось желтое окрашивание, воду очищают на ионообменных смолах - сильнокислотном катионите и сильноосновном анионите со слоем смолы высотой 0,2 м, диаметром 0,025 м, пропуская через колонки со скоростью от 7 до 10 см
/мин.
Для очистки воды с помощью марганцовокислого калия 500 см воды помещают в колбу со шлифом, добавляют марганцовокислый калий до слабого окрашивания и кипятят 30 мин. Затем добавляют 100 г оксида кальция и кипятят в течение 2 ч. Соединяют колбу с холодильником и собирают дистиллят в бутыль с пришлифованной пробкой.
Воду можно очищать также любым другим методом, обеспечивающим оптическую плотность окрашенного раствора до значения 0,05.
Медь сернокислая по ГОСТ 4165.
Цинк металлический по ГОСТ 3640.
Кислота соляная по ГОСТ 14261, разбавленная 1:1.
Кислота серная по ГОСТ 14262, разбавленная 1:4.
Кислота серная с молярной концентрацией эквивалента 0,01 моль/дм, готовят из фиксанала.
Калий сернокислый по ГОСТ 4145, прокаленный при температуре 900 °С.
Гидроксид натрия по ГОСТ 4328, раствор массовой концентрации 40 г/100 см: 200 г гидроксида натрия растворяют в 600 см
воды и выпаривают при кипячении до 500 см
с добавлением нескольких гранул цинка.
Гидроксид калия по ГОСТ 9285, растворы массовой концентрации 60 г/100 см и 15 г/100 см
.
Натрий фтористый по ГОСТ 4463.
Калий марганцовокислый по ГОСТ 20490.
Кальций оксид по ГОСТ 8677.
Аммоний сернокислый по ГОСТ 3769, стандартный раствор.
Сернокислый аммоний высушивают при (100±5) °С. Навеску сернокислого аммония 4,7170 г помещают в стакан емкостью 200-400 см, растворяют в воде, переносят в колбу емкостью 1·10
см
, доливают до метки водой и перемешивают. 10 см
раствора помещают в другую мерную колбу емкостью 1·10 см
, доливают водой до метки и перемешивают.
1 см полученного раствора сернокислого аммония содержит 0,0000
1 г азота.
4.3 Подготовка к анализу
4.3.1 Установка с водяным паром
Собирают установку (рисунок 1) и промывают ее перед перенесением раствора пробы в дистилляционную колбу: через воронку 2 приливают в дистилляционную колбу 80 см раствора гидроксида натрия, через воронку 3-100 см
воды и пропускают пар в течение 10-15 мин. Затем удаляют раствор из колбы-приемника и из дистилляционной колбы, приливая в генератор пара 150-170 см
воды. При этом щелочной раствор переносят из дистилляционной колбы в колбу-ловушку и удаляют.
4.3.2 Установка с воздушной аспирацией
Собирают установку (рисунки 2 и 3) и проверяют герметичность всей системы с помощью аспиратора просасыванием воздуха равномерно со скоростью 3-4 пузырька в секунду.
Для очистки системы в дистилляционную колбу приливают 80 см раствора гидроксида натрия, 100 см
воды и кипятят раствор в течение 5-10 мин.
После очистки всей системы выключают электроплитку, водоструйный насос, удаляют раствор из дистилляционной колбы и из сосуда для улавливания азота.
4.4 Проведение анализа
4.4.1 Определение азота на установке с водяным паром
4.4.1.1 Определение азота в сталях с массовой долей кремния до 0,5%
Навеску массой 2 г помещают в колбу (рисунок 4). Для ее растворения приливают 50 см раствора серной кислоты (1:4) и закрывают ее пришлифованной пробкой с гидравлическим затвором, в резервуар которого предварительно приливают 2-3 см
раствора серной кислоты (1:4).
Навеску растворяют при температуре не выше (85±5) °С до полного прекращения выделения водорода. Колбу с раствором охлаждают, раствор из резервуара гидравлического затвора присоединяют к основному раствору и обмывают затвор 2-3 раза водой. Раствор выпаривают до появления паров серной кислоты и охлаждают. К раствору добавляют 5 г сернокислого калия, 1 г сернокислой меди, приливают 20 см серной кислоты и нагревают содержимое колбы до появления густых паров серной кислоты (температура раствора - не менее 340 °С).
При отсутствии в стали нитридов хрома допускается растворение навески в серной кислоте (1:4) без добавления концентрированной серной кислоты, сернокислого калия, сернокислой меди и нагревания до появления паров серной кислоты.
Для труднорастворимых сталей допускается применение других кислот, обеспечивающих полноту растворения навески.
4.4.1.2 Определение азота в сталях с массовой долей кремния свыше 0,5%
Навеску растворяют при умеренном нагревании в 50 см раствора соляной кислоты (1:1) до полного прекращения выделения пузырьков водорода. После растворения навески раствор (2-3 см
соляной кислоты 1:1) из резервуара гидравлического затвора присоединяют к основному раствору и обмывают затвор 2-3 раза водой. К раствору прибавляют при перемешивании маленькими порциями 1-1,5 г фтористого натрия, после чего колбу вновь закрывают пришлифованной пробкой с гидравлическим затвором и продолжают нагревание. Сплавление с сернокислым калием и медью проводят по вышеуказанной методике.
Допускается для растворения навески вместо фтористого натрия применение фтористоводородной кислоты.
В мерную колбу-приемник (рисунок 1) вместимостью 250 см приливают 30 см
раствора серной кислоты с молярной концентрацией эквивалента 0,01 моль/дм
, в дистилляционную колбу через воронку 2 приливают 80 см
гидроксида натрия (допускается применение раствора гидроксида калия), через воронку 3 - раствор пробы, обмывая колбу для разложения навески и воронку небольшими порциями воды, не давая ей стекать до конца. Увеличивают нагрев генератора пара и проводят дистилляцию до тех пор, пока объем дистиллята не достигнет 150 см
.
В мерную колбу с конденсатором при перемешивании приливают 4 см реактива Несслера. Содержимое колбы разбавляют водой до метки и перемешиваю
т.
4.4.2 Определение азота на установке с воздушной аспирацией
Растворение пробы проводят, как указано в 4.4.1.
В сосуд для улавливания азота (рисунки 2 и 3) приливают 30 см раствора серной кислоты с молярной концентрацией эквивалента 0,01 моль/дм
, в дистилляционную колбу через воронку приливают 80 см
раствора гидроксида натрия (допускается применение раствора гидроксида калия), через воронку с краном - раствор пробы, обмывая колбу для разложения навески и стенки воронки небольшими порциями воды, не давая ей стекать до конца. Закрывают кран воронки, включают водоструйный насос и электроплитку и нагревают раствор в течение 40 мин. Дистиллят сливают через нижний край сосуда для улавливания азота в мерную колбу вместимостью 250 см
, охлаждают, медленно при перемешивании приливают 4 см
реактива Несслера. Содержимое колбы разбавляют водой до метки и перемешивают.
Через 20 мин измеряют оптическую плотность раствора в интервале длин волн 395-405 нм, применяя в качестве раствора сравнения воду.
В тех же условиях проводят контрольный опыт на определение массовой доли азота в реактивах.
Определение азота проводят в помещении при отсутствии аммиака, аммонийных солей и азотной кислоты.
4.4.3 Построение градуировочного графика
В пять колб помещают 4,0; 8,0; 12,0; 16,0; 20,0 см стандартного раствора сернокислого аммония, что соответствует 0,002; 0,004; 0,006; 0,008; 0,010% азота при массе навески 2 г и проводят через все стадии анализа, как указано в 4.3.1 и 4.3.2. По найденным значениям оптической плотности (с учетом поправки контрольного опыта) и соответствующим им значениям концентрации азота строят градуировочный график.
4.5 Обработка результатов
4.5.1 Массовую долю азота с учетом поправки контрольного опыта определяют по градуировочному графику.
4.5.2 Нормы точности и нормативы контроля точности определения массовой доли азота приведены в таблице 1.
Таблица 1
Допускаемые расхождения, % | |||||
Массовая доля азота, % | Погрешность результатов анализа, % | двух средних результатов анализа, выполненных в различных условиях | двух паралле- льных опреде- лений | трех паралле- льных опреде- лений | результатов анализа стандартного образца и аттестованного значения |
От 0,002 до 0,005 включ. |
|
|
|
|
|
" 0,005 " 0,01 " | 0,0015 | 0,0019 | 0,0016 | 0,0020 | 0,0010 |
" 0,01 " 0,02 " | 0,002 | 0,003 | 0,002 | 0,003 | 0,001 |
" 0,02 " 0,05 " | 0,004 | 0,005 | 0,004 | 0,005 | 0,002 |
" 0,05 " 0,1 " | 0,005 | 0,006 | 0,005 | 0,006 | 0,003 |
" 0,1 " 0,2 " | 0,007 | 0,009 | 0,007 | 0,009 | 0,004 |
" 0,2 " 0,5 " | 0,011 | 0,014 | 0,011 | 0,014 | 0,007 |
5 Титриметрический метод определения азота
5.1 Сущность метода
Метод основан на растворении стали в неокисляющих кислотах и разложении образующихся аммонийных солей гидроксидом натрия.
Поглощение выделяющегося аммиака при проведении анализа на установке с воздушной аспирацией проводят раствором серной кислоты с молярной концентрацией эквивалента 0,01 моль/дм, определение аммиака - обратным титрованием избытка серной кислоты раствором гидроксида натрия с молярной концентрацией эквивалента 0,01 моль/дм
.
Поглощение аммиака при воздушной аспирации проводят также раствором индикатора Таширо и титрованием его кислотой.
5.2 Аппаратура, реактивы и растворы
Установка для дистилляции аммиака с паром (рисунок 1).
Установки для дистилляции аммиака с воздушной аспирацией (рисунки 2 и 3).
Колба для растворения навески (рисунок 4).
Индикатор Таширо: 0,03 г метилового красного и 0,01 г метиленового синего растворяют в 100 см этилового спирта. В щелочной среде индикатор имеет зеленый цвет, в кислой - фиолетово-красный.
Кислота серная по ГОСТ 14262, разбавленная 1:4.
Кислота серная с молярной концентрацией эквивалента 0,01 моль/дм, готовят из фиксанала.
Для установки коэффициента пересчета приготовленного раствора серной кислоты с молярной концентрацией эквивалента 0,01 моль/дм растворяют 0,02 г углекислого натрия в 30-40 см
дистиллированной воды (обычной воды). К раствору прибавляют 1-2 капли метилового оранжевого и титруют до перехода желтой окраски раствора в оранжевую. Для удаления образовавшейся угольной кислоты раствор кипятят 2 мин, охлаждают и титруют до перехода желтой окраски в оранжевую.
Коэффициент пересчета раствора серной кислоты с молярной концентрацией эквивалента 0,01 моль/дм
рассчитывают по формуле
(1)
где - масса навески, г;
- объем раствора серной кислоты с молярной концентрацией эквивалента 0,01 моль/дм
, израсходованной на титрование, см
;
0,00053 - количество углекислого натрия, соответствующее 1 см раствора соляной кислоты с молярной концентрацией эквивалента 0,01 моль/дм
.
Натрий углекислый по ГОСТ 83, высушенный до постоянной массы при 270-300 °С.
Гидроксид натрия по ГОСТ 4328, раствор с молярной концентрацией эквивалента 0,01 моль/дм.
Коэффициент нормальности определяют титрованием раствора гидроксида натрия с молярной концентрацией эквивалента 0,01 моль/дм раствором серной кислоты такой же концентрации.
Вода дистиллированная, свободная от ионов аммония, для приготовления водных растворов и проведения анализа. Воду очищают и проверяют на присутствие в ней ионов аммония реактивом Несслера, как указано в 4.2.
Кислота соляная по ГОСТ 14261, разбавленная 1:1.
Натрий фтористый по ГОСТ 4463.
Гидроксид натрия по ГОСТ 4328, раствор массовой концентрации 40 г/100 см.
200 г гидроксида натрия растворяют в 600 см воды и выпаривают при кипячении до 500 см
с добавлением нескольких гранул цинка.
Метиловый красный.
Метиловый оранжевый.
Метиленовый синий.
Спирт этиловый ректификованный по ГОСТ 18300.
Калий сернокислый по ГОСТ 4145, прокаленный при 900 °С.
Гидроксид калия по ГОСТ 9285, раствор массовой концентрации 60 г/100 см.
Медь сернокислая по ГОСТ 4165.
Цинк металлический по ГОСТ
3640.
5.3 Подготовка к анализу
Собирают установку (рисунок 1) и промывают ее перед перенесением раствора пробы в дистилляционную колбу: через воронку 2 приливают в дистилляционную колбу 80 см раствора гидроксида натрия, через воронку 3 - 100 см
воды и пропускают пар в течение 10-15 мин.
Затем удаляют раствор из колбы-приемника и из дистилляционной колбы, приливая в генератор пара 150-170 см воды. При этом щелочной раствор переносят из дистилляционной колбы в колбу-ловушку и удаляют.
5.3.1 Установка с воздушной аспирацией
Собирают установки (рисунки 2 и 3), проверяют герметичность всей системы с помощью аспиратора просасыванием воздуха равномерно со скоростью 3-4 пузырька в секунду.
Перед перенесением анализируемого раствора в дистилляционную колбу установку промывают: через воронку в дистилляционную колбу приливают 80 см раствора гидроксида натрия, 100 см
воды и кипятят раствор в течение 5-10 мин.
После очистки всей системы включают электроплитку, водоструйный насос, удаляют раствор из дистилляционной колбы и из сосуда для улавливания азота.
5.4 Проведение анализа
5.4.1 Определение азота на установке с водяным паром
Навеску пробы 2 г при массовой доле азота от 0,005 до 0,05% или 0,5 г - при массовой доле азота свыше 0,05% помещают в колбу для растворения. При определении содержания азота в сталях с массовой долей кремния до 0,5% навеску пробы помещают в колбу, приливают 50 см раствора серной кислоты (1:4) и закрывают ее пришлифованной пробкой с гидравлическим затвором, в резервуар которого предварительно приливают 2-3 см
раствора серной кислоты (1:4).
Навеску растворяют при температуре (85±5) °С до полного прекращения выделения пузырьков водорода. Колбу с раствором охлаждают, раствор из резервуара гидравлического затвора присоединяют к основному раствору и обмывают затвор 2-3 раза водой. Раствор в колбе выпаривают до появления паров серной кислоты и охлаждают. К раствору добавляют 5 г сернокислого калия, 1 г сернокислой меди, приливают 20 см серной кислоты и нагревают содержимое колбы до появления паров серной кислоты (температура раствора - не менее 340 °С).
При отсутствии в стали нитридов хрома допускается растворение навески в серной кислоте (1:4) без добавления концентрированной серной кислоты, сернокислого калия, сернокислой меди и нагревания до паров серной кислоты.
Для труднорастворимых сталей допускается применение других кислот, обеспечивающих полноту растворения навески.
При определении содержания азота в сталях, содержащих свыше 0,5% кремния, навеску растворяют при умеренном нагревании в 50 см раствора соляной кислоты (1:1) до полного прекращения выделения пузырьков водорода. После растворения навески раствор из резервуара гидравлического затвора присоединяют к основному раствору и обмывают затвор 2-3 раза водой.
К раствору прибавляют при перемешивании маленькими порциями 1-1,5 г фтористого натрия, после чего колбу вновь закрывают пришлифованной пробкой с гидравлическим затвором и продолжают нагревание. Сплавление с сернокислым калием и медью проводят по вышеуказанной методике.
В дистилляционную колбу промытой установки через воронку 2 приливают 80 см раствора гидроксида натрия массовой концентрации 40 г/100 см
(допускается применение гидроксида калия), через воронку 3 - раствор пробы, обмывая колбу для разложения навески и воронку небольшими порциями воды, не давая ей стекать до конца. Увеличивают нагрев генератора пара и проводят дистилляцию до тех пор, пока объем дистиллята не достигнет 150 см
. Аммиак улавливается колбой-приемником, наполненной 25 см
раствора серной кислоты с молярной концентрацией эквивалента 0,01 моль/дм
и 25 см
дистиллированной воды. По окончании дистилляции к раствору в приемнике добавляют 1 см
индикатора Таширо, оттитровывают избыток серной кислоты гидроксидом натрия с молярной концентрацией эквивалента 0,01 моль/дм
до устойчивой зеленой окраски индикатора. В тех же условиях проводят контрольный опыт на содержание азота в реак
тивах.
5.4.2 Определение азота на установке с воздушной аспирацией
Растворение пробы проводят, как указано в 5.4.1.
В сосуд для улавливания азота в случае прямого титрования приливают 25 см раствора индикатора Таширо, в случае обратного титрования - 25 см
раствора серной кислоты с молярной концентрацией эквивалента 0,01 моль/дм
, 25 см
дистиллированной воды и 1 см
индикатора Таширо.
Далее в обоих случаях в дистилляционную колбу через воронку с краном приливают 80 см гидроксида натрия массовой концентрации раствора 40 г/см
(допускается применение гидроксида калия) и раствор пробы, обмывая колбу для разложения навески и воронку небольшими порциями воды, не давая ей стекать до конца. Закрывают кран воронки, включают водоструйный насос, электроплитку и нагревают раствор в течение 40 мин.
При прямом титровании по мере поступления аммиака из дистилляционной колбы в сосуд для улавливания азота окраска индикатора Таширо переходит из фиолетово-красной в зеленую. По окончании дистилляции жидкость в сосуде оттитровывают раствором серной кислоты с молярной концентрацией эквивалента 0,01 моль/дм до устойчивой в течение 5 мин фиолетово-красной окраски.
В случае обратного титрования по окончании дистилляции оттитровывают избыток серной кислоты раствором гидроксида натрия с молярной концентрацией эквивалента 0,01 моль/дм до устойчивой окраски индикатора. В тех же условиях проводят контрольный опыт на определение содержания азота в реактивах.
При определении конечной точки титрования возможно применение инструментальных метод
ов.
5.5 Обработка результатов
5.5.1 Массовую долю азота , %, в случае обратного титрования вычисляют по формуле
(2)
где - объем раствора серной кислоты с молярной концентрацией эквивалента 0,01 моль/дм
, применяемой для улавливания аммиака исследуемой пробы, см
;
- коэффициент пересчета приготовленного раствора серной кислоты с молярной концентрацией эквивалента 0,01 моль/дм
;
- объем раствора гидроксида натрия с молярной концентрацией эквивалента 0,01 моль/дм
, израсходованного на титрование избытка серной кислоты исследуемой пробы, см
;
- коэффициент нормальности раствора гидроксида натрия с молярной концентрацией эквивалента 0,01 моль/дм
;
- объем раствора серной кислоты с молярной концентрацией эквивалента 0,01 моль/дм
, применяемой для улавливания аммиака контрольного опыта, см
;
- объем раствора гидроксида натрия с молярной концентрацией эквивалента 0,01 моль/дм
, израсходованного на титрование избытка серной кислоты контрольного опыта, см
;
0,00014 - количество азота, соответствующее 1 см раствора серной кислоты с молярной концентрацией эквивалента 0,01 моль/дм
, г;
- масса навески, г.
Массовую долю азота , %, в случае прямого титрования вычисляют по формуле
(3)
где - объем раствора серной кислоты с молярной концентрацией эквивалента 0,01 моль/дм
, израсходованной на титрование аммиака, см
;
- объем раствора серной кислоты с молярной концентрацией эквивалента 0,01 моль/дм
, израсходованной на титрование аммиака контрольного опыта, см
;
- коэффициент пересчета приготовленного раствора серной кислоты с молярной концентрацией эквивалента 0,01 моль/дм
;
0,00014 - количество азота, соответствующее 1 см раствора серной кислоты с молярной концентрацией эквивалента 0,01 моль/дм
, г;
- масса навески,
г.
5.5.2 Нормы точности и нормативы контроля точности определения массовой доли азота не должны превышать значений, указанных в таблице 1.
ПРИЛОЖЕНИЕ А (обязательное). Сталь. Определение содержания азота. Спектрофотометрический метод ИСО 4945-77
ПРИЛОЖЕНИЕ А
(обязательное)
А.1 Область применения
Настоящий стандарт устанавливает спектрофотометрический метод определения азота в нелегированных и низколегированных сталях при его массовой доле от 0,002 до 0,050% при массовой доле кремния менее 0,6%.
А.2 Нормативные ссылки
В настоящем стандарте использована ссылка на следующий стандарт:
ГОСТ 7565-81 Чугун, сталь и сплавы. Методы отбора проб для химического анализа
А.3 Сущность метода
Метод основан на растворении стали в неокисляющих кислотах, разложении образующихся аммонийных солей гидроксидом натрия, дистилляции аммиака с паром или воздушной аспирацией из щелочного раствора и накоплении его в кислой среде. Образующееся комплексное соединение, окрашенное в синий цвет, измеряют спектрофотометрическим методом при длине волны 640 нм.
А.4 Реактивы
А.4.1 Дистиллированная или деионизированная вода, не содержащая азотных соединений, очищенная при вторичном пропускании через ионообменные смолы.
А.4.2 Калий сернокислый, безводный (
).
А.4.3 Кислота серная, = 1,84 г/см
, 96%-ный раствор (по массе).
А.4.4 Кислота серная, = 1,21 г/см
, 29%-ный раствор (по массе).
200 см серной кислоты (А.4.3) добавляют небольшими порциями во время охлаждения к 700 см
воды (А.4.1). Доводят объем водой до 1000 см
и перемешивают.
А.4.5 Гидроксид натрия, приблизительно 12 н. раствор.
480 г гидроксида натрия растворяют в 700 см воды, нагревают и кипятят 10 мин. Охлаждают, доводят объем водой до 1000 см
и перемешивают. Хранят в пластиковом контейнере.
А.4.6 Кислота серная, 1 н. раствор.
30 см серной кислоты (А.4.3) добавляют к 700 см
воды, после охлаждения доводят объем водой до 1000 см
и перемешивают.
А.4.7 Кислота серная, 0,04 н. раствор.
40 см раствора серной кислоты (А.4.6) разбавляют водой до объема 1000 см
и перемешивают.
А.4.8 Гидроксид натрия, 0,2 н. раствор.
30 см раствора гидроксида натрия, содержащего 250 г/дм
, разбавляют водой, доводят объем водой до 1000 см
и перемешивают.
А.4.9 Натрий фенолят: 5 г фенола добавляют при перемешивании и охлаждении к смеси из 10 см 250 г/дм
раствора гидроксида натрия и 80 см
воды. Доводят объем водой до 100 см
и перемешивают.
Готовят раствор во время применения.
А.4.10 Натрий фосфорнокислый 12-водный молярной концентрации 0,1 моль/дм.
36 г 12-водного вторичного фосфорнокислого натрия (
) растворяют в воде, доводят объем водой до 1000 см и перемешивают.
А.4.11 Натрий пентацианонитрозил феррат (II) вторичный двуводный (нитропруссид натрия),
, раствор массовой концентрации 0,25 г/дм.
10 г нитропруссида натрия растворяют в воде, доводят объем водой до 1000 см и перемешивают.
Перед определением 25 см этого раствора разбавляют водой до 1000 см
и перемешивают.
А.4.12 Натрия гипохлорид, 0,1 н. раствор (0,3% по массе).
Хранят этот раствор при температуре не выше 10 °С.
А.4.13 Азот, раствор массовой концентрации 0,1 г/дм.
0,4716 г сухого сульфата аммония взвешивают с точностью до 0,1 мг, растворяют в воде, переносят раствор в колбу вместимостью 1000 см, доводят до метки водой и перемешивают. 1 см
этого раствора соответствует 100 мг азота.
А.4.14 Азот, раствор массовой концентрации 0,002 г/дм.
20 см раствора сульфата аммония переносят в колбу вместимостью 1000 см
, доводят водой до метки и перемешивают. 1 см
этого раствора содержит 0,2 мкг азота. Готовят раствор во время применения.
А.4.15 Метиловый красный, раствор массовой концентрации 0,1 г/дм.
0,1 г метилового красного растворяют в воде, переносят раствор в колбу вместимостью 100 см, доводят объем водой до метки и перемешивают.
А.5 Аппаратура
А.5.1 Схема прибора для дистилляции без водяного пара приведена на рисунке А.1.
Рисунок А.1 - Схема установки прибора для дистилляции без водяного пара

1 - нагреватель мощностью 300 Вт; 2 - круглодонная колба вместимостью 500 см; 3 - мерная колба с
пришлифованным горлом вместимостью 100 см
Рисунок А.1 - Схема установки прибора для дистилляции без водяного пара
А.5.2 Схема прибора для дистилляции с водяным паром приведена на рисунке А.2.
Рисунок А.2 - Схема установки прибора для дистилляции с водяным паром

1 - парогенератор с нагревательным устройством; 2 - колба вместимостью 1000 см; 3 - воронка; 4 - колба вместимостью
500 см для удаления дистиллята; 5 - сливная емкость; 6 - колба вместимостью 1000 см
; 7 - сборник (сосуд) для
улавливания азота
Рисунок А.2 - Схема установки прибора для дистилляции с водяным паром
А.5.3 Спектрофотометр
А.6 Отбор и подготовка проб
Отбор и подготовка проб - в соответствии с ГОСТ 7565.
А.7 Проведение анализа
А.7.1 Навеска испытуемой пробы
Навески испытуемой пробы массой 1 и 2 г взвешивают с точностью до 0,001 г.
А.7.2 Подготовка испытуемого раствора
Навески помещают в колбу вместимостью 150 см, добавляют 30 см
раствора серной кислоты (А.4.4), закрывают часовым стеклом и растворяют при температуре (85±5) °С до полного выделения водорода.
После прекращения выделения водорода удаляют часовое стекло и нагревают колбу до появления белых паров серной кислоты. Затем в нее добавляют 5 см серной кислоты (А.4.3) и 1 г сернокислого калия (А.4.2).
Смесь нагревают в течение 2 ч при температуре выше 300 °С таким образом, чтобы она оставалась жидкой.
Охлаждают, добавляют 10 см воды и нагревают до растворения большей части сульфатов.
А.7.3 Дистилляция
Дистилляцию проводят с водяным паром или без него.
А.7.3.1 Дистилляция без водяного пара
Схема установки приведена на рисунке А.1.
Для сбора дистиллята 5 см раствора серной кислоты (А.4.6) переносят в колбу с притертым горлышком вместимостью 100 см
. Вводят суженное на конус трубчатое продолжение холодильника в колбу таким образом, чтобы оно было погружено в раствор серной кислоты.
Анализируемый раствор переносят в дистилляционную колбу, промывают 60 см воды, добавляют 50 см
раствора гидроксида натрия (А.4.5) и промывают горлышко колбы 30 см
воды. Конечный объем раствора должен составлять 160-165 см
.
После добавления гидроксида натрия колбу присоединяют к холодильнику. Дистилляцию 80 см раствора проводят за 25 мин.
После дистилляции промывают погруженную трубку водой, собирая остатки в колбу. Содержание колбы разбавляют водой до метки и перемешивают.
Получают растворы для 1 г навески и
для 2 г навески. Ту же операцию повторяют для каждой пробы, подлежащей анализу.
Примечание - Чтобы отрегулировать кипение во время дистилляции в приборе, указанном на рисунке А.1, желательно добавить несколько кусочков пористой керамики. Эти кусочки предварительно обрабатывают как опытный образец и собирают после дистилляции. Далее их промывают раствором серной кислоты (А.4.6) до нейтрального состояния, затем водой и высушивают.
А.7.3.2 Дистилляция с водяным паром
Схема установки приведена на рисунке А.2.
Для сбора дистиллята 5 см раствора серной кислоты (А.4.6) переносят в химический стакан соответствующей емкости, вводят в него суженное на конус трубчатое продолжение холодильника, так чтобы оно было погружено в раствор серной кислоты (А.4.7).
Анализируемый раствор переносят в дистилляционную колбу с помощью воронки. Промывают колбу Кьельдаля 60 см воды, добавляют через воронку 50 см
раствора гидроксида натрия (А.4.5) и промывают воронку 30 см
воды. Объем раствора должен составлять 160-165 см
.
Парогенератор должен быть предварительно нагрет, чтобы начать дистилляцию сразу после ввода гидроксида натрия. Дистилляцию 80 см раствора проводят за 25 мин. После дистилляции промывают погруженную трубку водой, собирая остатки в химический стакан.
Раствор переносят в колбу вместимостью 100 см, доводят объем до метки водой и перемешивают. Получают растворы
для 1 г навески и
для 2 г навески.
Указанные операции повторяют для каждой пробы, подлежащей анализу.
А.7.4 Развитие окрашивания
В соответствии с предлагаемым содержанием азота берут соответствующие аликвотные пробы растворов и
:
- 10,0 см - для содержания азота от 0,020 до 0,050%;
- 25,0 см - для содержания азота от 0,010 до 0,020%;
- 50,0 см - для содержания азота от 0,002 до 0,010% и переносят их в три мерные колбы вместимостью 100 см
каждая.
Доводят объемы водой до 50 см. Добавляют одну каплю раствора метиленового красного и нейтрализуют раствором гидроксида натрия (А.4.8.). Добавляют в колбы пипеткой в следующем порядке: 5,0 см
раствора фенолята натрия, 5,0 см
раствора вторичного фосфорнокислого натрия, 10,0 см
раствора нитропруссида натрия и 5,0 см
гипохлорида натрия. Растворы в колбах доводят водой до 100 см
и время от времени взбалтывают их путем перевертывания (не менее 10 раз). При этом окраска раствора становится темной в течение 1 ч при комнатной температуре.
Примечание - Указанные аликвотные пробы зависят от содержания азота. Содержание азота в колбе объемом 100 см при спектрофотометрическом измерении должно быть для пробы
от 10 до 50 мкг, для
- от 20 до 100 мкг, а их разность должна составлять от 10 до 50 мкг.
А.7.5 Спектрофотометрические измерения
Окрашенные растворы и
гомогенизируют и измеряют оптическую плотность раствора
в кювете толщиной поглощающего свет слоя 1 см при длине волны 640 нм по отношению к нулевой поглощающей способности раствора
.
А.7.6 Построение градуировочного графика
А.7.6.1 В шесть колб вместимостью 100 см каждая помещают 0,0*; 5,0; 10,0; 15,0; 20,0 и 25,0 см
стандартного раствора сернокислого аммония (массовой концентрацией азота 0,002 г/дм
), что соответствует 0; 10; 30; 40 и 50 мкг азота.
____________
* Компенсирующий раствор.
Добавляют в каждую колбу 5 см серной кислоты (А.4.7) и доводят объем водой до 50 см
. Добавляют одну каплю раствора метиленового красного, нейтрализуют гидроксидом натрия (А.4.8) и продолжают процедуру, описанную в А.7.4.
А.7.6.2 Спекгрофотометрические измерения
Окрашенные растворы гомогенизируют и измеряют оптические плотности растворов в соответствии с А.7.5 при длине волны 640 нм в кювете толщиной поглощающего свет слоя 1 см по отношению к нулевой поглощающей способности компенсирующего раствора.
А.7.6.3 Расчет угла наклона градуировочного графика
По результатам измерения оптической плотности и содержания азота (мкг) строят градуировочный график.
Угол наклона построенной прямой линии характеризует оптическую плотность 1 мкг азота в 100 см
.
А.8 Обработка результатов
Содержание азота, относительные единицы массы, вычисляют по формуле
(А.1)
где - отношение спектральной поглощающей способности окрашенных растворов, соответствующих 1 и 2 г навески, к нулевой поглощающей способности раствора;
- угол наклона, обратные величины микрограммов, рассчитанный по отношению к длине оптического пути в 1 см;
- объем аликвотных проб растворов
и
, взятых из окрашенных реакций, см
;
- разность масс между опытными пробами
и
, г.
Текст документа сверен по:
официальное издание
М.: ИПК Издательство стандартов, 2000
Разместите заказ
сами сделают вам предложение


