ГОСТы сталей. ГОСТ 12344-2003
ГОСТ 12344-2003
Группа В39
МЕЖГОСУДАРСТВЕННЫЙ СТАНДАРТ
СТАЛИ ЛЕГИРОВАННЫЕ И ВЫСОКОЛЕГИРОВАННЫЕ
Методы определения углерода
Alloyed and high-alloyed steels. Methods for determination of carbon
МКС 77.040.30
ОКСТУ 0709
Дата введения 2004-09-01
Предисловие
1 РАЗРАБОТАН Российской Федерацией, Межгосударственным техническим комитетом по стандартизации МТК 145 "Методы контроля металлопродукции"
ВНЕСЕН Госстандартом России
2 ПРИНЯТ Межгосударственным советом по стандартизации, метрологии и сертификации (протокол N 23 от 22 мая 2003 г.). Зарегистрирован Бюро по стандартам МГС N 4451
За принятие проголосовали:
Наименование государства | Наименование национального органа по стандартизации |
Азербайджан | Азстандарт |
Республика Армения | Армгосстандарт |
Республика Беларусь | Госстандарт Республики Беларусь |
Грузия | Грузстандарт |
Казахстан | Госстандарт Республики Казахстан |
Кыргызская Республика | Кыргызстандарт |
Республика Молдова | Молдовастандарт |
Российская Федерация | Госстандарт России |
Республика Таджикистан | Таджикстандарт |
Туркменистан | Главгосслужба "Туркменстандартлары" |
Узбекистан | Узстандарт |
Украина | Госстандapт Украины |
3 Приложение А настоящего стандарта соответствует международному стандарту ИСО 9556:1989* "Сталь и чугун. Определение массовой доли общего углерода. Метод инфракрасной абсорбционной спектроскопии после сжигания пробы в индукционной печи" в части области распространения, сущности метода и отбора проб
________________
* Доступ к международным и зарубежным документам, упомянутым в тексте, можно получить, обратившись в Службу поддержки пользователей. - Примечание изготовителя базы данных.
4 Постановлением Государственного комитета Российской Федерации по стандартизации и метрологии от 20 января 2004 г. N 24-ст межгосударственный стандарт ГОСТ 12344-2003 введен в действие непосредственно в качестве национального стандарта Российской Федерации с 1 сентября 2004 г.
5 ВЗАМЕН ГОСТ 12344-88
ПЕРЕИЗДАНИЕ (по состоянию на апрель 2008 г.)
1 Область применения
1 Область применения
Настоящий стандарт устанавливает кулонометрический метод определения углерода (при массовой доле углерода от 0,002% до 2,00%) и метод инфракрасной спектроскопии (при массовой доле углерода от 0,001% до 2,00%) в легированных и высоколегированных сталях.
Допускается определение углерода методом инфракрасной абсорбционной спектроскопии по международному стандарту ИСО 9556:1989, приведенному в приложении А.
2 Нормативные ссылки
В настоящем стандарте использованы ссылки на следующие стандарты:
ГОСТ 546-2001 Катоды медные. Технические условия
ГОСТ 860-75 Олово. Технические условия
ГОСТ 2603-79 Ацетон. Технические условия
ГОСТ 4470-79 Марганца (IV) окись. Технические условия
ГОСТ 5583-78 (ИСО 2046-73) Кислород газообразный технический и медицинский. Технические условия
ГОСТ 9147-80 Посуда и оборудование лабораторные фарфоровые. Технические условия
ГОСТ 13610-79 Железо карбонильное радиотехническое. Технические условия
ГОСТ 16539-79 Меди (II) оксид. Технические условия
ГОСТ 28473-90 Чугун, сталь, ферросплавы, хром, марганец металлические. Общие требования к методам анализа
3 Общие требования
Общие требования к методам анализа - по ГОСТ 28473.
4 Кулонометрический метод определения углерода
4.1 Сущность метода
Метод основан на сжигании навески стали в токе кислорода в присутствии плавня при температуре 1300 °С - 1400 °С, поглощении образовавшейся двуокиси углерода поглотительным раствором с определенным начальным значением рН и последующем измерении (на установке для кулонометрического титрования) количества электричества, затраченного для восстановления исходного значения рН, которое пропорционально массовой доле углерода в навеске пробы.
4.2 Аппаратура
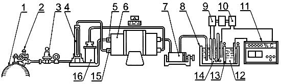
Установка для определения массовой доли углерода кулонометрическим методом (рисунок 1).
Рисунок 1 - Кулонометрическая установка

1 - баллон с кислородом (чистотой не менее 95%) по ГОСТ 5583 (допускается использование кислорода из кислородопровода); 2, 3 - редукторы, понижающие давление кислорода; 4 - ротаметр с пневматическим регулированием подачи кислорода (от 0,2 до 2,0 дм/мин); 5 - трубка огнеупорная муллитокремнеземистая, предназначенная для сжигания навески; 6 - трубчатая печь, обеспечивающая температуру до 1400 °С; 7 - фильтр-поглотитель, заполненный ватой для очистки продуктов сгорания от твердых частиц окислов; 8 - датчик экспресс-анализатора; 9 - электродная пара рН-метра; 10 - авторегулирующее устройство кулонометрического титрования; 11 - цифровое табло; 12 - анодный отсек датчика; 13 - целлофановая перегородка между датчиками; 14 - катодный отсек датчика; 15 - трубка огнеупорная муллитокремнеземистая, предназначенная для горячей очистки кислорода (при определении углерода с массовой долей более 0,03% горячую очистку кислорода можно не применять); 16 - колонка, заполненная аскаритом для очистки кислорода от углекислого газа
Рисунок 1 - Кулонометрическая установка
Допускается использование установок любого типа, в том числе в комплекте с автоматическими весами (корректором массы), обеспечивающими точность результатов анализа, предусмотренную настоящим стандартом.
При использовании автоматических весов погрешность измерения массы навески не должна превышать ±0,001 г.
Лодочки фарфоровые по ГОСТ 9147 или другому нормативному документу, предварительно прокаленные в токе кислорода при рабочей температуре.
При определении углерода менее 0,05% лодочки прокаливают непосредственно перед проведением анализа, охлаждают до комнатной температуры и хранят в эксикаторе.
Трубчатая печь сопротивления, обеспечивающая температуру до 1400 °С. Допускается применение индукционных печей.
Крюк из жаропрочной низкоуглеродистой стали длиной 300-600 мм, диаметром 3-5 мм.
4.3 Реактивы и растворы
Поглотительный и вспомогательный растворы в соответствии с типом применяемой кулонометрической установки.
Плавни: железо карбонильное радиотехническое по ГОСТ 13610, ос.ч., олово по ГОСТ 860, окись меди по ГОСТ 16539, медь металлическая по ГОСТ 546.
Допускается применение других плавней.
Эфиры: сернокислый (медицинский) или диэтиловый эфир.
Допускается применение других летучих органических растворителей: ацетон по ГОСТ 2603, хлороформ.
Марганца двуокись по ГОСТ 4470.
Гидроперит.
4.4 Подготовка к анализу
Перед проведением анализа установку приводят в рабочее состояние в соответствии с инструкцией, прилагаемой к прибору.
Перед началом работы, а также после замены муллитокремнеземистых трубок сжигают две-три произвольные навески стали с массовой долей углерода 1,00%.
При определении углерода в материалах с высокой массовой долей серы (автоматная сталь) для устранения влияния двуокиси серы применяют двуокись марганца или гидроперит, помещенные в фильтр-поглотитель 7.
Градуировку прибора проводят по стандартным образцам углеродистых сталей.
4.5 Проведение анализа
При анализе легированных сталей навеску стали массой 0,25-0,50 г (в зависимости от массовой доли углерода в стали и ее химического состава) помещают в прокаленную фарфоровую лодочку и прибавляют 0,5-1,0 г меди или железа, или другого плавня.
При анализе высоколегированных сталей применяют 1,5 г смеси плавней, состоящих из олова и железа или окиси меди и железа, взятых в обоих случаях в соотношении 1:2.
При массовой доле углерода в стали менее 0,20% навеску рекомендуется предварительно промывать эфиром или другим летучим органическим растворителем и высушивать на воздухе.
Лодочку с навеской металла и плавня помещают в наиболее нагретую часть фарфоровой трубки, которую быстро закрывают металлическим затвором: нажимают на клавишу "сброс", при этом показания индикаторного цифрового табло устанавливают на "нуль".
В процессе сжигания навески металла на цифровом табло идет непрерывный счет.
Анализ считается законченным, если показание на табло не изменяется в течение одной минуты или изменяется на величину холостого счета прибора.
Для внесения соответствующей поправки в результат анализа пробы проводят контрольный опыт. Для этого в прокаленную фарфоровую лодочку помещают соответствующий плавень и сжигают его при рабочей температуре в течение времени, затрачиваемого на сжигание навески анализируемого материала. Продолжительность измерения (сжигания навески металла) - 1,5-3 мин в зависимости от химического состава анализируемого материала.
4.6 Обработка результатов
4.6.1 Массовую долю углерода , %, вычисляют по формуле
, (1)
где - масса навески, при которой отградуирован прибор, г;
- показания прибора, полученные в результате сжигания навески анализируемого материала, %;
- среднеарифметическое значение показаний прибора, полученное в результате сжигания плавня при проведении контрольного опыта, %;
- масса анализируемой навески металла, г.
При использовании прибора с автоматическими весами (корректором массы) массовую долю углерода , %, вычисляют по следующей формуле
. (2)
4.6.2 Нормативы оперативного контроля сходимости, воспроизводимости и точности определения массовой доли углерода приведены в таблице 1.
Таблица 1
В процентах
Массовая доля углерода | Предельная погрешность результатов анализа | Норматив оперативного контроля сходимости | Норматив оперативного контроля | Норматив оперативного контроля воспроизводимости | Норматив оперативного контроля точности | ||||
От | 0,001 | до | 0,002 | включ. | 0,0006 | 0,0007 | 0,0008 | 0,0008 | 0,0004 |
Св. | 0,002 | " | 0,005 | " | 0,0008 | 0,0008 | 0,0010 | 0,0010 | 0,0005 |
" | 0,005 | " | 0,010 | " | 0,0016 | 0,0017 | 0,0020 | 0,0020 | 0,0010 |
" | 0,010 | " | 0,020 | " | 0,003 | 0,003 | 0,004 | 0,004 | 0,002 |
" | 0,020 | " | 0,050 | " | 0,005 | 0,005 | 0,006 | 0,006 | 0,003 |
" | 0,050 | " | 0,10 | " | 0,008 | 0,008 | 0,010 | 0,010 | 0,005 |
" | 0,10 | " | 0,20 | " | 0,012 | 0,012 | 0,015 | 0,015 | 0,008 |
" | 0,20 | " | 0,50 | " | 0,016 | 0,017 | 0,020 | 0,020 | 0,010 |
" | 0,50 | " | 1,0 | " | 0,024 | 0,025 | 0,030 | 0,030 | 0,016 |
" | 1,0 | " | 2,0 | " | 0,04 | 0,04 | 0,05 | 0,05 | 0,03 |
Нормативы оперативного контроля сходимости и нормативы контроля воспроизводимости рассчитаны при уровне доверительной вероятности
. Нормативы оперативного контроля точности рассчитаны при уровне доверительной вероятности
.
5 Инфракрасно-абсорбционный метод определения углерода
5.1 Сущность метода
Метод основан на сжигании навески стали в токе кислорода в присутствии плавня при температуре 1700 °С и определении количества образовавшейся двуокиси углерода путем измерения поглощенной ею инфракрасной радиации.
5.2 Аппаратура и реактивы
Любой тип автоматического анализатора, основанный на принципе абсорбции инфракрасной радиации и обеспечивающий точность результатов анализа, предусмотренную настоящим стандартом.
Эфир сернокислый (медицинский). Допускается применение других летучих органических растворителей: ацетон, хлороформ и др.
Плавень, используемый в зависимости от типа применяемого анализатора.
5.3 Подготовка к анализу
Перед проведением анализа установку приводят в рабочее состояние в соответствии с инструкцией, прилагаемой к прибору.
Градуировку прибора проводят по стандартным образцам углеродистых сталей.
5.4 Проведение анализа
Анализ проводят в соответствии с инструкцией, прилагаемой к прибору.
При массовой доле углерода в стали менее 0,20% навеску рекомендуется предварительно промывать эфиром или другим летучим органическим растворителем и высушивать на воздухе.
Для внесения соответствующей поправки в результат анализа проводят контрольный опыт.
Продолжительность измерения (сжигание навески металла) - 45 с.
5.5 Обработка результатов
5.5.1 Массовую долю углерода , %, вычисляют по формуле
, (3)
где - показания прибора, полученные в результате сжигания навески анализируемого материала, %;
- показания прибора, полученные в результате сжигания плавня при проведении контрольного опыта, %.
5.5.2 Нормативы оперативного контроля сходимости, воспроизводимости и точности определения массовой доли углерода приведены в таблице 1.
ПРИЛОЖЕНИЕ А (обязательное). Сталь и чугун. Определение массовой доли общего углерода методом инфракрасной абсорбционной спектроскопии после сжигания пробы в индукционной печи (ИСО 9556:1989)
ПРИЛОЖЕНИЕ А
(обязательное)
А.1 Область применения
Настоящий стандарт устанавливает инфракрасно-абсорбционный метод определения содержания общего углерода в стали и чугуне после сжигания пробы в индукционной печи.
Метод применяют при определении массовой доли углерода в диапазоне 0,003%-4,5%.
А.2 Нормативные ссылки
В настоящем стандарте использованы ссылки на следующие стандарты:
ГОСТ 1770-74 Посуда мерная лабораторная стеклянная. Цилиндры, мензурки, колбы, пробирки. Общие технические условия
ГОСТ 7565-81 (ИСО 377-2-89) Чугун, сталь и сплавы. Метод отбора проб для определения химического состава
ГОСТ 29169-91 (ИСО 648-77) Посуда лабораторная стеклянная. Пипетки с одной меткой
ГОСТ 29251-91 (ИСО 385-1-84) Посуда лабораторная стеклянная. Бюретки. Часть 1. Общие требования
А.3 Сущность метода
Метод основан на сжигании пробы в высокочастотной индукционной печи в токе кислорода в присутствии плавня при высокой температуре и определении количества образовавшихся оксида или смеси оксида и диоксида углерода по поглощению в инфракрасной области.
А.4 Реактивы
При проведении анализа, кроме случаев, оговоренных особо, используют реактивы известной аналитической чистоты и дистиллированную воду или воду эквивалентной чистоты.
А.4.1 Вода, очищенная от диоксида углерода. Воду кипятят в течение 30 мин, охлаждают до комнатной температуры и насыщают кислородом в течение 15 мин. Готовят непосредственно перед употреблением.
А.4.2 Кислород чистотой не менее 99,5%. Если в кислороде подозревается наличие органических соединений, то для их окисления перед фильтром очистки должна быть установлена трубка с катализатором (диоксидом меди или платиной), нагретая до температуры свыше 450 °С.
А.4.3 Железо металлическое с массовой долей углерода менее 0,0010%.
А.4.4 Растворитель, пригодный для промывания и сушки образцов, например ацетон.
А.4.5 Магний хлорнокислый Mg(ClO)
размером частиц 0,7-1,2 мм.
А.4.6 Барий углекислый, содержание основного вещества - не менее 99,9% (масс.). Перед использованием его высушивают при температуре 105 °С - 110 °С в течение 3 ч и охлаждают в эксикаторе.
А.4.7 Натрий углекислый, содержание основного вещества - не менее 99,9% (масс.). Перед использованием его высушивают при температуре 285 °С в течение 3 ч и охлаждают в эксикаторе.
А.4.8 Плавни: металлическая медь, смесь вольфрама и олова или вольфрам с массовой долей углерода менее 0,0010%.
А.4.9 Сахароза, титрованный раствор: 14,843 г сахарозы (CH
O
), предварительно высушенной при 100 °С - 105 °С в течение 2,5 ч и охлажденной в эксикаторе, взвешивают с точностью до 1 мг, растворяют в 100 мл воды (А.4.1), переводят в мерную колбу вместимостью 250 мл, доводят до метки и перемешивают. 1 мл этого раствора содержит 25 мг углерода.
А.4.10 Натрий углекислый, титрованный раствор: 55,152 г углекислого натрия (А.4.7) взвешивают с точностью до 1 мг, растворяют в 200 мл воды, переводят в мерную колбу вместимостью 250 мл, доливают до метки водой и перемешивают. 1 мл этого раствора содержит 25 мг углерода.
А.4.11 Аскарит (асбест, пропитанный гидроксидом натрия) размером частиц 0,7-1,2 мм.
А.5 Аппаратура
При проведении анализа, если нет других рекомендаций, используют только обычную лабораторную аппаратуру.
Все стеклянные изделия должны быть класса А в соответствии с ГОСТ 1770, ГОСТ 29169 и ГОСТ 29251.
Характеристики выпускаемых промышленных приборов приведены в приложении Б.
А.5.1 Микропипетка вместимостью 100 мл с погрешностью измерения не более 1 мл.
А.5.2 Капсула оловянная диаметром около 6 мм, высотой 18 мм, массой 0,3 г, объемом приблизительно 0,4 мл, с массовой долей углерода не более 0,0010%.
А.5.3 Тигли керамические, способные выдержать температуру сжигания в индукционной печи.
Перед использованием тигли прокаливают в электропечи на воздухе или в потоке кислорода в течение 2 ч при температуре 1100 °С и хранят в эксикаторе.
Примечание - При определении массовых долей углерода менее 0,0010% рекомендуется прокаливать тигли при температуре 1350 °С в потоке кислорода.
А.6 Отбор проб
Отбор проб - по ГОСТ 7565 или другим нормативным документам на металлопродукцию.
А.7 Методика проведения анализа
Меры безопасности
Основная опасность связана с возможностью получения ожогов при прокаливании тиглей и работе с расплавом. Следует пользоваться специальными тигельными щипцами и контейнерами для использованных тиглей.
При использовании баллонов с кислородом следует соблюдать обычные для этого случая меры предосторожности. После завершения сжигания пробы необходимо немедленно удалить кислород из печи, т.к. повышенное содержание кислорода в замкнутом пространстве может привести к воспламенению и взрыву.
А.7.1 Общие требования
Для предварительной очистки кислород пропускают через трубку, заполненную аскаритом (асбестом), пропитанным раствором гидроксида натрия (А.4.11), и трубку с хлорнокислым магнием (А.4.5). Для очистки кислорода от пыли используют фильтр из стекловаты или сетку из нержавеющей стали, которые необходимо чистить или заменять по мере необходимости. Камеру сгорания, подставку под тигли и фильтры периодически очищают, удаляя осевшие окислы.
Каждый блок оборудования после его включения необходимо прогреть в течение времени, указанного в инструкции к прибору.
После очистки камеры сгорания, замены или очистки фильтров, а также после перерыва в работе прибора для стабилизации его работы необходимо проводить сжигание нескольких проб, состав которых аналогичен анализируемым.
Через установку пропускают кислород и устанавливают контрольно-измерительные приборы на нулевые отметки. Если шкала измерительного прибора регистрирует массовую долю углерода сразу в процентах, необходимо настраивать прибор для каждой области калибровки. Для этого выбирают стандартный образец с массовой долей углерода, близкой к максимальному в калибровочном интервале, проводят его анализ (как указано в А.7.4) и устанавливают аттестованное значение массовой доли углерода на измерительной шкале прибора.
Примечание - Настройку шкалы проводят перед калибровкой, указанной в А.7.4, она не заменяет и не корректирует саму калибровку.
А.7.2 Подготовка проб
Подготовка проб - по ГОСТ 7565 или другим нормативным документам на металлопродукцию.
Анализируемую пробу обезжиривают промыванием в соответствующем растворителе и высушивают для удаления следов растворителя. Взвешивают приблизительно 1 г анализируемой пробы с точностью до 1 мг при массовых долях углерода менее 1,00% или около 0,5 г при массовых долях более 1,00%.
Примечание - Масса навески может зависеть от типа используемого анализатора.
А.7.3 Контрольный опыт
Перед проведением анализа необходимо дважды провести описанный ниже контрольный опыт.
Оловянную капсулу (А.5.2) помещают в керамический тигель (А.5.3) и слегка прижимают ее ко дну тигля. Добавляют чистое железо (А.4.3) в количестве, соответствующем навеске анализируемой пробы, и необходимое для анализа количество плавня (примечание 2 настоящего пункта) и проводят анализ, как описано в А.7.4.
Полученные результаты переводят с помощью калибровочного графика (А.7.5) в массовую долю углерода и рассчитывают значение контрольного опыта, вычитая массовую долю углерода, содержащуюся в чистом железе, из найденного значения.
Среднее значение контрольного опыта определяют по двум параллельным определениям.
Примечания
1 При получении данных для построения калибровочных графиков капсулу готовят следующим образом: с помощью микропипетки в капсулу (А.5.2) помещают 100 мл воды и высушивают при температуре 90 °С в течение 2 ч.
2 Количество плавня зависит от индивидуальных характеристик прибора и типа анализируемого материала. Используемое количество плавня должно обеспечивать полное сгорание навески.
3 Значение контрольного опыта и разность между значениями двух параллельных измерений контрольных опытов не должны превышать 0,01 мг по содержанию углерода. Если эти значения больше, то необходимо установить и ликвидировать причину загрязнения.
А.7.4 Проведение анализа
Оловянную капсулу (А.5.2) помещают в керамический тигель (А.5.3), слегка прижав ее ко дну, помещают в нее навеску (А.7.2) (см. примечание к А.7.2) анализируемой пробы и соответствующее количество плавня (А.4.8). Тигель с содержимым ставят на специальную подставку для тиглей, приводят прибор в режим сжигания и закрывают камеру сгорания. Согласно инструкции по эксплуатации прибора включают печь. По окончании сжигания и измерения тигель удаляют и записывают результаты анализа.
А.7.5 Построение калибровочного графика
А.7.5.1 Образцы с массовой долей углерода от 0,003% до 0,01%.
А.7.5.1.1 Подготовка калибровочных растворов
В пять мерных колб вместимостью 250 мл помещают различные объемы стандартного раствора сахарозы (А.4.9) или углекислого натрия (таблица А.1), доводят до метки водой и перемешивают. С помощью микропипетки вводят по 100 мл каждого из полученных растворов в оловянные капсулы, высушивают при 90 °С в течение 2 ч и охлаждают до комнатной температуры в эксикаторе.
Таблица А.1
Объем стандартного раствора, мл | Масса углерода в разбавленном растворе, | Масса углерода, находящегося в капсуле, мг | Массовая доля углерода в анализируемом образце, % |
0* | 0 | 0 | 0 |
1,0 | 0,10 | 0,010 | 0,001 |
2,0 | 0,20 | 0,020 | 0,002 |
5,0 | 0,50 | 0,050 | 0,005 |
10,0 | 1,00 | 0,100 | 0,010 |
* Нулевой раствор (контрольный опыт). | |||
А.7.5.1.2 Измерения
Оловянную капсулу, содержащую сахарозу или углекислый натрий, помещают в керамический тигель (А.5.3) и слегка прижимают ее ко дну тигля, добавляют 1,000 г железа высокой чистоты (А.4.3) и необходимое количество плавня (примечание 2 к А.7.3).
Тигель с содержимым проводят через весь ход анализа, как указано в А.7.4.
А.7.5.1.3 Построение калибровочного графика
Из значений, определенных для каждого калибровочного раствора, вычитают значения, полученные для контрольного опыта. Калибровочный график строят по найденным таким образом истинным показаниям шкалы и соответствующим им содержаниям углерода в миллиграммах в каждом растворе калибровочной серии.
А.7.5.2 Образцы с массовой долей углерода от 0,01% до 0,1%
А.7.5.2.1 Подготовка растворов калибровочной серии
В пять мерных колб вместимостью 50 мл помещают различные объемы стандартного раствора сахарозы (А.4.9) или углекислого натрия (таблица А.2), доводят до метки водой и перемешивают. С помощью микропипетки вводят по 100 мкл каждого из полученных растворов в оловянные капсулы, высушивают при 90 °С в течение 2 ч и охлаждают до комнатной температуры в эксикаторе.
Таблица А.2
Объем стандартного раствора, мл | Масса углерода в разбавленном растворе, | Масса углерода, находящегося в капсуле, мг | Массовая доля углерода в анализируемом образце, % |
0* | 0 | 0 | 0 |
2,0 | 1,0 | 0,10 | 0,010 |
4,0 | 2,0 | 0,20 | 0,020 |
10,0 | 5,0 | 0,50 | 0,050 |
20,0 | 10,0 | 1,00 | 0,100 |
* Нулевой раствор (контрольный опыт). | |||
А.7.5.2.2 Измерение
Выполняют, как указано в А.7.5.1.2.
А.7.5.2.3 Построение калибровочного графика
Выполняют, как указано в А.7.5.1.3.
А.7.5.3 Образцы с массовой долей углерода от 0,1% до 1,0%
А.7.5.3.1 Подготовка растворов калибровочной серии
Указанную в таблице А.3 навеску углекислого бария (А.4.6) или углекислого натрия (А.4.7) взвешивают с точностью до 0,1 мг и помещают в капсулу (А.5.2).
Таблица А.3
Масса стандартного вещества, мг | Масса углерода, содержащегося в оловянной капсуле, мг | Массовая доля углерода в анализируемой пробе, % | |
Углекислый барий | Углекислый натрий | ||
0* | 0 | 0 | 0 |
16,4 | 8,8 | 1,0 | 0,10 |
32,9 | 17,7 | 2,0 | 0,20 |
82,1 | 44,1 | 5,0 | 0,50 |
164,3 | 88,2 | 10,0 | 1,00 |
* Нулевой раствор (контрольный опыт). | |||
А.7.5.3.2 Измерения
Оловянную капсулу, содержащую углекислый барий или углекислый натрий, помещают в керамический тигель, слегка придавив ее ко дну тигля, добавляют 1,000 г железа высокой чистоты (А.4.3) и необходимое количество плавня (примечание 2 к А.7.3).
Тигель с содержимым проводят через весь ход анализа, как указано в А.7.4.
А.7.5.3.3 Построение калибровочного графика
Выполняют, как указано в А.7.5.1.3.
А.7.5.4 Образцы с массовой долей углерода от 1,0% до 4,5%
А.7.5.4.1 Подготовка калибровочной серии
Указанную в таблице А.4 навеску углекислого бария (А.4.6) или углекислого натрия (А.4.7) взвешивают с точностью до 0,1 мг и помещают в капсулу.
Примечание - Если навеска углекислого натрия или углекислого бария не помещается в оловянную капсулу, ее можно положить непосредственно на дно керамического тигля.
Таблица А.4
Масса стандартного вещества, мг | Масса углерода, содержащегося в оловянной капсуле, мг | Массовая доля углерода в анализируемой пробе, % | |
Углекислый барий | Углекислый натрий | ||
0* | 0 | 0 | 0 |
82,1 | 44,1 | 5,0 | 1,00 |
164,3 | 88,2 | 10,0 | 2,00 |
246,4 | 132,3 | 15,0 | 3,00 |
369,7 | 198,6 | 22,5 | 4,5 |
* Нулевой раствор (контрольный опыт). | |||
А.7.5.4.2 Измерения
Оловянную капсулу, содержащую углекислый барий или углекислый натрий, помещают в керамический тигель (А.5.3) и слегка придавливают ее ко дну тигля, добавляют 0,5000 г железа высокой чистоты (А.4.3) и необходимое количество плавня (примечание 2 к А.7.3).
Тигель с содержимым проводят через весь ход анализа, как указано в А.7.4.
А.7.5.4.3 Построение калибровочного графика
Выполняют, как указано в А.7.5.1.3.
А.8 Обработка результатов
А.8.1 Методика расчета
По полученным для анализируемых образцов показаниям шкалы прибора определяют по калибровочным графикам соответствующие значения содержания углерода в миллиграммах.
Массовую долю углерода , %, вычисляют по формуле
, (А.1)
где - масса углерода, содержащаяся в анализируемом образце, мг;
- масса углерода в контрольном опыте, мг;
- масса анализируемого образца, г.
А.8.2 Точность метода
Качество измерений в данном методе характеризуется следующими метрологическими характеристиками: повторяемостью , внутрилабораторной воспроизводимостью
и межлабораторной воспроизводимостью
.
Между массовой долей углерода и величинами ,
и
, приведенными в таблице А.5, существует логарифмическая зависимость.
Таблица А.5
Массовая доля углерода, % | Сходимость | Внутрилабораторный контроль воспроизводимости | Межлабораторный контроль воспроизводимости |
0,003 | 0,00053 | 0,00119 | 0,00077 |
0,005 | 0,00069 | 0,00160 | 0,00102 |
0,01 | 0,00099 | 0,00240 | 0,00150 |
0,02 | 0,00142 | 0,00359 | 0,00220 |
0,05 | 0,00229 | 0,00612 | 0,00365 |
0,1 | 0,00329 | 0,00917 | 0,00536 |
0,2 | 0,00472 | 0,0137 | 0,00785 |
0,5 | 0,00762 | 0,0234 | 0,0130 |
1,0 | 0,0110 | 0,0351 | 0,0191 |
2,0 | 0,0157 | 0,0526 | 0,0280 |
4,5 | 0,0240 | 0,0844 | 0,0438 |
A.9 Протокол испытания
Протокол испытания должен содержать следующие сведения:
- всю информацию о лаборатории и дате анализа;
- использованный метод со ссылкой на настоящий стандарт;
- результаты;
- любые необычные особенности, отмеченные в ходе проведения анализа;
- любые операции, не указанные в настоящем стандарте, или любые операции, которые могли бы повлиять на результаты анализа.
ПРИЛОЖЕНИЕ Б (справочное). Технические особенности индукционных печей и инфракрасных анализаторов, изготовляемых для определения углерода
ПРИЛОЖЕНИЕ Б
(справочное)
Б.1 Источник кислорода (баллон или кислородопровод) должен быть снабжен редукционным вентилем и манометром для регулирования давления кислорода, подаваемого в печь, при этом регулятор давления должен быть рассчитан на 28 кг/м.
Б.2 Устройство для очистки кислорода состоит из поглотительной трубки для поглощения диоксида углерода, наполненной асбестом, пропитанным гидроксидом натрия, и осушительной трубки с хлорнокислым магнием.
Б.3 Измеритель газового потока (реометр), рассчитанный на измерение в диапазоне 0-4 л/мин.
Б.4 Высокочастотная индукционная печь
Б.4.1 Печь для сжигания состоит из индукционной катушки и высокочастотного генератора. Камера печи представляет собой кремнеземистую трубку (наружный диаметр 30-40 мм, внутренний диаметр 26-36 мм, длина трубки 200-220 мм), которая вставлена внутрь индукционной катушки. На концах трубки находятся металлические пластины, укрепленные металлическими кольцами. В пластинах есть входное и выходное отверстия для газа.
Б.4.2 Высокочастотный генератор с помощью* 1,5-2,5 кВт может иметь различную частоту в зависимости от конкретного изготовителя: 2-6 мГц, 15 мГц или 20 мГц. Энергия от генератора подается на индукционную катушку, в которую помещена кремнеземистая трубка, охлаждаемая воздухом.
___________________
* Текст соответствует оригиналу. - Примечание изготовителя базы данных.
Б.4.3 Тигель с образцом, флюсом и плавнем помещают на подставку, расположенную так, чтобы при ее подъеме металл в тигле оказывался непосредственно внутри индукционной катушки, что обеспечивает эффективную связь при подаче энергии.
Б.4.4 Диаметр индукционной катушки, число витков, геометрические размеры камеры печи и мощность генератора определяет фирма-изготовитель.
Б.4.5 Температура сжигания зависит как от факторов, указанных в Б.4.4, так и от свойств металла в тигле, формы и массы анализируемого образца.
Б.5 Установка снабжена пылеуловителем, предназначенным для очистки тока кислорода, выходящего из печи, от пыли и окислов металлов.
Б.6 Десульфирующая трубка состоит из нагреваемой окислительной трубки, заполненной платиновой или платинированной двуокисью кремния, и фильтра для поглощения триоксида серы, содержащего целлюлозное волокно.
Б.7 Инфракрасный анализатор
Б.7.1 Для большинства приборов этого типа характерно, что газообразные продукты сжигания переносятся в систему анализатора непрерывным потоком кислорода. Поток газа проходит через ячейку, где фотоэлемент регистрирует излучение, поглощенное диоксидом или смесью диоксида и оксида углерода в инфракрасной области спектра; излучение измеряют и суммируют за заданный период времени. Сигнал преобразуют в процентное содержание углерода и выводят на шкалу прибора.
Б.7.2 В некоторых анализаторах продукты сжигания собираются в атмосфере кислорода при контролируемом давлении в заданном объеме и эту смесь анализируют на содержание окиси и/или двуокиси углерода.
Б.7.3 Анализатор обычно снабжают электронными приспособлениями для установки шкалы прибора на нуль, компенсации холостого опыта, установки наклона калибровочной кривой и коррекции в случае ее нелинейного характера. Кроме того, анализатор имеет, как правило, устройство для ввода массы навески стандартного образца и анализируемой пробы для автоматической коррекции считываемого результата. Приборы могут быть также снабжены автоматическими весами для взвешивания тиглей, навесок испытуемых образцов и передачи значений их масс в калькулятор.
Электронный текст документа
подготовлен ЗАО "Кодекс" и сверен по:
официальное издание
М.: Стандартинформ, 2008
Разместите заказ
сами сделают вам предложение
