ГОСТы сталей. ГОСТ 10234-77
ГОСТ 10234-77
Группа В34
МЕЖГОСУДАРСТВЕННЫЙ СТАНДАРТ
ЛЕНТА СТАЛЬНАЯ ПЛЮЩЕНАЯ СРЕДНЕЙ ПРОЧНОСТИ
Технические условия
Moderate strength flattened steel strip. Specifications
ОКП 12 3100
Дата введения 1978-01-01
ИНФОРМАЦИОННЫЕ ДАННЫЕ
1. РАЗРАБОТАН И ВНЕСЕН Министерством черной металлургии СССР
2. УТВЕРЖДЕН И ВВЕДЕН В ДЕЙСТВИЕ Постановлением Государственного комитета стандартов Совета Министров СССР от 18.02.77 N 421
3. ВЗАМЕН ГОСТ 10234-62
4. ССЫЛОЧНЫЕ НОРМАТИВНО-ТЕХНИЧЕСКИЕ ДОКУМЕНТЫ
Обозначение НТД, на который дана ссылка | Номер пункта |
ГОСТ 427-75 | 4.3 |
ГОСТ 1050-88 | 2.1 |
ГОСТ 1435-99 | 2.1 |
ГОСТ 1763-68 | 4.4 |
ГОСТ 3282-74 | 5.1, 5.3 |
ГОСТ 3560-73 | 5.1, 5.3 |
ГОСТ 4381-87 | 4.1 |
ГОСТ 4543-71 | 2.1 |
ГОСТ 6507-90 | 4.1 |
ГОСТ 8233-56 | 4.4а |
ГОСТ 8273-75 | 5.3 |
ГОСТ 8828-89 | 5.1, 5.3 |
ГОСТ 9569-79 | 5.3 |
ГОСТ 10354-82 | 5.3 |
ГОСТ 10396-84 | 5.3 |
ГОСТ 11701-84 | 4.2 |
ГОСТ 13950-91 | 5.3 |
ГОСТ 14192-96 | 5.5, 5.5а |
ГОСТ 14959-79 | 2.1 |
ГОСТ 15102-75 | 5.3 |
ГОСТ 15150-69 | 5.7 |
ГОСТ 15171-78 | 5.2 |
ГОСТ 16272-79 | 5.3 |
ГОСТ 18617-83 | 5.3 |
ГОСТ 20435-75 | 5.3 |
ГОСТ 20799-88 | 5.2 |
ГОСТ 21650-76 | 5.4 |
ГОСТ 22225-76 | 5.3 |
ГОСТ 22536.0-87 | 4.6 |
ГОСТ 22536.1-88 | 4.6 |
ГОСТ 22536.2-87 | 4.6 |
ГОСТ 22536.3-88 | 4.6 |
ГОСТ 22536.4-87 | 4.6 |
ГОСТ 22536.5-87 | 4.6 |
ГОСТ 22536.6-88 | 4.6 |
ГОСТ 22536.7-88 | 4.6 |
ГОСТ 22536.8-87 | 4.6 |
ГОСТ 24597-81 | 5.4 |
ГОСТ 26663-85 | 5.4 |
ГОСТ 29329-92 | 4.7 |
5. Ограничение срока действия снято Постановлением Госстандарта от 09.04.92 N 384
6. ИЗДАНИЕ с Изменениями N 1, 2, 3, 4, утвержденными в апреле 1981 г., декабре 1982 г., июне 1987 г., апреле 1992 г. (ИУС 7-81, 3-83, 10-87, 7-92)
Настоящий стандарт распространяется на стальную ленту, изготовляемую плющением проволоки.
(Измененная редакция, Изм. N 3, 4).
1. СОРТАМЕНТ
1. СОРТАМЕНТ
1.1. Размеры ленты по толщине и ширине должны соответствовать указанным в табл.1.
Таблица 1
мм | |||||||||||||||||||||||||||||
Тол- | Ширина ленты | ||||||||||||||||||||||||||||
0,5 | 0,6 | 0,7 | 0,8 | 0,9 | 1,0 | 1,1 | 1,2 | 1,3 | 1,4 | 1,5 | 1,6 | 1,7 | 1,8 | 1,9 | 2,0 | 2,1 | 2,2 | 2,3 | 2,4 | 2,5 | 2,6 | 2,7 | 2,8 | 3,0 | 3,1 | 3,2 | 3,4 | 3,5 | |
0,10 | + | + | + | + | + | + | + | + | + | + | + | - | - | - | - | - | - | - | - | - | - | - | - | - | - | - | - | - | - |
0,15 | + | + | + | + | + | + | + | + | + | + | + | + | + | + | + | + | + | + | + | + | + | + | + | + | + | - | - | - | - |
0,20 | + | + | + | + | + | + | + | + | + | + | + | + | + | + | + | + | + | + | + | + | + | + | + | + | + | + | + | + | + |
0,25 | + | + | + | + | + | + | + | + | + | + | + | + | + | + | + | + | + | + | + | + | + | + | + | + | + | + | + | + | + |
0,30 | - | + | + | + | + | + | + | + | + | + | + | + | + | + | + | + | + | + | + | + | + | + | + | + | + | + | + | + | + |
0,35 | - | - | + | + | + | + | + | + | + | + | + | + | + | + | + | + | + | + | + | + | + | + | + | + | + | + | + | + | + |
0,40 | - | - | + | + | + | + | + | + | + | + | + | + | + | + | + | + | + | + | + | + | + | + | + | + | + | + | + | + | + |
0,45 | - | - | - | + | + | + | + | + | + | + | + | + | + | + | + | + | + | + | + | + | + | + | + | + | + | + | + | + | + |
0,50 | - | - | - | + | + | + | + | + | + | + | + | + | + | + | + | + | + | + | + | + | + | + | + | + | + | + | + | + | + |
0,53 | - | - | - | + | + | + | + | + | + | + | + | + | + | + | + | + | + | + | + | + | + | + | + | + | + | + | + | + | + |
0,56 | - | - | - | + | + | + | + | + | + | + | + | + | + | + | + | + | + | + | + | + | + | + | + | + | + | + | + | + | + |
0,60 | - | - | - | + | + | + | + | + | + | + | + | + | + | + | + | + | + | + | + | + | + | + | + | + | + | + | + | + | + |
0,63 | - | - | - | - | - | + | + | + | + | + | + | + | + | + | + | + | + | + | + | + | + | + | + | + | + | + | + | + | + |
0,67 | - | - | - | - | - | + | + | + | + | + | + | + | + | + | + | + | + | + | + | + | + | + | + | + | + | + | + | + | + |
0,70 | - | - | - | - | - | + | + | + | + | + | + | + | + | + | + | + | + | + | + | + | + | + | + | + | + | + | + | + | + |
0,71 | - | - | - | - | - | + | + | + | + | + | + | + | + | + | + | + | + | + | + | + | + | + | + | + | + | + | + | + | + |
0,75 | - | - | - | - | - | + | + | + | + | + | + | + | + | + | + | + | + | + | + | + | + | + | + | + | + | + | + | + | + |
0,80 | - | - | - | - | - | + | + | + | + | + | + | + | + | + | + | + | + | + | + | + | + | + | + | + | + | + | + | + | + |
0,85 | - | - | - | - | - | - | - | - | + | + | + | + | + | + | + | + | + | + | + | + | + | + | + | + | + | + | + | + | + |
0,90 | - | - | - | - | - | - | - | - | + | + | + | + | + | + | + | + | + | + | + | + | + | + | + | + | + | + | + | + | + |
0,95 | - | - | - | - | - | - | - | - | + | + | + | + | + | + | + | + | + | + | + | + | + | + | + | + | + | + | + | + | + |
1,00 | - | - | - | - | - | - | - | - | + | + | + | + | + | + | + | + | + | + | + | + | + | + | + | + | + | + | + | + | + |
1,10 | - | - | - | - | - | - | - | - | - | - | - | - | + | + | + | + | + | + | + | + | + | + | + | + | + | + | + | + | + |
1,20 | - | - | - | - | - | - | - | - | - | - | - | - | - | + | + | + | + | + | + | + | + | + | + | + | + | + | + | + | + |
1,30 | - | - | - | - | - | - | - | - | - | - | - | - | - | - | + | + | + | + | + | + | + | + | + | + | + | + | + | + | + |
1,40 | - | - | - | - | - | - | - | - | - | - | - | - | - | - | - | + | + | + | + | + | + | + | + | + | + | + | + | + | + |
1,50 | - | - | - | - | - | - | - | - | - | - | - | - | - | - | - | - | - | + | + | + | + | + | + | + | + | + | + | + | + |
1,60 | - | - | - | - | - | - | - | - | - | - | - | - | - | - | - | - | - | - | + | + | + | + | + | + | + | + | + | + | + |
1,70 | - | - | - | - | - | - | - | - | - | - | - | - | - | - | - | - | - | - | + | + | + | + | + | + | + | + | + | + | + |
1,75 | - | - | - | - | - | - | - | - | - | - | - | - | - | - | - | - | - | - | - | + | + | + | + | + | + | + | + | + | + |
1,80 | - | - | - | - | - | - | - | - | - | - | - | - | - | - | - | - | - | - | - | + | + | + | + | + | + | + | + | + | + |
1,85 | - | - | - | - | - | - | - | - | - | - | - | - | - | - | - | - | - | - | - | - | + | + | + | + | + | + | + | + | + |
1,90 | - | - | - | - | - | - | - | - | - | - | - | - | - | - | - | - | - | - | - | - | - | - | - | + | + | + | + | + | + |
2,00 | - | - | - | - | - | - | - | - | - | - | - | - | - | - | - | - | - | - | - | - | - | - | - | - | - | - | + | + | + |
2,10 | - | - | - | - | - | - | - | - | - | - | - | - | - | - | - | - | - | - | - | - | - | - | - | - | - | - | - | + | + |
2,15 | - | - | - | - | - | - | - | - | - | - | - | - | - | - | - | - | - | - | - | - | - | - | - | - | - | - | - | + | + |
2,20 | - | - | - | - | - | - | - | - | - | - | - | - | - | - | - | - | - | - | - | - | - | - | - | - | - | - | - | - | + |
2,30 | - | - | - | - | - | - | - | - | - | - | - | - | - | - | - | - | - | - | - | - | - | - | - | - | - | - | - | - | - |
2,35 | - | - | - | - | - | - | - | - | - | - | - | - | - | - | - | - | - | - | - | - | - | - | - | - | - | - | - | - | - |
2,40 | - | - | - | - | - | - | - | - | - | - | - | - | - | - | - | - | - | - | - | - | - | - | - | - | - | - | - | - | - |
2,45 | - | - | - | - | - | - | - | - | - | - | - | - | - | - | - | - | - | - | - | - | - | - | - | - | - | - | - | - | - |
2,50 | - | - | - | - | - | - | - | - | - | - | - | - | - | - | - | - | - | - | - | - | - | - | - | - | - | - | - | - | - |
2,60 | - | - | - | - | - | - | - | - | - | - | - | - | - | - | - | - | - | - | - | - | - | - | - | - | - | - | - | - | - |
2,75 | - | - | - | - | - | - | - | - | - | - | - | - | - | - | - | - | - | - | - | - | - | - | - | - | - | - | - | - | - |
2,80 | - | - | - | - | - | - | - | - | - | - | - | - | - | - | - | - | - | - | - | - | - | - | - | - | - | - | - | - | - |
2,85 | - | - | - | - | - | - | - | - | - | - | - | - | - | - | - | - | - | - | - | - | - | - | - | - | - | - | - | - | - |
3,00 | - | - | - | - | - | - | - | - | - | - | - | - | - | - | - | - | - | - | - | - | - | - | - | - | - | - | - | - | - |
3,15 | - | - | - | - | - | - | - | - | - | - | - | - | - | - | - | - | - | - | - | - | - | - | - | - | - | - | - | - | - |
3,20 | - | - | - | - | - | - | - | - | - | - | - | - | - | - | - | - | - | - | - | - | - | - | - | - | - | - | - | - | - |
3,40 | - | - | - | - | - | - | - | - | - | - | - | - | - | - | - | - | - | - | - | - | - | - | - | - | - | - | - | - | - |
3,50 | - | - | - | - | - | - | - | - | - | - | - | - | - | - | - | - | - | - | - | - | - | - | - | - | - | - | - | - | - |
3,80 | - | - | - | - | - | - | - | - | - | - | - | - | - | - | - | - | - | - | - | - | - | - | - | - | - | - | - | - | - |
4,00 | - | - | - | - | - | - | - | - | - | - | - | - | - | - | - | - | - | - | - | - | - | - | - | - | - | - | - | - | - |
Продолжение табл.1
мм | |||||||||||||||||||||||||||||||||
Тол- | Ширина ленты | ||||||||||||||||||||||||||||||||
3,6 | 3,7 | 3,8 | 3,9 | 4,0 | 4,2 | 4,4 | 4,5 | 4,8 | 4,9 | 5,0 | 5,1 | 5,3 | 5,5 | 6,0 | 6,1 | 6,3 | 6,5 | 6,7 | 7,0 | 7,3 | 7,5 | 8,0 | 8,5 | 9,0 | 9,5 | 10,0 | 10,5 | 11,0 | 11,2 | 11,5 | 11,8 | 12,0 | |
0,10 | - | - | - | - | - | - | - | - | - | - | - | - | - | - | - | - | - | - | - | - | - | - | - | - | - | - | - | - | - | - | - | - | - |
0,15 | - | - | - | - | - | - | - | - | - | - | - | - | - | - | - | - | - | - | - | - | - | - | - | - | - | - | - | - | - | - | - | - | - |
0,20 | + | + | + | + | + | + | + | + | + | + | + | - | - | - | - | - | - | - | - | - | - | - | - | - | - | - | - | - | - | - | - | - | - |
0,25 | + | + | + | + | + | + | + | + | + | + | + | - | - | - | - | - | - | - | - | - | - | - | - | - | - | - | - | - | - | - | - | - | - |
0,30 | + | + | + | + | + | + | + | + | + | + | + | - | - | - | - | - | - | - | - | - | - | - | - | - | - | - | - | - | - | - | - | - | - |
0,35 | + | + | + | + | + | + | + | + | + | + | + | - | - | - | - | - | - | - | - | - | - | - | - | - | - | - | - | - | - | - | - | - | - |
0,40 | + | + | + | + | + | + | + | + | + | + | + | - | - | - | - | - | - | - | - | - | - | - | - | - | - | - | - | - | - | - | - | - | - |
0,45 | + | + | + | + | + | + | + | + | + | + | + | + | + | + | - | - | - | - | - | - | - | - | - | - | - | - | - | - | - | - | - | - | - |
0,50 | + | + | + | + | + | + | + | + | + | + | + | + | + | + | + | - | - | - | - | - | - | - | - | - | - | - | - | - | - | - | - | - | - |
0,53 | + | + | + | + | + | + | + | + | + | + | + | + | + | + | + | - | - | - | - | - | - | - | - | - | - | - | - | - | - | - | - | - | - |
0,56 | + | + | + | + | + | + | + | + | + | + | + | + | + | + | + | - | - | - | - | - | - | - | - | - | - | - | - | - | - | - | - | - | - |
0,60 | + | + | + | + | + | + | + | + | + | + | + | + | + | + | + | - | - | - | - | - | - | - | - | - | - | - | - | - | - | - | - | - | - |
0,63 | + | + | + | + | + | + | + | + | + | + | + | + | + | + | + | + | + | - | - | - | - | - | - | - | - | - | - | - | - | - | - | - | - |
0,67 | + | + | + | + | + | + | + | + | + | + | + | + | + | + | + | + | + | + | + | - | - | - | - | - | - | - | - | - | - | - | - | - | - |
0,70 | + | + | + | + | + | + | + | + | + | + | + | + | + | + | + | + | + | + | + | - | - | - | - | - | - | - | - | - | - | - | - | - | - |
0,71 | + | + | + | + | + | + | + | + | + | + | + | + | + | + | + | + | + | + | + | + | + | + | - | - | - | - | - | - | - | - | - | - | - |
0,75 | + | + | + | + | + | + | + | + | + | + | + | + | + | + | + | + | + | + | + | + | + | + | - | - | - | - | - | - | - | - | - | - | - |
0,80 | + | + | + | + | + | + | + | + | + | + | + | + | + | + | + | + | + | + | + | + | + | + | + | - | - | - | - | - | - | - | - | - | - |
0,85 | + | + | + | + | + | + | + | + | + | + | + | + | + | + | + | + | + | + | + | + | + | + | + | + | - | - | - | - | - | - | - | - | - |
0,90 | + | + | + | + | + | + | + | + | + | + | + | + | + | + | + | + | + | + | + | + | + | + | + | + | + | - | - | - | - | - | - | - | - |
0,95 | + | + | + | + | + | + | + | + | + | + | + | + | + | + | + | + | + | + | + | + | + | + | + | + | + | + | - | - | - | - | - | - | - |
1,00 | + | + | + | + | + | + | + | + | + | + | + | + | + | + | + | + | + | + | + | + | + | + | + | + | + | + | + | - | - | - | - | - | - |
1,10 | + | + | + | + | + | + | + | + | + | + | + | + | + | + | + | + | + | + | + | + | + | + | + | + | + | + | + | - | - | - | - | - | - |
1,20 | + | + | + | + | + | + | + | + | + | + | + | + | + | + | + | + | + | + | + | + | + | + | + | + | + | + | + | - | - | - | - | - | - |
1,30 | + | + | + | + | + | + | + | + | + | + | + | + | + | + | + | + | + | + | + | + | + | + | + | + | + | + | + | + | + | + | + | + | + |
1,40 | + | + | + | + | + | + | + | + | + | + | + | + | + | + | + | + | + | + | + | + | + | + | + | + | + | + | + | + | + | + | + | + | + |
1,50 | + | + | + | + | + | + | + | + | + | + | + | + | + | + | + | + | + | + | + | + | + | + | + | + | + | + | + | + | + | + | + | + | + |
1,60 | + | + | + | + | + | + | + | + | + | + | + | + | + | + | + | + | + | + | + | + | + | + | + | + | + | + | + | + | + | + | + | + | + |
1,70 | + | + | + | + | + | + | + | + | + | + | + | + | + | + | + | + | + | + | + | + | + | + | + | + | + | + | + | + | + | + | + | + | + |
1,75 | + | + | + | + | + | + | + | + | + | + | + | + | + | + | + | + | + | + | + | + | + | + | + | + | + | + | + | + | + | + | + | + | + |
1,80 | + | + | + | + | + | + | + | + | + | + | + | + | + | + | + | + | + | + | + | + | + | + | + | + | + | + | + | + | + | + | + | + | + |
1,85 | + | + | + | + | + | + | + | + | + | + | + | + | + | + | + | + | + | + | + | + | + | + | + | + | + | + | + | + | + | + | + | + | + |
1,90 | + | + | + | + | + | + | + | + | + | + | + | + | + | + | + | + | + | + | + | + | + | + | + | + | + | + | + | + | + | + | + | + | + |
2,00 | + | + | + | + | + | + | + | + | + | + | + | + | + | + | + | + | + | + | + | + | + | + | + | + | + | + | + | + | + | + | + | + | + |
2,10 | + | + | + | + | + | + | + | + | + | + | + | + | + | + | + | + | + | + | + | + | + | + | + | + | + | + | + | + | + | + | + | + | + |
2,15 | + | + | + | + | + | + | + | + | + | + | + | + | + | + | + | + | + | + | + | + | + | + | + | + | + | + | + | + | + | + | + | + | + |
2,20 | + | + | + | + | + | + | + | + | + | + | + | + | + | + | + | + | + | + | + | + | + | + | + | + | + | + | + | + | + | + | + | + | + |
2,30 | - | + | + | + | + | + | + | + | + | + | + | + | + | + | + | + | + | + | + | + | + | + | + | + | + | + | + | + | + | + | + | + | + |
2,35 | - | + | + | + | + | + | + | + | + | + | + | + | + | + | + | + | + | + | + | + | + | + | + | + | + | + | + | + | + | + | + | + | + |
2,40 | - | + | + | + | + | + | + | + | + | + | + | + | + | + | + | + | + | + | + | + | + | + | + | + | + | + | + | + | + | + | + | + | + |
2,45 | - | + | + | + | + | + | + | + | + | + | + | + | + | + | + | + | + | + | + | + | + | + | + | + | + | + | + | + | + | + | + | + | + |
2,50 | - | + | + | + | + | + | + | + | + | + | + | + | + | + | + | + | + | + | + | + | + | + | + | + | + | + | + | + | + | + | + | + | + |
2,60 | - | - | - | - | - | + | + | + | + | + | + | + | + | + | + | + | + | + | + | + | + | + | + | + | + | + | + | + | + | + | + | + | + |
2,75 | - | - | - | - | - | - | - | + | + | + | + | + | + | + | + | + | + | + | + | + | + | + | + | + | + | + | + | + | + | + | + | + | + |
2,80 | - | - | - | - | - | - | - | + | + | + | + | + | + | + | + | + | + | + | + | + | + | + | + | + | + | + | + | + | + | + | + | + | + |
2,85 | - | - | - | - | - | - | - | - | + | + | + | + | + | + | + | + | + | + | + | + | + | + | + | + | + | + | + | + | + | + | + | + | + |
3,00 | - | - | - | - | - | - | - | - | + | + | + | + | + | + | + | + | + | + | + | + | + | + | + | + | + | + | + | + | + | + | + | + | + |
3,15 | - | - | - | - | - | - | - | - | - | - | + | + | + | + | + | + | + | + | + | + | + | + | + | + | + | + | + | + | + | + | + | + | + |
3,20 | - | - | - | - | - | - | - | - | - | - | - | - | + | + | + | + | + | + | + | + | + | + | + | + | + | + | + | + | + | + | + | + | + |
3,40 | - | - | - | - | - | - | - | - | - | - | - | - | + | + | + | + | + | + | + | + | + | + | + | + | + | + | + | + | + | + | + | + | + |
3,50 | - | - | - | - | - | - | - | - | - | - | - | - | + | + | + | + | + | + | + | + | + | + | + | + | + | + | + | + | + | + | + | + | + |
3,80 | - | - | - | - | - | - | - | - | - | - | - | - | + | + | + | + | + | + | + | + | + | + | + | + | + | + | + | - | - | - | - | - | - |
4,00 | - | - | - | - | - | - | - | - | - | - | - | - | - | + | + | + | + | + | + | + | + | + | + | + | + | + | + | - | - | - | - | - | - |
Примечания:
1. Знак "+" означает, что лента данного размера изготовляется, знак "-", что лента данного размера не изготовляется.
2. (Исключен, Изм. N 3).
3. Ленту шириной более 10 мм изготовляют по согласованию изготовителя с потребителем.
(Измененная редакция, Изм. N 1, 3).
1.1а. По требованию потребителя изготовляется лента промежуточных размеров по толщине и ширине с предельными отклонениями по ближайшему большему размеру.
(Введен дополнительно, Изм. N 3).
1.2. Предельные отклонения по толщине ленты должны соответствовать указанным в табл.2.
Таблица 2
мм | |||
Толщина ленты | Предельное отклонение по толщине ленты точности изготовления | ||
нормальной | повышенной | высокой | |
0,10-0,25 | -0,04 | -0,025 | -0,020 |
0,30-0,50 | -0,05 | -0,035 | -0,025 |
0,53-0,75 | -0,08 | -0,055 | -0,030 |
0,80-1,00 | -0,12 | -0,08 | -0,06 |
1,10-1,50 | -0,18 | -0,10 | -0,08 |
1,60-2,50 | -0,25 | -0,15 | -0,10 |
2,60-4,00 | -0,30 | -0,25 | -0,10 |
1.3. Предельные отклонения по ширине ленты должны соответствовать указанным в табл.3.
Таблица 3
мм | |||
Ширина ленты | Предельное отклонение по ширине ленты точности изготовления | ||
нормальной | повышенной | высокой | |
0,5-2,0 | -0,20 | -0,15 | -0,10 |
2,1-3,0 | -0,40 | -0,30 | -0,20 |
3,1-5,0 | -0,50 | -0,40 | -0,25 |
5,1-7,0 | -0,60 | -0,45 | -0,35 |
7,3-9,0 | -0,80 | -0,50 | -0,40 |
9,5-12,0 | -1,00 | -0,80 | -0,50 |
1.2, 1.3. (Измененная редакция, Изм. N 3, 4).
1.4. Лента изготовляется:
а) по состоянию поставки:
отожженная - О, ОП,
нагартованная - Г, Г1, Г2, Г3;
б) по точности изготовления:
по толщине
нормальной точности,
повышенной точности - ПТ,
высокой точности - ВТ,
по ширине
нормальной точности,
повышенной точности - ПШ,
высокой точности - ВШ;
в) по виду поверхности:
светлая,
темная - Ч.
(Измененная редакция, Изм. N 4).
Примеры условных обозначений
Лента из стали марки 65Г, нагартованная, нормальной точности по толщине и ширине, темная, размером 2,1х10 мм:
Лента 65Г-Г-Ч-2,1х10 ГОСТ 10234-77
То же, из стали марки 10, нагартованная, высокой точности по толщине и ширине, светлая, размером 0,5х2,5 мм:
Лента 10-Г-ВТ-ВШ-0,5х2,5 ГОСТ 10234-77
(Измененная редакция, Изм. N 3).
2. ТЕХНИЧЕСКИЕ ТРЕБОВАНИЯ
2.1. Ленту должны изготовлять в соответствии с требованиями настоящего стандарта по технологическому регламенту, утвержденному в установленном порядке, из стали марок 08, 08кп, 08пс, 10, 10кп, 10пс, 15, 15кп, 15пс, 20, 20кп, 20пс, 30, 40, 50 по ГОСТ 1050; 65Г по ГОСТ 14959; У7, У7А, У8, У8А, У9, У9А по ГОСТ 1435, 50Г по ГОСТ 4543.
2.2. Механические свойства ленты "отожженной О и нагартованной Г" должны соответствовать указанным в табл.4.
Таблица 4
Марка стали | Временное сопротивление | Относительное удлинение | Временное сопротивление |
Отожженной ленты | Нагартованной ленты | ||
08, 08кп, 08пс, | 440 (45) | 20 | 490-780 (50-80) |
10, 10кп, 10пс | |||
15, 15кп, 15пс, | 540 (55) | 15 | 490-830 (50-85) |
20, 20кп, 20пс | |||
30 | 590 (60) | 15 | 640-930 (65-95) |
40 | 690 (70) | 10 | 640-980 (65-100) |
50 | 740 (75) | 10 | 780-1130 (80-115) |
50Г, 65Г, У7, У7А | 780 (80) | 10 | 780-1270 (80-130) |
У8, У8А, У9, У9А | 780 (80) | 8 | 740-1270 (75-130) |
Относительное удлинение отожженной ленты определяют по требованию потребителя.
Нагартованная лента из стали марок 08кп, 10кп размером 0,50х2,5 мм для сшивки гофротары должна изготовляться с временным сопротивлением 780-1080 Н/мм (80-110 кгс/мм
).
2.1; 2.2. (Измененная редакция, Изм. N 3, 4).
2.2а. Временное сопротивление ленты отожженной ОП и нагартованной Г1, Г2, Г3 должно соответствовать указанному в табл.4а.
Таблица 4а
Марка стали | Временное сопротивление | Класс прочности | Временное сопротивление |
Отожженная лента | Нагартованная лента | ||
08, 08кп, 08пс, | 410 (42) | Г1 | 390-540 (40-55) |
10, 10кп, 10пс, | Г2 | 540-690 (55-70) | |
15, 15кп, 15пс, | Г3 | 690-830 (70-85) | |
20, 20кп, 20пс | |||
30 | 470 (48) | Г1 | 640-780 (65-80) |
Г2 | 780-930 (80-95) | ||
40 | 490 (50) | Г1 | 640-780 (65-80) |
Г2 | 780-930 (80-95) | ||
50 | 520 (53) | Г1 | 830-980 (85-100) |
Г2 | 980-1130 (100-115) | ||
65Г, У7, У7А, 50Г | 570 (58) | Г1 | 780-930 (80-95) |
Г2 | 930-1080 (95-110) | ||
Г3 | 1080-1230 (110-125) | ||
У8, У8А, У9, У9А | 620 (63) | Г1 | 780-930 (80-95) |
Г2 | 930-1080 (95-110) | ||
Г3 | 1080-1230 (110-125) | ||
(Введен дополнительно, Изм. N 3, 4).
2.3. На поверхности ленты не должно быть плен, закатов, расслоений, рисок, ржавчины. Не допускаются царапины, вмятины, отпечатки, раковины, глубина или высота которых для светлой ленты превышает половину предельного отклонения по толщине, а для темной ленты - предельное отклонение по толщине.
(Измененная редакция, Изм. N 3, 4).
2.4. Светлая лента должна иметь гладкую поверхность от светло-серого до темно-серого цвета. На поверхности светлой ленты допускаются остатки технологической смазки и омеднения. Цвет темной ленты не регламентируется.
Поверхность темной ленты может быть покрыта слоем сгоревшей смазки и пленкой окисла. Допускается наличие следов омеднения.
2.5. Кромки ленты должны иметь естественное закругление. Трещины и рванины на кромках не допускаются. Допускается подшлифовка кромок. На шлифованных кромках допускаются следы абразивной обработки и несошлифованные места в количестве не более 10 на моток (катушку).
2.6. Нагартованная лента из стали марки 50 для мебельной промышленности должна выдерживать испытание на изгиб по ребру на 90°. В месте изгиба не должно быть трещин, надрывов и расслоений.
2.7. По требованию потребителя, оговоренному в заказе, серповидность ленты не должна превышать 15 мм на 1 м длины для отожженной ленты и 10 мм на 1 м длины для ленты нагартованной.
2.6; 2.7. (Измененная редакция, Изм. N 3).
2.8. По требованию потребителя, оговоренному в заказе, лента из стали марок 65Г, У7, У7А, У8, У8А, У9, У9А должна проверяться на обезуглероживание. Нормы устанавливаются дополнительно по согласованию изготовителя с потребителем.
2.9. По требованию потребителя лента из инструментальной стали изготовляется отожженной на зернистый перлит.
(Измененная редакция, Изм. N 3).
2.10. Лента изготовляется в мотках или на катушках с внутренним диаметром от 120 до 600 мм.
Лента малых сечений (0,6х1,5 мм и менее) может поставляться в мотках (катушках) с внутренним диаметром не менее 60 мм.
Моток (катушка) должен состоять из одного отрезка. Перепутывание витков ленты не допускается. Допускается наличие в одном мотке (катушке) до трех отрезков ленты при условии, если минимальная масса каждого из отрезков отвечает требованиям табл.5.
Таблица 5
Толщина ленты, мм | Масса мотка или отрезка на катушке, кг, при ширине ленты, мм | ||||
0,5-1,0 | 1,1-3,0 | 3,1-6,0 | 6,1-8,0 | 9,5-12,0 | |
0,1-0,5 | 0,5 | 0,8 | 1,0 | - | - |
0,53-1,0 | 1,5 | 2,0 | 4,0 | 6,0 | 8,0 |
1,1-2,0 | - | 6,0 | 8,0 | 10,0 | 12,0 |
2,1-3,0 | - | 8,0 | 10,0 | 12,0 | 15,0 |
3,15-4,0 | - | - | 15,0 | 18,0 | 20,0 |
Места подмотки должны быть отмечены.
(Измененная редакция, Изм. N 2).
2.11. Минимальная масса мотка или отрезка на катушке должна соответствовать указанной в табл.5.
3. ПРАВИЛА ПРИЕМКИ
3.1. Ленту принимают партиями. Партия должна состоять из ленты одной марки стали, одной термообработки, точности изготовления, вида поверхности и размера и сопровождаться документом о качестве, содержащим:
наименование или товарный знак предприятия-изготовителя;
условное обозначение ленты;
номер плавки с указанием химического состава;
результаты контрольных испытаний;
число мотков (катушек) и массу нетто партии;
номер партии.
По согласованию изготовителя с потребителем в документе о качестве допускается не указывать результаты всех проведенных испытаний, а указывать "Продукция соответствует ГОСТ 10234-77".
(Измененная редакция, Изм. N 2, 3, 4).
3.2. Проверку внешнего вида и размеров проводят на каждом мотке (катушке) партии ленты.
(Измененная редакция, Изм. N 2).
3.3. От партии ленты, принятой по п.3.2, должно быть отобрано:
для проверки временного сопротивления - 10% мотков (катушек), но не менее трех мотков (катушек);
для проверки серповидности, изгиба, обезуглероживания и микроструктуры - 5% мотков (катушек), но не менее трех мотков (катушек);
для проверки химического состава стали - 3% мотков (катушек), но не менее двух мотков (катушек).
Относительное удлинение изготовитель определяет периодически по требованию потребителя на 10% мотков (катушек) от партии, но не менее трех мотков (катушек).
3.4. При получении неудовлетворительных результатов испытания хотя бы по одному из показателей по нему проводят повторные испытания на удвоенном количестве мотков (катушек) из числа не проходивших испытания.
Результаты повторных испытаний распространяются на всю партию.
3.3, 3.4. (Измененная редакция, Изм. N 3).
4. МЕТОДЫ ИСПЫТАНИЙ
4.1а. Для каждого вида испытаний должно быть взято по одному образцу от каждого отобранного мотка (катушки).
(Введен дополнительно, Изм. N 2).
4.1б. Качество поверхности и кромок ленты проверяют визуально без применения увеличительных приборов.
(Введен дополнительно, Изм. N 3).
4.1. Толщину и ширину ленты, величину дефектов измеряют при помощи микрометров ГОСТ 6507 или ГОСТ 4381 и других средств измерения соответствующей точности.
Величину дефекта определяют удалением его зачисткой с последующим сравнительным измерением в зачищенном и незачищенном местах.
(Измененная редакция, Изм. N 3).
4.2. Испытание ленты на растяжение должно проводиться по ГОСТ 11701. Расчетная длина образца для проверки относительного удлинения должна быть 50 мм.
4.3. Серповидность должна проверяться при совмещении кромок образца ленты длиной 1 м с прямой линией. Измерение проводят линейкой по ГОСТ 427 в месте наибольшей кривизны.
(Измененная редакция, Изм. N 3).
4.4. Испытание ленты на изгиб должно проводиться в соответствии с методикой, приведенной в приложении.
4.4а. Контроль микроструктуры ленты, отожженной на зернистый перлит, - по шкале 2 ГОСТ 8233.
(Введено дополнительно, Изм. N 3).
4.5. Контроль обезуглероженного слоя ленты должен производиться по ГОСТ 1763.
4.6. Химический состав металла ленты удостоверяется сертификатом предприятия - изготовителя металла.
В случае необходимости, марки стали, из которой изготовлена лента, определяются по ГОСТ 22536.0 - ГОСТ 22536.8.
4.7. Взвешивание грузовых мест в партии, а также при необходимости мотков (катушек) проводится на весах по ГОСТ 29329 или других весах, обеспечивающих точность взвешивания до 1%.
(Введен дополнительно, Изм. N 3).
5. УПАКОВКА, МАРКИРОВКА, ТРАНСПОРТИРОВАНИЕ И ХРАНЕНИЕ
5.1. Каждый моток должен быть перевязан не менее чем в трех местах мягкой металлической проволокой или лентой по ГОСТ 3282, ГОСТ 3560 или другой нормативно-технической документации.
Наружный конец ленты должен быть надежно закреплен.
(Измененная редакция, Изм. N 4).
5.2. Лента должна быть покрыта одним из составов, предохраняющих ленту от коррозии: смесь ЖБК и индустриального масла (ГОСТ 20799) в соотношении 1:1, смесь консервационного масла НГ-203А и индустриального масла (ГОСТ 20799) в соотношении 1:1, индустриальное масло (ГОСТ 20799) плюс 15% присадки АКОР-1 (ГОСТ 15171) или другими видами консервационных масел или смесями с другим соотношением компонентов, защитные свойства которых равноценны перечисленным.
(Измененная редакция, Изм. N 1).
5.3. Мотки (катушки) ленты толщиной 0,30 мм и менее должны быть обернуты слоем бумаги и упакованы в деревянные ящики типа II по ГОСТ 18617 или другой нормативно-технической документации, бочки стальные по ГОСТ 13950 или другую металлическую тару - по нормативно-технической документации.
Мотки (катушки) ленты толщиной свыше 0,30 мм должны быть обернуты слоем бумаги, затем слоем полимерной пленки или ткани и обвязаны проволокой или лентой по ГОСТ 3282, ГОСТ 3560 или другой нормативно-технической документации. При механизированном способе упаковывания мотки ленты должны быть обернуты слоем бумаги по ГОСТ 10396 или другой крепированной бумаги, равноценной по защитным свойствам - по нормативно-технической документации, с одновременным фиксированием бумаги проволокой по ГОСТ 3282 или другой нормативно-технической документации.
В качестве упаковочных материалов применяют:
бумагу парафинированную по ГОСТ 9569*;
______________
* На территории Российской Федерации действует ГОСТ 9569-2006. - Примечание изготовителя базы данных.
бумагу двухслойную упаковочную по ГОСТ 8828;
бумагу промасленную по ГОСТ 8273 и другую, обеспечивающую защиту от коррозии, - по нормативно-технической документации;
пленку полимерную по ГОСТ 10354, ГОСТ 16272 и другую - по нормативно-технической документации;
тарное холстопрошивное полотно - по нормативно-технической документации; другие виды паковочных тканей, не ухудшающих качества упаковки и исключающих применение хлопчатобумажных и льняных тканей, - по нормативно-технической документации, а также сшивной лоскут из отходов текстильной промышленности.
Ленту транспортируют транспортом всех видов в крытых транспортных средствах или в универсальных контейнерах по ГОСТ 22225, ГОСТ 20435, ГОСТ 15102 в соответствии с правилами перевозок грузов, действующими на транспорте данного вида.
При транспортировании в универсальных контейнерах допускается упаковывание ленты в бумагу, за исключением промасленной.
(Измененная редакция, Изм. N 2, 3, 4).
5.3а. Лента, отправляемая в районы Крайнего Севера и труднодоступные районы, должна упаковываться в соответствии с требованиями настоящего стандарта.
(Введен дополнительно, Изм. N 4).
5.4. Масса брутто грузового места не должна превышать 500 кг. По требованию потребителя масса брутто грузового места не должна превышать 80 кг.
Укрупнение грузовых мест в транспортные пакеты должно проводиться по ГОСТ 21650, ГОСТ 26663, ГОСТ 24597. Допускается формирование пакетов без применения поддонов.
(Измененная редакция, Изм. N 4).
5.5. К каждому мотку (катушке) и грузовому месту должен быть прикреплен ярлык, на котором указывают:
товарный знак и (или) наименование предприятия-изготовителя;
условное обозначение ленты;
штамп технического контроля;
номер партии.
(Измененная редакция, Изм. N 3, 4).
5.5а. Транспортная маркировка - по ГОСТ 14192.
(Введен дополнительно, Изм. N 3).
5.6. (Исключен, Изм. N 2).
5.7. Хранение ленты должно соответствовать условиям 2 ГОСТ 15150.
(Введен дополнительно, Изм. N 4).
ПРИЛОЖЕНИЕ (справочное). МЕТОДИКА ПРОВЕДЕНИЯ ИСПЫТАНИЯ ПЛЮЩЕНОЙ ЛЕНТЫ НА ИЗГИБ
ПРИЛОЖЕНИЕ
Справочное
1. МЕТОДИКА ПРОВЕДЕНИЯ ИСПЫТАНИЯ ПЛЮЩЕНОЙ ЛЕНТЫ НА ИЗГИБ
1.1. Для проведения испытания на изгиб берут отрезки ленты, отобранные по п.3.3 настоящего стандарта.
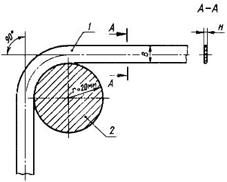
1.2. Испытание отобранных образцов ленты на изгиб проводят на приспособлении конструкции Московского мебельного комбината с радиусом гибочного ролика 20 мм. Схема прибора для испытания приведена на черт.1.

1 - образец после испытания; 2 - гибочный ролик;
В - ширина ленты; Н - толщина ленты
Черт.1
1.3. Образцы плющеной ленты должны выдерживать испытание на ребровый изгиб в положении, показанном на черт.1. Угол изгиба принимается равным 90°.
1.4. Лента считается выдержавшей испытание на изгиб, если после испытания образцов в местах изгиба при визуальном осмотре не обнаруживается трещин, надрывов и расслоений.
1.5. Схема прибора для испытания плющеной ленты на ребровый изгиб приведена на черт.2.

1 - винт;
2 - рукоятка; 3 - огибающий ролик; 4 - гибочный ролик; 5 - скоба
Черт.2
Ленту вставляют в прорез гибочного ролика, зажимают винтом, а огибающий ролик, который закреплен на рукоятке, прижимает ленту к гибочному ролику. Поворотом рукоятки производится изгиб на 90°.
ПРИЛОЖЕНИЕ. (Измененная редакция, Изм. N 3).
Электронный текст документа
подготовлен АО "Кодекс" и сверен по:
официальное издание
Стальной прокат. Ленты: Сб. ГОСТов. -
М.: ИПК Издательство стандартов, 2003
Разместите заказ
сами сделают вам предложение
