ГОСТы сталей. ГОСТ 18662-83
ГОСТ 18662-83
Группа В22
МЕЖГОСУДАРСТВЕННЫЙ СТАНДАРТ
ПРОФИЛИ ГОРЯЧЕКАТАНЫЕ СВП ДЛЯ КРЕПИ ГОРНЫХ ВЫРАБОТОК
Сортамент
СВП hot-rolled section for mine timbering. Dimensions
МКС 77.140.70
ОКП 09 3100
Дата введения 1985-01-01
ИНФОРМАЦИОННЫЕ ДАННЫЕ
1. РАЗРАБОТАН И ВНЕСЕН Министерством черной металлургам СССР
2. УТВЕРЖДЕН И ВВЕДЕН В ДЕЙСТВИЕ Постановлением Государственного комитета СССР по стандартам от 13.04.83 N 1756
3. ВЗАМЕН ГОСТ 18662-73
4. Ограничение срока действия снято по протоколу N 4-93 Межгосударственного совета по стандартизации, метрологии и сертификации (ИУС 4-94)
5. ИЗДАНИЕ (октябрь 2012 г.) с Изменением N 1, утвержденным в марте 1989 г. (ИУС 6-89)
1. Настоящий стандарт устанавливает сортамент горячекатаных профилей СВП (специальные взаимозаменяемые профили), предназначенных для крепи горных выработок.
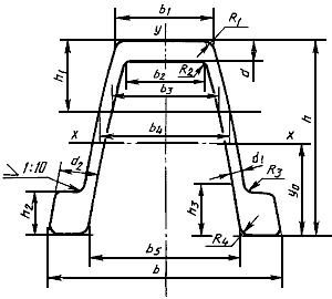
2. Поперечное сечение профиля должно соответствовать указанному на чертеже.

3. Размеры профиля, площадь поперечного сечения, линейная плотность и справочные значения для осей приведены в табл.1.
Таблица 1
Номер профиля | |||||||||||||
мм | |||||||||||||
СВП 14 | 88,0 | 42,0 | 21,0 | 26,0 | 121,0 | 55,0 | 46,5 | 67,2 | 78,0 | 84,4 | 7,8 | 5,4 | 18,0 |
СВП 17 | 94,0 | 45,5 | 23,0 | 28,0 | 131,5 | 60,0 | 51,0 | 73,4 | 84,6 | 91,5 | 8,5 | 5,7 | 19,7 |
СВП 19 | 102,0 | 44,0 | 24,0 | 29,0 | 136,0 | 60,0 | 51,0 | 71,5 | 83,5 | 94,0 | 9,5 | 6,0 | 20,6 |
СВП 22 | 110,0 | 44,0 | 25,5 | 30,5 | 145,5 | 60,0 | 51,5 | 71,0 | 83,5 | 99,5 | 11,0 | 6,2 | 22,5 |
СВП 27 | 123,0 | 47,0 | 29,0 | 34,0 | 149,5 | 59,5 | 50,6 | 69,5 | 83,5 | 99,5 | 13,0 | 7,1 | 24,5 |
СВП 33 | 137,0 | 50,0 | 32,0 | 38,0 | 166,0 | 66,0 | 56,0 | 76,0 | 91,5 | 110,0 | 14,5 | 7,9 | 27,5 |
Продолжение табл.1
Номер | Площадь поперечного | Линейная плотность, кг/м | Справочные значения для осей | |||||||||
мм |
|
|
|
|
| |||||||
СВП 14 | 6,0 | 7,0 | 5,0 | 6,0 | 42,7 | 18,7 | 14,7 | 184,0 | 40,7 | 55 | 282,3 | 46,1 |
СВП 17 | 6,0 | 7,0 | 5,0 | 6,0 | 45,6 | 21,73 | 17,1 | 243,4 | 50,3 | 69 | 382,3 | 57,9 |
СВП 19 | 6,0 | 8,0 | 5,0 | 6,0 | 49,3 | 24,44 | 19,2 | 322,8 | 61,3 | 83 | 464,0 | 67,0 |
СВП 22 | 6,0 | 8,0 | 5,0 | 6,0 | 52,7 | 27,91 | 21,9 | 428,6 | 74,8 | 99 | 566,3 | 77,8 |
СВП 27 | 6,0 | 10,0 | 5,0 | 6,0 | 58,5 | 34,37 | 27,0 | 646,1 | 100,2 | 137 | 731,5 | 97,8 |
СВП 33 | 6,0 | 11,0 | 6,0 | 7,0 | 64,8 | 42,53 | 33,39 | 999,5 | 138,5 | 190 | 1228,0 | 148,0 |
Примечания:
1. Площадь поперечного сечения и линейная плотность профиля вычислены по номинальным размерам; при вычислении линейной плотности плотность стали принята равной 7,85·10 кг/м
.
2. Радиусы закруглений и размеры без предельных отклонений даны для построения калибра.
2, 3. (Измененная редакция, Изм. N 1).
4. Предельные отклонения по размерам не должны превышать значений, указанных в табл.2.
Таблица 2
Номер профиля | Предельное отклонение, мм | ||||||
|
|
|
| ||||
СВП 14, СВП 17 | +1,0 | +1,0 | ±0,7 | ±0,7 | +1,0 | ±1,5 | +0,5 |
СВП 19 | ±0,8 | ±0,8 | +0,5 | ||||
СВП 22, | ±1,0 | ±1,0 | +0,5 | ||||
СВП 27 | ±1,2 | ||||||
СВП 33 | ±1,4 | ±1,2 | +1,0 | +0,5 | |||
5. Разность по толщине сечения боковых стенок на одинаковом расстоянии от основания профиля не должна превышать 0,5 мм.
6. (Исключен, Изм. N 1).
7. Профиль изготовляется мерной длины от 9 до 12 м, оговариваемой в заказе.
8. Предельные отклонения по длине профиля мерной или кратной мерной длины не должны превышать:
+40 мм - при длине до 8 м;
+80 мм - при длине св. 8 м.
По требованию потребителя:
+40 мм - при длине до 7 м;
+5 мм - на каждый метр длины - при длине свыше 7 м.
9. Кривизна профиля в горизонтальной и вертикальной плоскостях не должны превышать:
1% длины - для 1 класса;
1,5% длины - для 2 класса.
Кривизна измеряется в положении профиля вниз полками.
7-9. (Измененная редакция, Изм. N 1).
10. Скручивание профиля вокруг продольной оси не допускается. Профиль считается скрученным, если при укладке его фланцами (утолщениями боковых стенок) на контрольную плиту разность расстояний противоположных фланцев от контрольной плиты превышает 0,05% длины проверяемого отрезка профиля. Длина отрезка профиля должна быть не менее 4 м.
11. Размеры проверяются на расстоянии не менее 500 мм от торца профиля. Высота профиля измеряется по оси .
12. Предельные отклонения по линейной плотности одного профиля не должны превышать %. Предельные отклонения проверяются предприятием-изготовителем взвешиванием профилей массой 20-60 т от каждых 400-600 т проката или профиля длиной не менее 300 мм, отбираемых при прокатке не реже чем через каждые 100 прокатанных штанг.
Электронный текст документа
подготовлен АО "Кодекс" и сверен по:
официальное издание
Стальной листовой прокат.
Сортамент: Сб. ГОСТов. -
М.: Стандартинформ, 2012
Разместите заказ
сами сделают вам предложение
