ГОСТы сталей. ГОСТ 14635-93
ГОСТ 14635-93
Группа В22
МЕЖГОСУДАРСТВЕННЫЙ СТАНДАРТ
ПРОФИЛИ СТАЛЬНЫЕ ГНУТЫЕ СПЕЦИАЛЬНЫЕ ДЛЯ ВАГОНОСТРОЕНИЯ
Сортамент
Steel cold-shaped special profiles for car building. Dimensions
МКС 77.140.70
ОКП 11 2000
11 2100
Дата введения 1997-01-01
Предисловие
1 РАЗРАБОТАН Украинским научно-исследовательским институтом металлов
ВНЕСЕН Госстандартом Украины
2 ПРИНЯТ Межгосударственным советом по стандартизации, метрологии и сертификации (протокол N 3 от 17 сентября 1993 г.)
За принятие проголосовали:
Наименование государства | Наименование национального органа по стандартизации |
Республика Армения | Армгосстандарт |
Республика Белоруссия | Белстандарт |
Республика Казахстан | Казглавстандарт |
Республика Молдова | Молдовастандарт |
Российская Федерация | Госстандарт России |
Туркменистан | Туркменглавгосинспекция |
Республика Узбекистан | Узгосстандарт |
Украина | Госстандарт Украины |
3 Постановлением Государственного комитета Российской Федерации по стандартизации, метрологии и сертификации от 19 июня 1996 г. N 379 межгосударственный стандарт ГОСТ 14635-93 введен в действие непосредственно в качестве государственного стандарта Российской Федерации с 1 января 1997 г.
4 ВЗАМЕН ГОСТ 14635-79
5 ПЕРЕИЗДАНИЕ. Октябрь 2012 г.
1 Настоящий стандарт распространяется на стальные гнутые специальные профили для вагоностроения, изготовляемые на профилегибочных агрегатах из холоднокатаного и горячекатаного листового проката из углеродистой стали обыкновенного качества, углеродистой качественной конструкционной и низколегированной.
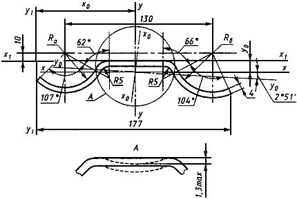
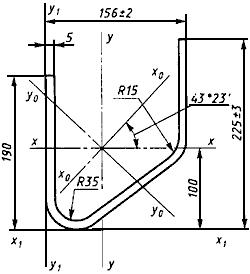
2 Поперечное сечение профилей, размеры и предельные отклонения по размерам должны соответствовать указанным на рисунках 1-17.

Рисунок 1 - Профиль N 1

Рисунок 2 - Профиль N 2

Рисунок 3 - Профиль N 3

Рисунок 4 - Профиль N 4

Рисунок 5 - Профиль N 5

Рисунок 6 - Профиль N 6

Рисунок 7 - Профиль N 7

Рисунок 8 - Профиль N 8

Рисунок 9 - Профиль N 9

Рисунок 10 - Профиль N 10

Рисунок 11 - Профиль N 11

Рисунок 12 - Профиль N 12

Рисунок 13 - Профиль N 13

Рисунок 14 - Профиль N 14

Рисунок 15 - Профиль N 15

Рисунок 16 - Профиль N 16

Рисунок 17 - Профиль N 17
Примечания
1 Размеры профилей и радиусы кривизны, на которые не установлены предельные отклонения, контролируют при расточке валков и обеспечивают технологией изготовления.
2 Размер 75±3 профиля N 3 контролируют при расточке валков.
3 Для профиля N 4 радиусу , равному 30 мм, должен соответствовать радиус
, равный 36 мм; радиусу
, равному 31 мм, - радиус
, равный 37 мм; радиусу
, равному 32 мм, - радиус
, равный 38 мм.
4 Для профиля N 17 разность ширины полок не должна превышать 2 мм, неплоскостность стенки - 1 мм.
3 Площадь поперечного сечения, координаты центра тяжести, справочные значения величин и масса 1 м профиля должны соответствовать указанным в таблицах 1 и 2.
Таблица 1
Номер про- филя | Пло- щадь сече- ния, см | Координаты центра тяжести, см | Справочные значения величин для осей | Момент инер- ции | Масса 1 м, кг | ||||||||||||||||||
|
|
|
| ||||||||||||||||||||
Момент инер- ции | Момент сопро- тивле- ния | Радиус инер- ции | Момент инерции | Момент сопро- тивле- ния | Радиус инер- ции | Момент инер- ции | Момент сопро- тивле- ния | Радиус инер- ции | Момент инер- ции | Момент сопро- тивле- ния | Радиус инер- ции | Момент инер- ции | Момент сопро- тивле- ния | Радиус инер- ции | Момент инер- ции | Момент сопро- тивле- ния | Радиус инер- ции | ||||||
1 | 25,05 | 8,45 | 4,36 | 568,56 | 55,73 | 4,76 | 2697,51 | 141,60 | 10,38 | 1647,66 | 76,99 | 8,11 | 3882,29 | 137,67 | 12,45 | 1170,58 | 68,71 | 6,84 | 2095,49 | 106,08 | 9,15 | -958,77 | 19,66 |
2 | 10,22 | 2,50 | 5,31 | 91,60 | 14,14 | 2,99 | 53,00 | 12,69 | 2,28 | 375,45 | 39,52 | 6,06 | 121,54 | 17,12 | 3,45 | 87,03 | 16,38 | 2,92 | 57,58 | 12,52 | 2,37 | -12,48 | 8,45 |
3 | 6,22 | 4,79 | 3,64 | 2,24 | 1,20 | 0,60 | 72,47 | 12,29 | 3,41 | 97,72 | 13,03 | 3,96 | 202,25 | 22,73 | 5,70 | 15,46 | 4,00 | 1,58 | 59,25 | 12,36 | 3,09 | 27,45 | 4,88 |
4 | 7,92 | 8,94 | 0,97 | 7,00 | 1,55 | 0,94 | 204,71 | 22,86 | 5,08 | 14,92 | 3,73 | 1,37 | 837,09 | 46,85 | 10,28 | 7,52 | 1,51 | 0,97 | 204,19 | 22,87 | 5,08 | -10,15 | 6,22 |
5 | 9,94 | 7,41 | 4,07 | 59,33 | 9,99 | 2,44 | 119,83 | 15,05 | 3,47 | 230,57 | 37,94 | 4,82 | 659,02 | 48,10 | 8,14 | 65,79 | 16,16 | 2,57 | 113,37 | 15,30 | 3,38 | -18,68 | 7,80 |
6 | 25,14 | 0 | 3,22 | 67,94 | 21,12 | 1,64 | 4596,73 | 229,86 | 13,52 | 328,10 | 59,22 | 3,61 | 4596,73 | 229,86 | 13,52 | 67,94 | 21,12 | 1,64 | 4596,73 | 229,86 | 13,52 | 0 | 19,73 |
7 | 34,32 | 0 | 1,69 | 45,42 | 26,85 | 1,15 | 122256,21* | 377,11 | 18,90 | 143,74 | 47,91 | 2,05 | 12256,21 | 377,11 | 18,90 | 45,42 | 26,85 | 1,15 | 12256,21 | 377,11 | 18,90 | 0 | 26,94 |
8 | 23,68 | 0 | 3,10 | 95,33 | 30,80 | 2,01 | 6759,51 | 270,38 | 16,89 | 322,22 | 43,0 | 3,69 | 6759,51 | 270,38 | 16,90 | 322,22 | 43,0 | 3,69 | 6759,51 | 270,38 | 16,90 | 0 | 19,59 |
9 | 6,72 | 4,45 | 6,50 | 1,68 | 1,18 | 0,50 | 145,36 | 18,65 | 4,65 | 363,32 | 27,95 | 7,35 | 200,73 | 22,55 | 5,46 | 79,39 | 12,21 | 3,44 | 67,65 | 15,20 | 3,17 | 71,60 | 5,27 |
10 | 19,91 | 75,16 | 44,10 | 122,46 | 21,62 | 2,48 | 593,20 | 73,22 | 5,46 | 536,88 | 67,11 | 5,19 | 1691,05 | 110,53 | 9,22 | 149,60 | 33,92 | 2,74 | 566,06 | 72,72 | 5,33 | 109,71 | 15,63 |
11 | 16,12 | 88,19 | 41,90 | 120,56 | 18,93 | 2,73 | 496,49 | 47,13 | 5,55 | 3736,80 | 139,14 | 5,43 | 1678,79 | 99,91 | 10,20 | 192,76 | 24,19 | 3,85 | 424,30 | 48,11 | 5,03 | 148,08 | 12,66 |
12 | 24,22 | 72,86 | 94,23 | 637,58 | 53,29 | 7,39 | 1323,22 | 88,07 | 7,39 | 3539,40 | 138,36 | 11,34 | 2285,53 | 146,51 | 9,71 | 961,12 | 75,50 | 6,29 | 999,68 | 120,25 | 6,43 | 342,28 | 19,01 |
13 | 17,5 | 115,73 | 20,08 | 111,49 | 6,71 | 2,52 | 1057,62 | 148,91 | 7,77 | 539,58 | 53,16 | 5,55 | 3044,49 | 152,22 | 13,19 | 468,94 | 32,32 | 5,18 | 700,18 | 60,50 | 6,33 | 458,72 | 13,74 |
14 | 20,63 | 80,57 | 40,76 | 143,88 | 20,08 | 2,64 | 926,55 | 82,2 | 6,70 | 507,58 | 50,76 | 4,96 | 2244,87 | 121,34 | 10,43 | 164,88 | 27,83 | 2,83 | 905,55 | 86,72 | 6,23 | 126,47 | 16,19 |
15 | 15,38 | 6,79 | 5,88 | 175,73 | 22,57 | 3,38 | 594,32 | 51,20 | 6,21 | 329,34 | 31,03 | 4,63 | 440,72 | 64,87 | 5,35 | 862,07 | 52,25 | 7,49 | 1150,68 | 86,52 | 8,65 | 816,74 | 12,08 |
16 | 8,83 | 7,40 | 7,67 | 30,36 | 7,44 | 1,64 | 505,90 | 42,37 | 6,71 | 112,14 | 14,61 | 3,16 | 424,13 | 42,42 | 6,14 | 774,14 | 52,56 | 8,29 | 1040,54 | 59,80 | 9,62 | 818,25 | 8,83 |
________________
* Значение соответствует оригиналу. - Примечание изготовителя базы данных.
Таблица 2
Номер про- филя | Пло- щадь сече- ния, | Справочные значения величин осей | Масса 1 м, кг | |||||||||
Расстоя- | ||||||||||||
Момент инер- ции | Момент сопро- тивления | Радиус инерции | Момент инерции | Момент сопротив- ления | Радиус инерции | Стати- ческий момент полусе- чения | ||||||
17 | 10 | 3 | 4,94 | 12,92 | 4,35 | 1,62 | 10,37 | 5,76 | 1,45 | 1,03 | 2,23 | 3,88 |
Примечания
1 Площадь поперечного сечения, масса 1 м длины профиля и справочные значения величин для осей вычислены по номинальным размерам. Плотность стали - 7,85 г/см;
2
- отношение расчетного веса полки к толщине профиля;
3
- отношение расчетной высоты стенки к толщине профиля,
где - ширина полки, мм;
- высота стенки, мм;
- толщина полки, мм;
- радиус кривизны, мм.
4 Профили изготовляют длиной от 3 до 11,8 м:
мерной длины;
мерной длины с немерной в количестве не более 10% массы партии;
кратной мерной длины;
кратной мерной длины с немерной в количестве не более 10% массы партии;
немерной длины.
Длину профилей оговаривают в заказе.
5 Предельные отклонения по длине профилей мерной и кратной мерной длины не должны превышать:
+40 мм - для профилей длиной до 6 м;
+80 мм - для профилей длиной свыше 6 м.
По требованию потребителя для профилей длиной до 7 м предельные отклонения по длине - +40 мм, свыше 7 м - +40 и +5 мм - на каждый метр длины.
6 Скручивание профилей вокруг продольной оси не должно превышать произведения 1° на длину профиля в метрах и не может быть более 10°.
7 Волнистость полок профилей не должна превышать 2 мм на 1 м.
8 Кривизна симметричных профилей не должна превышать 0,1% длины профиля, несимметричных - 0,15%.
9 Коробоватость симметричных профилей N 5-8 не должна превышать 2 мм на 1 м.
10 Определение размеров поперечного сечения, а также скручивания, кривизны и коробоватости проводят на расстоянии не менее 500 мм от торцов при поштучном профилировании, не менее 300 мм - при непрерывном.
_______________________________________________________________________________________
УДК 669.14:006.354 МКС 77.140.70 В22 ОКП 11 2000
11 2100
Ключевые слова: профили, поперечное сечение, размеры, предельные отклонения
_______________________________________________________________________________________
Электронный текст документа
подготовлен АО "Кодекс" и сверен по:
официальное издание
Стальной листовой прокат.
Сортамент: Сб. ГОСТов. -
М.: Стандартинформ, 2012
Разместите заказ
сами сделают вам предложение
