ГОСТы сталей. ГОСТ 27069-86
ГОСТ 27069-86
Группа В19
МЕЖГОСУДАРСТВЕННЫЙ СТАНДАРТ
ФЕРРОСПЛАВЫ, ХРОМ И МАРГАНЕЦ МЕТАЛЛИЧЕСКИЕ
Методы определения углерода
Ferroalloys, metal chromium and metal manganese.
Methods for determination of carbon
ОКСТУ 0809
Дата введения 1988-01-01
ИНФОРМАЦИОННЫЕ ДАННЫЕ
1. РАЗРАБОТАН И ВНЕСЕН Министерством черной металлургии СССР
РАЗРАБОТЧИКИ
Н.П.Поздеев, Н.А.Чирков, В.Л.Зуева, Г.И.Гусева
2. УТВЕРЖДЕН И ВВЕДЕН В ДЕЙСТВИЕ Постановлением Государственного комитета СССР по стандартам от 30.10.86 N 3338
Изменение N 2 принято Межгосударственным Советом по стандартизации, метрологии и сертификации 15.04.94 по переписке (отчет Технического секретариата N 2)
За принятие проголосовали:
Наименование государства | Наименование национального органа |
Республика Беларусь | Госстандарт Беларуси |
Республика Казахстан | Госстандарт Республики Казахстан |
Республика Молдова | Молдовастандарт |
Российская Федерация | Госстандарт России |
Туркменистан | Главная государственная инспекция Туркменистана |
Украина | Госстандарт Украины |
3. ВЗАМЕН ГОСТ 13020.2-85, ГОСТ 13151.3-82, ГОСТ 13201.4-77, ГОСТ 13217.2-79, ГОСТ 13230.2-81, ГОСТ 14021.2-78, ГОСТ 14250.2-80, ГОСТ 14638.7-81, ГОСТ 14858.1-81, ГОСТ 15933.1-70, ГОСТ 16591.1-71, ГОСТ 16698.2-71, ГОСТ 17001.1-71, ГОСТ 21600.1-76 ГОСТ, 21876.2-76
4. Стандарт соответствует СТ СЭВ 5284-85 в части определения углерода в ферросплавах, металлических хроме и марганце
5. ССЫЛОЧНЫЕ НОРМАТИВНО-ТЕХНИЧЕСКИЕ ДОКУМЕНТЫ
Обозначение НТД, на который дана ссылка | Номер пункта |
ГОСТ 860-75 | 2.2; 3.2 |
ГОСТ 3776-78 | 3.2 |
ГОСТ 4140-74 | 2.2 |
ГОСТ 4199-76 | 2.2 |
ГОСТ 4204-77 | 3.2 |
ГОСТ 4207-75 | 2.2 |
ГОСТ 4233-77 | 3.2 |
ГОСТ 4234-77 | 2.2 |
ГОСТ 4470-79 | 2.2; 3.2 |
ГОСТ 6613-86 | 1.2 |
ГОСТ 9147-80 | 2.2, 3.2 |
ГОСТ 9656-75 | 2.2 |
ГОСТ 16539-79 | 2.2; 3.2 |
ГОСТ 20490-75 | 3.2 |
ГОСТ 23916-79 | 1.2 |
ГОСТ 24363-80 | 3.2 |
ГОСТ 28473-90 | 1.1 |
6. Ограничение срока действия снято по протоколу N 2-92 Межгосударственного Совета по стандартизации, метрологии и сертификации (ИУС 2-93)
7. ПЕРЕИЗДАНИЕ (июнь 1999 г.) с Изменениями N 1, 2, утвержденными в октябре 1990 г., декабре 1995 г. (ИУС 6-90, 3-96)
Настоящий стандарт устанавливает методы определения углерода в ферросплавах, металлических хроме и марганце: кулонометрический и инфракрасно-абсорбционный (при массовой доле углерода от 0,002 до 10,0%) и газообъемный (при массовой доле углерода от 0,01 до 10,0%).
Стандарт соответствует СТ СЭВ 5284-85 в части определения углерода в ферросплавах, металлических хроме и марганце.
1. ОБЩИЕ ТРЕБОВАНИЯ
1. ОБЩИЕ ТРЕБОВАНИЯ
1.1. Общие требования к методам анализа - по ГОСТ 28473.
(Измененная редакция, Изм. N 2).
1.2. Лабораторная проба должна быть приготовлена в соответствии с табл.1, с размером частиц, проходящих через сито с сеткой по ГОСТ 6613.
Таблица 1
Анализируемый материал | Характеристика лабораторной пробы | Размер стороны ячейки в свету, мм (номер сетки) |
Феррониобий, феррохром углеродистый и азотированный, с массовой долей азота 4% и более | Порошок | 0,080 |
Феррохром остальных марок | Стружка толщиной не более 0,2 мм, размельченная в агатовой ступке | 1,600 |
Ферросиликохром, ферросиликоцирконий, ферросилиций, ферросиликомарганец, ферромарганец, ферротитан, ферромолибден, феррованадий, ферровольфрам, силикокальций, ферробор, марганец металлический и азотированный | Порошок | 0,160 |
Хром металлический | Стружка толщиной не более 0,5 мм, подготовленная по ГОСТ 23916 | - |
2. КУЛОНОМЕТРИЧЕСКИЙ МЕТОД
2.1. Сущность метода
Метод основан на сжигании навески ферросплава или металла в потоке кислорода при температуре, приведенной в табл.2. Образовавшийся при сжигании углекислый газ вытесняется потоком кислорода в сосуд, содержащий поглотительный раствор с определенным начальным значением рН.
Таблица 2
Условия определения углерода в ферросплавах, металлических хроме и марганце
Анализи- | Метод определения | Диапазон определяемых концентраций, | Масса наве- | Применяемые плавни | Соот- | Соот- | Способ подготовки | Рабочая темпе- ратура сжига- |
Марганец металли- | Кулонометри- | От 0,005 до 0,30 | 0,5 | Окись меди | - | 1:1 | Навеску пробы помещают в лодочку, добавляют плавень и перемешивают | 1300±20 |
Газо- | От 0,01 до 0,30 | 1,0 | Окись меди | - | 1:1 | |||
Инфракрасно- | От 0,005 до 0,30 | Анализ проводят согласно прилагаемой инструкции к прибору | ||||||
Хром металли- | Кулонометри- | От 0,002 до 0,06 | 0,5 | Смесь железа с оловом или | 2:1 | 1:4 | Навеску пробы помещают в лодочку, добавляют плавень и перемешивают | 1375±25 |
смесь окиси меди в виде проволоки с железом, или | 2:1 | 1:4 | ||||||
смесь пятиокиси ванадия с железом | 1:5 | 1:2 | ||||||
Газо- | От 0,01 до 0,06 | 1,0 | Смесь железа с оловом или | 2:1 | 1:4 | |||
смесь окиси меди в виде проволоки с железом, или | 2:1 | 1:4 | ||||||
смесь пятиокиси ванадия с железом | 1:5 | 1:2 | ||||||
Инфракрасно- | От 0,002 до 0,06 | Анализ проводят согласно прилагаемой к прибору инструкции | ||||||
Ферро- | Кулонометри- | От 0,05 до 1,2 | 0,5 | Окись меди | 1:1 | Навеску пробы помещают в лодочку, прибавляют плавень и перемешивают | 1300±20 | |
Газо- | От 0,05 до 1,2 | 1,0 | Окись меди | 1:1 | ||||
Инфракрасно- | От 0,05 до 1,2 | Анализ проводят согласно прилагаемой к прибору инструкции | ||||||
Ферро- | Кулонометри- | От 0,3 до 4,0 | 0,5 | Окись меди | 1:1 | Навеску пробы помещают в лодочку, прибавляют плавень и перемешивают | 1300±20 | |
Св. 4,0 " 8,0 | 0,25 | 1:2 | ||||||
Газо- | От 0,3 до 1,2 | 1,0 | Окись меди | 1:1 | ||||
Св. 1,2 " 2,4 | 0,5 | 1:1 | ||||||
" 2,4 " 5,0 | 0,25 | 1:2 | ||||||
" 5,0 " 8,0 | 0,2 | 1:3 | ||||||
Инфракрасно- | От 0,3 до 8,0 | Анализ проводят согласно прилагаемой к прибору инструкции | ||||||
Ферро- | Кулонометри- | От 0,01 до 0,6 | 0,5 | Окись меди или | 3:1 | 1:2 | Навеску помещают в лодочку, прибавляют плавень и перемешивают | 1325±25 |
смесь окиси меди с железом | 1:2 | |||||||
Газо- | От 0,01 до 0,6 | 1,0 | Окись меди или | 3:1 | 1:2 | |||
смесь окиси меди с железом | 1:2 | |||||||
Инфракрасно- | От 0,01 до 0,6 | Анализ проводят согласно прилагаемой к прибору инструкции | ||||||
Ферро- | Кулонометри- | От 0,01 до 0,9 | 0,5 | Окись меди или | 3:1 | 1:2 | Навеску пробы помещают в лодочку, добавляют плавень и перемешивают | 1325±25 |
смесь окиси меди с железом | 1:2 | |||||||
Газо- | От 0,01 до 0,9 | 1,0 | Окись меди или | 3:1 | 1:2 | |||
смесь окиси меди с железом | 1:2 | |||||||
Инфракрасно- | От 0,01 до 0,9 | Анализ проводят согласно прилагаемой к прибору инструкции | ||||||
Ферро- | Кулонометри- | От 0,05 до 1,2 | 0,5 | Олово или | 1:2 | 1:1 | Навеску пробы помещают в лодочку, добавляют плавень и перемешивают | 1300±20 |
смесь окиси меди с железом | 1:2 | |||||||
Газо- | От 0,05 до 1,2 | 1,0 | Олово или | 1:2 | 1:1 | |||
смесь окиси меди с железом | 1:2 | |||||||
Инфракрасно- | От 0,05 до 1,2 | Анализ проводят согласно прилагаемой к прибору инструкции | ||||||
Ферробор | Кулонометри- | От 0,01 до 1,8 | 0,5 | Смесь окиси меди с железом или | 1:2 | 1:2 | Навеску пробы помещают в лодочку, добавляют плавень и перемешивают | 1350±20 |
Св. 1,8 " 3,6 | 0,25 | окись меди | 1:2 | |||||
" 3,6 " 4,2 | 0,2 | |||||||
Газо- | От 0,01 до 1,2 | 1,0 | Смесь окиси меди с железом или | 1:2 | 1:2 | |||
Св. 1,2 " 2,4 | 0,5 | окись меди | 1:2 | |||||
" 2,4 " 4,2 | 0,25 | |||||||
Инфракрасно- | От 0,01 до 4,2 | Анализ проводят согласно прилагаемой к прибору инструкции | ||||||
Ферро- | Кулонометри- | От 0,01 до 0,6 | 0,5 | Окись меди или | 1:4 | Навеску пробы помещают в лодочку, добавляют плавень и перемешивают | 1350±20 | |
смесь окиси меди с железом | 1:4 | |||||||
Газо- | От 0,01 до 0,6 | 1,0 | Окись меди или | 1:2 | 1:3 | |||
смесь окиси меди с железом | 1:3 | |||||||
Инфракрасно- | От 0,01 до 0,6 | Анализ проводят согласно прилагаемой к прибору инструкции | ||||||
Ферро- | Кулонометри- | От 0,05 до 1,8 | 0,5 | Олово или | 1:2 | 1:2 | Навеску пробы помещают в лодочку, добавляют плавень и перемешивают | 1300±20 |
Св. 1,8 " 3,7 | 0,25 | смесь окиси меди с железом | 1:2 | |||||
Газо- | От 0,05 до 1,2 | 1,0 | Смесь окиси меди с железом | 1:1 | 1:1 | |||
Св. 1,2 " 2,4 | 0,5 | 1:2 | ||||||
" 2,4 " 3,7 | 0,25 | 1:5 | ||||||
Инфракрасно- | От 0,05 до 3,7 | Анализ проводят согласно прилагаемой к прибору инструкции | ||||||
Ферро- | Кулонометри- | От 0,01 до 1,2 | 0,5 | Смесь окиси меди с железом | 3:1 | 1:3 | Навеску пробы помещают в ло- дочку, добавляют плавень и перемешивают | 1350±20 |
Газо- | От 0,01 до 1,2 | 1,0 | Смесь окиси меди с железом | 3:1 | 1:3 | |||
Инфракрасно- | От 0,01 до 1,2 | Анализ проводят согласно прилагаемой к прибору инструкции | ||||||
Силико- | Кулонометри- | От 0,1 до 1,2 | 0,5 | Олово или | 1:2 | Допускается | 1325±25 | |
окись меди | 1:2 | |||||||
Газо- | От 0,1 до 1,2 | 1,0 | Олово или | 1:2 | ||||
окись меди | 1:2 | |||||||
Инфракрасно- | От 0,1 до 1,2 | Анализ проводят согласно прилагаемой к прибору инструкции | ||||||
Ферро- | Кулонометри- | От 0,02 до 1,8 | 0,5 | Смесь окиси меди с железом | 3:1 | 1:4 | Допускается растирание навески с плавнем в агатовой ступке | 1350±20 |
Св. 1,8 " 3,8 | 0,25 | 1:4 | ||||||
" 3,8 " 6,2 | 0,1 | 1:5 | ||||||
Газо- | От 0,02 до 1,2 | 1,0 | Смесь окиси меди с железом | 3:1 | 1:3 | |||
Св. 1,2 " 2,4 | 0,5 | 1:3 | ||||||
" 2,4 " 5,0 | 0,25 | 1:4 | ||||||
" 5,0 " 6,2 | 0,20 | 1:5 | ||||||
Инфракрасно- | От 0,02 до 6,2 | Анализ проводят согласно прилагаемой к прибору инструкции | ||||||
Ферро- | Кулонометри- | От 0,005 до 4,0 | 0,5 | Смесь окиси меди в виде проволоки с железом | 2:1 | 1:4 | Навеску пробы помещают в лодочку, добавляют | 1375±25 |
" 4,0 " 8,0 | 0,25 | 1:4 | ||||||
" 8,0 " 10,0 | 0,1 | 1:5 | ||||||
Газо- | От 0,01 до 1,2 | 1,0 | Смесь окиси меди в виде проволоки с железом | 2:1 | 1:3 | |||
Св. 1,2 " 2,4 | 0,5 | 1:4 | ||||||
" 2,4 " 5,0 | 0,25 | 1:4 | ||||||
" 5,0 " 6,0 | 0,20 | 1:5 | ||||||
" 6,0 " 8,0 | 0,15 | 1:5 | ||||||
" 8,0 " 10,0 | 0,1 | 1:5 | ||||||
Инфракрасно- | От 0,005 до 10,0 | Анализ проводят согласно прилагаемой к прибору инструкции | ||||||
Ферро- | Кулонометри- | От 0,05 до 0,6 | 0,5 | Окись меди или | 3:1 | 1:4 | Допускается растирание навески с плавнем в агатовой ступке | 1375±25 |
смесь окиси меди с железом | 1:4 | |||||||
Газо- | От 0,05 до 0,6 | 1,0 | Окись меди или | 3:1 | 1:3 | |||
смесь окиси меди с железом | 1:3 | |||||||
Инфракрасно- | От 0,05 до 0,6 | Анализ проводят согласно прилагаемой к прибору инструкции | ||||||
(Измененная редакция; Изм. N 1).
В установке для кулонометрического титрования измеряют количество электричества, необходимое для восстановления исходного значения рН, которое изменяется за счет образования кислоты.
Количество определяемого электричества пропорционально массовой доле углерода в навеске пробы.
2.2. Аппаратура, реактивы и растворы
Экспресс-анализатор типа АН-160, АН-7560, АН-29 и АН-7529.
Готовят к работе согласно прилагаемым инструкциям с дополнением: перед датчиком анализатора устанавливают ловушку, заполненную 10 г гидроперита или асбест, пропитанный двуокисью марганца для поглощения сернистого газа, образующегося при сжигании навески.
Допускается применять анализаторы других типов.
Кислород технический из кислородопровода или баллон с кислородом, снабженный редукционным вентилем.
Трубки огнеупорные муллито-кремнеземистые длиной 650-800 мм с внутренним диаметром 18-22 мм, прокаленные при рабочей температуре при пропускании через трубку кислорода до отсутствия показания на табло прибора.
Лодочки N 2 фарфоровые по ГОСТ 9147, предварительно прокаленные в муфельной печи при температуре не ниже 900 °С в течение 3-4 ч. Прокаленные лодочки хранят в эксикаторе, содержащем гидроксид бария или оксид кальция.
При определении углерода 0,1% и менее лодочки прокаливают в потоке кислорода непосредственно перед анализом при рабочей температуре.
Аскарит.
Калий хлористый по ГОСТ 4234.
Стронций хлористый 6-водный по ГОСТ 4140.
Натрий тетраборнокислый 10-водный по ГОСТ 4199.
Кислота борная по ГОСТ 9656.
Калий железистосинеродистый 3-водный по ГОСТ 4207.
Плавень. В качестве плавня могут быть использованы:
железо металлическое или карбонильное;
меди (II) окись в виде порошка по ГОСТ 16539, проволоки или гранул, прокаленная при температуре (800±20) °С в течение 3-4 ч;
ванадия пятиокись, прокаленная при температуре (450±20) °С в течение 3-4 ч;
олово металлическое по ГОСТ 860, соотношение составных частей плавня, а также соотношение массы навески с плавнем указаны в табл.2.
Допускается применять другие плавни в других соотношениях с навеской.
Массовая доля углерода в плавне не должна превышать значений допускаемых расхождений, приведенных в табл.4.
Марганца (IV) окись по ГОСТ 4470.
Гидроперит.
Растворы поглотительный и вспомогательный.
Реактивы, применяемые для приготовления растворов, приведенные в табл.3, помещают в стакан вместимостью 1 дм, приливают 500 см
воды и после растворения переносят в мерную колбу вместимостью 1 дм
, разбавляют водой до метки и перемешивают.
Таблица 3
Тип экспресс- анализатора | Масса реактива, г | ||||
Хлористый калий | Хлористый стронций | Железисто- синеродистый калий | Борная кислота | Натрий тетра-борнокислый | |
Поглотительный | |||||
АН-29 | 100 | 100 | - | 1 | - |
АН-7529 | 100 | 100 | - | 1 | - |
АН-160 | 50 | 50 | - | - | - |
АН-7560 | 50 | 50 | - | - | - |
Вспомогательный | |||||
АН-29 | 100 | - | 100 | 1 | - |
АН-7529 | 100 | - | 100 | 1 | - |
АН-160 | 50 | - | 50 | - | 1 |
АН-7560 | 50 | - | 50 | - | 1 |
2.3. Проведение анализа
В лодочку помещают навески пробы и плавня массой, установленной в соответствии с табл.3.
Затем лодочку помещают в наиболее нагретую часть трубки печи и сразу же закрывают затвором. Устанавливают показание индикаторного цифрового табло на "0" и сжигают пробу при соответствующей температуре, указанной в табл.3.
В процессе сжигания пробы на цифровом табло осуществляется непрерывный отсчет показаний. Анализ считается законченным, если цифровые показания табло за 1 мин изменяются на величину, не превышающую величину холостого отсчета прибора. Записывают результаты анализа по показаниям табло, открывают затвор и извлекают лодочку.
2.4. Обработка результатов
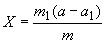
2.4.1. Массовую долю углерода () в процентах вычисляют по формуле
,
где - масса навески стандартного образца, по которому отградуирован прибор, г;
- показания прибора при сжигании анализируемой навески, %;
- масса анализируемой навески, г;
- показания прибора при проведении контрольного опыта на загрязнение реактивов, %.
2.4.2. Нормы точности и нормативы контроля точности определения массовой доли углерода приведены в табл.4.
Таблица 4
Допускаемые расхождения, % | |||||
Массовая доля углерода, % | Погрешность результатов анализа | двух средних результатов анализа, выполненных | двух параллельных определений | трех параллельных определений | результатов анализа стандартного образца от аттестованного значения |
От 0,002 до 0,005 включ. | 0,0012 | 0,0015 | 0,0012 | 0,0015 | 0,0008 |
Св. 0,005 " 0,01 " | 0,0016 | 0,0020 | 0,0017 | 0,0020 | 0,0010 |
" 0,01 " 0,02 " | 0,004 | 0,005 | 0,004 | 0,005 | 0,003 |
" 0,02 " 0,05 " | 0,006 | 0,008 | 0,007 | 0,008 | 0,004 |
" 0,05 " 0,1 " | 0,012 | 0,015 | 0,012 | 0,015 | 0,008 |
" 0,1 " 0,2 " | 0,016 | 0,020 | 0,017 | 0,020 | 0,010 |
" 0,2 " 0,5 " | 0,024 | 0,030 | 0,025 | 0,030 | 0,016 |
" 0,5 " 1,0 " | 0,04 | 0,05 | 0,04 | 0,05 | 0,03 |
" 1,0 " 2,0 " | 0,06 | 0,07 | 0,06 | 0,07 | 0,04 |
" 2,0 " 5 " | 0,08 | 0,10 | 0,08 | 0,10 | 0,05 |
" 5 " 10 " | 0,12 | 0,15 | 0,12 | 0,15 | 0,08 |
(Измененная редакция, Изм. N 1, 2).
3. ГАЗООБЪЕМНЫЙ МЕТОД
3.1.Сущность метода
Метод основан на сжигании навески пробы в потоке кислорода при температуре, приведенной в табл.2, и измерении объема образующейся двуокиси углерода.
3.2. Аппаратура, реактивы и растворы
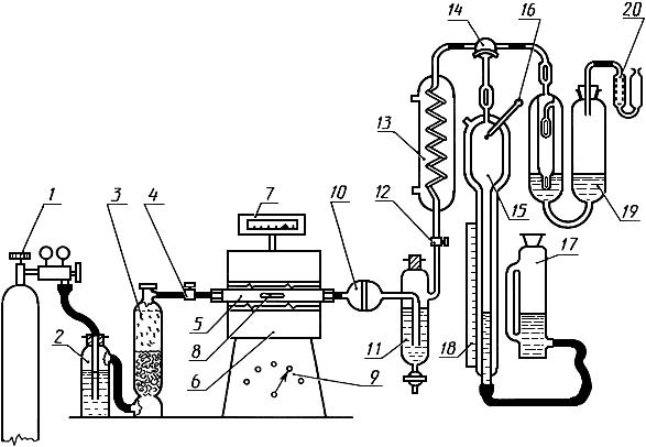
Установка для газообъемного определения углерода, схема которой приведена на чертеже, состоит из кислородопровода или баллона с кислородом, снабженных редукционным вентилем 1; промывной склянки 2, содержащей раствор марганцовокислого калия. Допускается применение сухой очистки кислорода. Для этого склянка 2 заменяется U-образной трубкой, наполненной в первой половине по ходу потока кислорода асбестом, пропитанным оксидом марганца, а во второй ангидроном; сушильной колонки 3, наполненной в нижней части натронной известью или натронным асбестом, а в верхней - ангидроном; огнеупорной муллито-кремнеземистой трубки 5, длиной 650-800 мм и с внутренним диаметром 18-22 мм. Чтобы концы трубки не нагревались, на них наматывают влажные хлопчатобумажные ленты или используют другое, пригодное для охлаждения концов трубки приспособление. Трубку закрывают с обеих сторон хорошо подогнанными металлическими затворами или резиновыми пробками, в отверстия которых вставляют стеклянные трубки для подключения соединительных резиновых трубок. Резиновые пробки с внутренней стороны защищают от обгорания ободками из асбеста, надетыми на концы стеклянных трубок; трубчатой печи 6, обеспечивающей температуру нагрева до 1400°C; термопары с регулятором 7 для регулирования температуры печи; фарфоровой лодочки 8; трансформатора 9 для регулирования рабочего напряжения печи; шарообразного сосуда 10 диаметром 20-25 мм, наполненного ватой, для улавливания порошкообразных продуктов сгорания; склянки 11 для поглощения сернистого газа, наполненной раствором хромовой кислоты. Свободный объем в склянке над раствором не должен превышать 40 см
; трехходового крана 12; холодильника 13; трехходового U-образного крана 14; эвдиометра 15 (измерительной бюретки); термометра 16; уравнительной склянки 17 с боковым сообщающимся отводом, диаметр которого соответствует диаметру узкой части эвдиометра; шкалы эвдиометра 18 с ценой деления 0,01 или 0,005%, градуированной по навеске массой 1 г. В зависимости от градуировки шкалы эвдиометра уравнительную склянку наполняют или 2%-ным раствором серной кислоты или раствором хлористого натрия 260 г/дм
; поглотительного сосуда 19, наполненного раствором гидроксида калия; защитной насадки 20, наполненного натронной известью.
Лодочки фарфоровые N 2 по ГОСТ 9147, предварительно прокаленные при температуре не ниже 900 °С в течение 3-4 ч. Прокаленные лодочки сохраняют в эксикаторе, содержащем гидроксид бария или оксид кальция. При определении углерода 0,1% и менее лодочки прокаливают в потоке кислорода непосредственно перед анализом при рабочей температуре.
Барометр.
Кислород технический из кислородопровода или баллон с кислородом.
Калия гидроокись по ГОСТ 24363, растворы 400 г/дм и 100 г/дм
.
Кислота серная по ГОСТ 4204 и 2%-ный раствор.
Натрий хлористый по ГОСТ 4233, раствор 260 г/дм.
Калий марганцовокислый по ГОСТ 20490, раствор с массовой концентрацией 40 г/дм в растворе гидроксида калия с массовой концентрацией 100 г/дм
.
Схема установки для газообъемного определения углерода

Известь натронная или аскарит.
Магний хлорнокислый (ангидрон).
Хрома (VI) окись по ГОСТ 3776.
Поглотительный раствор (хромовая кислота): 4 г оксида хрома растворяют в 12 см воды и 60 см
серной кислоты.
Марганца (IV) окись по ГОСТ 4470.
Метиловый красный, индикатор, раствор 1 г/дм.
Растворы для заполнения уравнительной склянки (затворная жидкость):
для эвдиометра с ценой деления шкалы 0,005% углерода: к 1 дм раствора хлористого натрия добавляют 1 см
серной кислоты и 2 см
раствора метилового красного;
для эвдиометра с ценой деления шкалы 0,01% углерода: к 1 дм раствора серной кислоты добавляют 2 см
раствора метилового красного.
Плавень. В качестве плавня могут быть использованы:
железо металлическое или железо карбонильное;
меди (II) окись в виде порошка по ГОСТ 16539, проволоки или гранул, прокаленная при температуре (800±20) °С в течение 3-4 ч;
ванадия пятиокись, прокаленная при температуре (450±20) °С в течение 3-4 ч;
олово металлическое по ГОСТ 860.
Соотношение составных частей плавня, а также соотношение массы навески с плавнем приведены в табл.3.
Допускается применять другие плавни в других соотношениях с навеской.
Массовая доля углерода в плавнях не должна превышать величины допускаемых расхождений, приведенных в табл.
4.
3.3. Проведение анализа
3.3.1. Нагревают печь до рабочей температуры, затем пропускают кислород в течение 2 мин для удаления из трубки остатков органических веществ. Проверяют герметичность и работу аппарата. Для этого краном 14 отключают поглотительный сосуд 19 и уравнительную склянку 17 устанавливают на нижнюю полку прибора. Аппарат герметичен, если уровень жидкости в эвдиометре остается без изменения.
Для проверки герметичности печи, целостности муллито-кремнеземистой трубки и всех соединений кран 14 ставят в положение, разобщающее эвдиометр с печью и пускают поток кислорода со скоростью 4-5 пузырьков в секунду. Установка герметична, если не наблюдается прохождение пузырьков кислорода через очистительную склянку 2. Если пузырьки кислорода проходят - следует сменить муллито-кремнеземистую или соединительные трубки, проверить пробки, протереть краны, смазать их смазкой и вновь проверить установку на герметичность.
Для насыщения затворной жидкости двуокисью углерода и проверки правильности работы прибора перед проведением анализа сжигают 3-4 навески стандартного образца.
3.3.2. В лодочку помещают навеску пробы и плавня массой, установленной в соответствии с табл.2.
Открывают редукционный вентиль и кран 4 для подачи кислорода и выдерживают навеску в среде кислорода в течение 20 с. Затем при помощи кранов 12 и 14 соединяют печь с эвдиометром. Подача кислорода ведется с таким расчетом, чтобы газовая смесь вытеснила жидкость из широкой части эвдиометра за 5-6 мин после начала поступления газовой смеси в эвдиометр. После этого уравнительную склянку ставят на нижнюю полочку аппарата. Как только жидкость в узкой части измерительной бюретки опустится примерно до нулевого деления шкалы, но не ниже, краном 14 перекрывают поступление кислорода в измерительную бюретку.
Поворотом крана 12 соединяют холодильник с атмосферой, а затем кран 14 ставят в положение, соединяющее измерительную бюретку с холодильником и через 15-20 с сверяют правильность положения менисков жидкости в узкой части измерительной бюретки и уравнительной склянки. В случае несовпадения уровней, при помощи подвижной шкалы, находят такое положение, при котором уровни жидкости в измерительной бюретке и уравнительной склянке окажутся на одной высоте.
Не вынимая лодочку из фарфоровой трубки, краном 4 перекрывают подачу кислорода в печь.
Поворотом крана 12 разъединяют измерительную бюретку с атмосферой и краном 14 соединяют ее с сосудом для поглощения 19, в который перегоняют газовую смесь поднятием уравнительной склянки 17. Из сосуда для поглощения газовую смесь снова перекачивают в измерительную бюретку и операцию поглощения двуокиси углерода повторяют. Затем устанавливают кран 14 в положение полного разобщения с сосудом для поглощения, уравнительную склянку ставят на нижнюю полочку. Через 15-20 с проводят замер объема газа, осторожно перемещая уравнительную склянку вдоль бюретки снизу вверх до выравнивания уровней жидкости в измерительной бюретке и уравнительной склянке. Соответствующее деление шкалы, температуру газа в измерительной бюретке и атмосферное давление записывают.
3.3.3. При анализе трудносгораемых материалов или при определении массовой доли углерода свыше 1,0%, производят дополнительное (контрольное) сжигание той же навески. Для этого после первого измерения объема двуокиси углерода, поворотом кранов 14 и 12 измерительную бюретку соединяют с наружной атмосферой, заполняют бюретку затворной жидкостью, при помощи крана 12 разъединяют измерительную бюретку с наружной атмосферой и соединяют с печью, затем открывают кран 4 для пуска кислорода в печь и приступают к повторному отбору смеси газа как описано выше. Время забора газа в эвдиометр, при дополнительном сжигании, уменьшают до 2 мин.
Объем первого и второго замеров двуокиси углерода суммируют и принимают за окончательный результат.
Объем поглощенной двуокиси углерода, определенный по шкале эвдиометра, пересчитывают, применяя поправочные коэффициенты, взятые из таблиц, прилагаемых к соответствующим анализаторам.
3.4. Обработка результатов
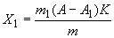
3.4.1. Массовую долю углерода () в процентах вычисляют по формуле
,
где - масса навески, по которой отградуирована шкала эвдиометра, г;
- массовая доля углерода, найденная по шкале эвдиометра после поглощения двуокиси углерода при сжигании навески пробы, %;
- массовая доля углерода, найденная по шкале эвдиометра после поглощения двуокиси углерода в контрольном опыте, %;
- поправочный коэффициент на температуру газа в эвдиометре и атмосферное давление в момент проведения анализа, определяемые по таблице, прилагаемой к соответствующему газоанализатору;
- масса навески пробы, г.
3.4.2. Нормы точности и нормативы контроля точности определения массовой доли углерода приведены в табл.4.
(Измененная редакция, Изм. N 1).
4. ИНФРАКРАСНО-АБСОРБЦИОННЫЙ МЕТОД
4.1.Сущность метода
Метод основан на сжигании навески ферросплава или металла в потоке кислорода при соответствующей температуре и определении количества образовавшейся двуокиси углерода путем измерения поглощенной ею инфракрасной радиации.
4.2. Аппаратура, реактивы и растворы
Автоматический анализатор, основанный на абсорбции инфракрасной радиации, любого типа.
Плавень, поглотительный, вспомогательный растворы и вспомогательные материалы - в зависимости от типа применяемого анализатора.
4.3. Проведение анализа
Перед проведением анализа проводят градуировку прибора по стандартным образцам.
Анализ проводят в зависимости от типа анализатора.
4.4. Обработка результатов
4.4.1. Массовую долю углерода определяют по цифровому указателю анализатора.
4.4.2. Нормы точности и нормативы контроля точности определения массовой доли углерода приведены в табл.4.
(Измененная редакция, Изм. N 1).
Электронный текст документа
подготовлен АО "Кодекс" и сверен по:
официальное издание
М.: ИПК Издательство стандартов, 1999
Разместите заказ
сами сделают вам предложение
