ГОСТы сталей. ГОСТ 23916-79
ГОСТ 23916-79
(СТ СЭВ 4503-84)*
______________________
* Обозначение стандарта.
Измененная редакция, Изм. N 1.
Группа В19
ГОСУДАРСТВЕННЫЙ СТАНДАРТ СОЮЗА ССР
ХРОМ МЕТАЛЛИЧЕСКИЙ
Метод отбора и подготовки проб для химического и физико-химического анализа
Metal chromium.
Sampling and sample preparation for chemical and phisical-chemical analysis
ОКСТУ 0809*
______________
* Введено дополнительно, Изм. N 1.
Срок действия с 01.07.1981
до 01.07.1986*
_______________________________
* Ограничение срока действия снято по протоколу N 5-94
Межгосударственного Совета по стандартизации,
метрологии и сертификации (ИУС N 11/12, 1994 год). -
Примечание изготовителя базы данных.
РАЗРАБОТАН Министерством черной металлургии СССР
ИСПОЛНИТЕЛИ
В.Г.Мизин, А.С.Дубровин, Н.А.Чирков, В.Л.Кузнецов, А.Ф.Конев, В.А.Копылов, В.М.Мировщиков, З.Н.Игнатенко
ВНЕСЕН Министерством черной металлургии СССР
Член коллегии В.В.Лемпицкий
УТВЕРЖДЕН И ВВЕДЕН В ДЕЙСТВИЕ Постановлением Государственного комитета СССР по стандартам от 6 декабря 1979 г. N 4707
ВНЕСЕНО Изменение N 1, утвержденное и введенное в действие Постановлением Государственного комитета СССР по стандартам от 29.03.85 N 941 с 01.01.86
Изменение N 1 внесено изготовителем базы данных по тексту ИУС N 6, 1985 год
Настоящий стандарт устанавливает метод отбора и подготовки проб для химического и физико-химического анализа алюминотермического хрома металлического.
Стандарт полностью соответствует СТ СЭВ 4503-84.
(Измененная редакция, Изм. N 1).
1. ОБЩИЕ ТРЕБОВАНИЯ
1. ОБЩИЕ ТРЕБОВАНИЯ
1.1. Общие требования к отбору и подготовке проб - по ГОСТ 17260-80*.
______________
* На территории Российской Федерации действует ГОСТ 17260-87. Здесь и далее. - Примечание изготовителя базы данных.
1.2. За контролируемые показатели качества принимают массовые доли хрома и углерода.
1.1, 1.2. (Измененная редакция, Изм. N 1).
2. ОТБОР ПРОБ
2.1. Минимальное количество кусков , необходимое для обеспечения заданной погрешности отбора проб (
), в зависимости от массы партии должно соответствовать указанному в табл.1. Точечная проба должна быть отобрана от каждого куска.
Таблица 1
Масса опробуемого хрома металлического, т | Минимальное количество кусков, отбираемых от партии, шт. | Погрешность отбора проб ( | |
хром | углерод | ||
Св. 2,5 до 5,0 включ. | 9 | 0,065 | 0,002 |
" 1,0 " 2,5 " | 7 | 0,075 | 0,002 |
" 0,5 " 1,0 " | 5 | 0,090 | 0,003 |
" 0,5 " | 3 | 0,120 | 0,004 |
(Измененная редакция, Изм. N 1).
2.2. Отбор кусков должен проводиться равномерно по всему объему партии хрома в процессе ее перемещения или состояния покоя.
2.3. Масса куска металлического хрома должна быть не менее 2 кг.
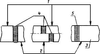
2.4. Точечная проба должна быть отобрана в виде стружки толщиной не более 0,5 мм фрезерованием, строганием или сверлением по всей высоте куска, как показано на чертеже.

1 - верхняя поверхность; 2 - нижняя поверхность; 3 - поверхность излома;
4 - сверление; 5 - фрезерование или строгание
2.3, 2.4. (Измененная редакция, Изм. N 1).
2.5. Масса точечной пробы должна быть не менее 70 г.
2.5.1. Допускаемые отклонения по массе точечных проб должны быть ±10%.
2.6. (Исключен, Изм. N 1).
2.6.1. При отборе точечных проб не допускается применение водоэмульсионных жидкостей.
2.6.2. (Исключен, Изм. N 1).
3. ПОДГОТОВКА ПРОБ
3.1а. Методы подготовки проб должны обеспечивать погрешность подготовки проб (), соответствующую 0,170% по массовой доле хрома и 0,005% по массовой доле углерода.
(Введен дополнительно, Изм. N 1).
3.1. Точечные пробы соединяют вместе и объединенную пробу после тщательного перемешивания сокращают до 0,2 кг.
3.1.1. Перед каждым сокращением пробу перемешивают не менее трех раз.
3.2. Лабораторных проб должно быть подготовлено три: одна - для химического и физико-химического анализа, две другие - на случай разногласий в оценке качества.
3.3. Масса лабораторной пробы должна быть не менее 50 г.
3.4. Лабораторные пробы должны храниться в плотно закрытых банках, исключающих их загрязнение. Применение корковых пробок не допускается.
3.5. Срок хранения лабораторных проб, предназначенных на случай разногласий в оценке качества металлического хрома, не менее шести месяцев со дня получения результатов анализа.
4. ПОГРЕШНОСТЬ МЕТОДА
4.1. Методы отбора и подготовки проб должны обеспечивать определение химического состава хрома металлического при доверительной вероятности 95% с общей погрешностью (
), указанной в табл.2.
Таблица 2
Масса опробуемого хрома металлического, т | Общая погрешность ( | |
хром | углерод | |
Св. 2,5 до 5,0 включ. | 0,338 | 0,008 |
" 1,0 " 2,5 " | 0,342 | |
" 0,5 " 1,0 " | 0,344 | |
" 0,5 " | 0,354 | |
(Измененная редакция, Изм. N 1).
4.1.1. (Исключен, Изм. N 1).
ПРИЛОЖЕНИЕ 1 (справочное). Исходные данные для расчета параметров опробования
ПРИЛОЖЕНИЕ 1
Справочное
1. Количество точечных проб, общую погрешность опробования партии рассчитывают по ГОСТ 17260-80.
2. Среднее квадратическое отклонение между кусками (неоднородность партии) определено экспериментально и равно 0,085% по массовой доле хрома и 0,002% по массовой доле углерода.
3. Погрешность отбора проб () по содержанию хрома для самой малой партии составляет 0,120%, для самой большой - 0,065%, по содержанию углерода соответственно 0,004 и 0,002%.
Для промежуточных партий погрешность отбора проб определялась путем экстраполяции.
4. Среднее квадратическое отклонение подготовки проб () определено экспериментально и равно 0,085% по массовой доле хрома и 0,0025% - по массовой доле углерода.
5. Среднее квадратическое отклонение метода анализа по массовым долям хрома и углерода вычисляют из допустимых расхождений между результатами параллельных определений по формуле
,
где - допускаемое расхождение между результатами параллельных определений хрома и углерода;
- коэффициент пересчета для двух параллельных определений.
Величины среднего квадратического отклонения метода анализа , принятые для расчета общей погрешности, указаны в табл.3.
Таблица 3
Допускаемое расхождение между результатами параллельных определений, | Среднее квадратическое отклонение метода анализа ( | ||||
пересчитанное из | принятое для расчета общей погрешности | ||||
хром | углерод | хром | углерод | хром | углерод |
0,40 | 0,006 | 0,1428 | 0,0021 | 0,143 | 0,002 |
ПРИЛОЖЕНИЕ 1. (Введено дополнительно, Изм. N 1).
ПРИЛОЖЕНИЕ 2 (справочное). СПОСОБ ОТБОРА СТРУЖКИ ХРОМА МЕТАЛЛИЧЕСКОГО
ПРИЛОЖЕНИЕ 2
Справочное
Отбор пробы (стружки) от куска хрома металлического производится спиральными сверлами из быстрорежущих сталей или оснащенных твердосплавными пластинками с цилиндрическими или коническими хвостовиками по ГОСТ 20694-75 - ГОСТ 20698-75, имеющими характеристику режущей кромки с углом в плане 125±3°, передним углом
30±3°, задним углом
15±3°, при скорости подачи не более 0,1 мм/об и максимальной окружной скорости 3-4 м/мин (0,05-0,07 м/с).
(Измененная редакция, Изм. N 1).
Электронный текст документа
подготовлен АО "Кодекс" и сверен по:
официальное издание
М.: Издательство стандартов, 1980
Редакция документа с учетом
изменений и дополнений
подготовлена АО "Кодекс"
Разместите заказ
сами сделают вам предложение
