ГОСТы сталей. ГОСТ 11701-84
ГОСТ 11701-84
Группа В09
ГОСУДАРСТВЕННЫЙ СТАНДАРТ СОЮЗА ССР
МЕТАЛЛЫ
Методы испытаний на растяжение тонких листов и лент
Metals. Methods of tensile testing of thin sheets and strips
ОКСТУ 0909
Дата введения 1986-01-01
ИНФОРМАЦИОННЫЕ ДАННЫЕ
1. РАЗРАБОТАН И ВНЕСЕН Министерством черной металлургии СССР
РАЗРАБОТЧИКИ
В.И.Маторин, Б.М.Овсянников, В.Д.Хромов, Н.А.Бирун, А.В.Минашин, Э.Д.Петренко, В.И.Чеботарев, М.Ф.Жембус, В.Г.Гешелин, А.В.Богачева
2. УТВЕРЖДЕН И ВВЕДЕН В ДЕЙСТВИЕ Постановлением Государственного комитета СССР по стандартам от 17.07.84 N 2514
3. Стандарт соответствует СТ СЭВ 471-88 в части испытаний листов и лент толщиной от 0,5 до 3,0 мм
4. ВЗАМЕН ГОСТ 11701-66
5. ССЫЛОЧНЫЕ НОРМАТИВНО-ТЕХНИЧЕСКИЕ ДОКУМЕНТЫ
Обозначение НТД, на который дана ссылка | Номер пункта |
ГОСТ 1497-84 | Вводная часть; 1.1; 1.4; 2.2; 2.3; 4.1; 4.4 |
ГОСТ 28840-90 | 2.1 |
6. Срок действия продлен до 01.01.96* Постановлением Госстандарта СССР от 25.03.91 N 319
__________________
* Ограничение срока действия снято по протоколу N 5-94 Межгосударственного Совета по стандартизации, метрологии и сертификации. (ИУС N 11-12, 1994 год). - Примечание "КОДЕКС".
7. ПЕРЕИЗДАНИЕ (февраль 1993 г.) с Изменениями N 1, 2, утвержденными в октябре 1987 г., марте 1991 г. (ИУС 1-88, 6-91)
Настоящий стандарт устанавливает методы статических испытаний на растяжение тонких листов и лент из черных и цветных металлов толщиной до 3,0 мм для определения при температуре (20)°C характеристик механических свойств:
предела пропорциональности;
предела текучести физического;
предела текучести условного;
временного сопротивления;
относительного равномерного удлинения;
относительного удлинения после разрыва.
Стандарт соответствует СТ СЭВ 471-88 в части испытаний листов и лент толщиной от 0,5 до 3,0 мм.
Термины, применяемые в настоящем стандарте, и пояснения к ним - по ГОСТ 1497-84.
(Измененная редакция, Изм. N 2).
1. МЕТОДЫ ОТБОРА ОБРАЗЦОВ
1. МЕТОДЫ ОТБОРА ОБРАЗЦОВ
1.1. Вырезку заготовок для образцов и изготовление образцов проводят по ГОСТ 1497-84.
1.2. Для испытания применяют пропорциональные плоские образцы с начальной расчетной длиной
или
, a для испытания листов и лент толщиной от 0,5 до 3,0 мм и с
.
Тип и размеры образцов должны указываться в нормативно-технической документации на правила отбора заготовок и образцов или на металлопродукцию.
При наличии указаний в нормативно-технической документации на металлопродукцию допускается испытывать ленту с учетом допусков на размеры, предусмотренные для испытываемой металлопродукции. При ширине испытываемой ленты менее 12,5 мм начальная расчетная длина должна быть не менее 50 мм.
Не допускается правка заготовок или образцов, деформирование их изгибом или местным перегибом.
1.3. Форма, размеры и предельные отклонения по ширине плоских пропорциональных образцов приведены в обязательном приложении 1.
При наличии указаний в нормативно-технической документации на металлопродукцию допускается применять пропорциональные плоские образцы других размеров.
1.4. Рабочая длина образцов должна составлять от
до
.
При разногласиях в оценке качества металла рабочая длина образцов должна составлять
.
Примечание. При использовании тензометров или испытательной машины с автоматическим определением относительного удлинения после разрыва выбор рабочей и расчетной части длин образца должен соответствовать требованиям ГОСТ 1497-84.
(Измененная редакция, Изм. N 2).
2. АППАРАТУРА
2.1. Разрывные и универсальные испытательные машины - по ГОСТ 28840-90.
2.2. Штангенциркули, микрометры - по ГОСТ 1497-84.
Допускается применение других измерительных средств, обеспечивающих измерение с погрешностью, не превышающей указанную в п. 3.2.
2.3. Тензометры с относительной ценой деления - по ГОСТ 1497-84.
(Измененная редакция, Изм. N 2).
3. ПОДГОТОВКА К ИСПЫТАНИЮ
3.1. Установленную начальную расчетную длину ограничивают с погрешностью до 1% на рабочей части образца кернами, рисками или другими метками, исключающими повреждение поверхности образца.
Для пересчета относительного удлинения после разрыва с отнесением места разрыва к середине и для определения относительного равномерного удлинения
по всей рабочей длине образца рекомендуется наносить риски, керны или иные метки через каждые 5 или 10 мм.
3.2. Погрешность определения начальной площади поперечного сечения не должна превышать ±2% (при предельной погрешности измерения ширины образца ±0,2%).
(Измененная редакция, Изм. N 2).
3.3. Измерение размеров образцов до испытания проводят не менее чем в трех местах - в средней части и на границах рабочей длины образца.
За начальную площадь поперечного сечения образца в его рабочей части принимают наименьшее из полученных значений на основании произведенных измерений с округлением по табл.2.
Таблица 2*
_________________
* Табл.1. (Исключена, Изм. N 2).
мм
Площадь поперечного сечения | Округление |
До 10,00 включ. | До 0,010 |
Св. 10,00 до 20,00 включ. | До 0,05 |
Св. 20,0 | До 0,1 |
Начальная площадь поперечного сечения ленты , мм
, полученная методом плющения проволоки, вычисляется по формуле
где - наименьшая толщина, мм;
- наименьшая ширина, мм.
3.4. Измерение начальной и конечной
расчетной длины проводится штангенциркулем при значении отсчета по нониусу 0,1 мм.
3.5. Образцы маркируют на головках или участках для захвата.
4. ПРОВЕДЕНИЕ ИСПЫТАНИЙ И ОБРАБОТКА РЕЗУЛЬТАТОВ
4.1. Определение предела пропорциональности , предела текучести физического
, предела текучести условного
(или иным установленным допуском), временного сопротивления
и относительного удлинения после разрыва
проводят при испытании пропорциональных образцов по п. 1.2. Проведение испытаний и обработка результатов - по ГОСТ 1497-84.
Определение относительного равномерного удлинения проводят на образцах с начальной расчетной длиной
по ГОСТ 1497-84.
4.2. Округление вычисленных результатов испытаний проводят в соответствии с табл.3.
Таблица 3
Характеристика механических свойств | Интервал значений характеристики | Округление |
Предел пропорциональности, Н/мм | ||
Предел текучести физический, Н/мм | До 100 (до 10,0) | До 1,0 (0,1) |
Предел текучести условный, Н/мм | (св. 10,0 до 50,0) |
|
Временное сопротивление, Н/мм | ||
Относительное равномерное удлинение, % | До 10,0 | До 0,1 |
Относительное удлинение после разрыва, % | Св. 25 | До 1 |
4.1; 4.2. (Измененная редакция, Изм. N 2).
4.3. Допускается определение коэффициента пластической анизотропии , показателя деформационного упрочнения
и неравномерности пластической деформации
. Определение указанных характеристик механических свойств и пример определения приведены в приложении 2.
4.4. Результаты испытаний не учитываются по ГОСТ 1497-84 с дополнением: при разрыве образца на расстоянии менее 1/4 от ближайшей метки, ограничивающей расчетную длину.
4.5. При применении образцов, начальная расчетная длина которых
или
, относительное удлинение обозначают символами или
.
При применении образцов, начальная расчетная длина которых
, символ обозначают символом, обозначающим начальную расчетную длину образца
, в миллиметрах.
Например, или
- относительное удлинение после разрыва с начальной расчетной длиной
, равной 50 или 80 мм, шириной 12,5 или 20 мм соответственно.
Сопоставления значений относительного удлинения после разрыва при пропорциональных образцах возможны только в случаях, когда начальная расчетная длина
и начальная площадь поперечного сечения
сравниваемых образцов одинаковы или связаны одинаковым коэффициентом пропорциональности, равным, например, отношению
.
(Измененная редакция, Изм
. N 2).
4.6. Результаты испытаний записывают в протокол, форма которого приведена в приложении 3.
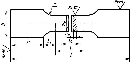
ПРИЛОЖЕНИЕ 1 (рекомендуемое). ПРОПОРЦИОНАЛЬНЫЕ ПЛОСКИЕ ОБРАЗЦЫ
ПРИЛОЖЕНИЕ 1
Рекомендуемое
Черт.1. Пропорциональные образцы с головками
Пропорциональные образцы с головками

Черт.1
Таблица 1
мм
|
|
|
|
|
|
|
|
|
|
|
|
|
|
|
| ||
Св. 1,7 до 3,0 | 20,0 |
|
| 40 | 15-20 | 25-40 | 30 |
|
До 1,7 включ. | 12,5 |
| 40 | 15-20 | 25-40 | 20 | ||
Св. 1,7 до 3,0 | 20,0 |
| 40 | 15-20 | 25-40 | 30 | ||
От 0,5 до 3,0 | 10,0 |
| 40 | 15-20 | 25-40 | 20 |
Черт.2. Пропорциональные образцы без головок
Пропорциональные образцы без головок

Черт.2
Таблица 2
мм
|
|
|
|
|
|
|
|
|
| ||
Св. 1,7 до 3,0 | 20,0 |
|
| 45 |
|
До 1,7 включ. | 12,5 | 45 | |||
Св. 1,7 до 3,0 | 20,0 | 45 | |||
От 0,5 до 3,0 | 10,0 |
| 45 |
Примечания:
1. Образцы с головками применяются при испытании преимущественно высокопрочных материалов, обладающих повышенной хрупкостью и твердостью, с целью исключения проскальзывания образца, а также преждевременного разрушения его в захватах испытательной машины.
2. Размеры головок не являются обязательными и зависят от способа крепления образца в испытательной машине.
В образцах, имеющих головки с отверстиями диаметром = 20 мм при
= 20 мм и
= 50 мм или диаметром 15 мм при
= 12,5 мм и
= 30 мм, отклонения центров отверстий от оси образца допускаются не более 0,05 мм.
Таблица 3
Предельные отклонения размеров образцов
мм
Начальная ширина образца | Предельное отклонение начальной ширины | Допускаемая разность наибольшей и наименьшей начальной ширины по длине рабочей части образца |
Не более 12,5 | ±0,2 | 0,04 |
20 | ±0,5 | 0,05 |
(Измененная редакция, Изм. N 2).
ПРИЛОЖЕНИЕ 2 (рекомендуемое). ОПРЕДЕЛЕНИЕ КОЭФФИЦИЕНТА ПЛАСТИЧЕСКОЙ АНИЗОТРОПИИ R, ПОКАЗАТЕЛЯ ДЕФОРМАЦИОННОГО УПРОЧНЕНИЯ n И НЕРАВНОМЕРНОСТИ ПЛАСТИЧЕСКОЙ ДЕФОРМАЦИИ A
ПРИЛОЖЕНИЕ 2
Рекомендуемое
ОПРЕДЕЛЕНИЕ КОЭФФИЦИЕНТА ПЛАСТИЧЕСКОЙ АНИЗОТРОПИИ ,
ПОКАЗАТЕЛЯ ДЕФОРМАЦИОННОГО УПРОЧНЕНИЯ
И НЕРАВНОМЕРНОСТИ ПЛАСТИЧЕСКОЙ ДЕФОРМАЦИИ
1. Термины, применяемые в приложении 2, и пояснения к ним
Термин | Пояснения |
|
|
Показатель деформационного упрочнения | Способность металла к упрочнению при равномерной пластической деформации |
Неравномерность пластической деформации | Мера рассеяния величин относительных пластических деформаций рабочей части образца, относительная деформация которого равна величине |
Начальное равномерное относительное удлинение | Относительное удлинение, измеренное при действующем на образец напряжении, величина которого выше предела текучести, но не более чем на 20 Н/мм |
Конечное равномерное относительное удлинение | Относительное удлинение, измеренное в процессе ступенчатого (через 3% удлинения) нагружения образца в момент, когда различие между наибольшей и наименьшей шириной ( |
Начальная расчетная длина образца по тензометру | Длина рабочей части образца между ножами тензометра до испытания, равная базе тензометра ( |
Расчетная длина образца по тензометру при нагрузке | Длина расчетной части образца по тензометру при напряжении, величина которого выше предела текучести, но не более чем на 20 Н/мм |
Расчетная длина образца по тензометру при нагрузке | Длина расчетной части образца по тензометру при относительной деформации |
Осевая растягивающая нагрузка | Нагрузка, действующая на образец при достижении расчетной длины по тензометру |
Осевая растягивающая нагрузка | Нагрузка, действующая на образец при достижении расчетной длины по тензометру |
Ширина образца | Ширина рабочей части образца, равная среднему арифметическому значению измерений ширины всех участков, измеренная при относительной деформации |
Конечная ширина образца | Ширина рабочей части образца, равная среднему арифметическому значению измерений ширины, произведенных в сечениях, расположенных в средней части и на границах расчетной длины по тензометру при относительной деформации |
Максимальная ширина участка образца | Максимальная ширина участка рабочей части образца при относительной деформации |
Минимальная ширина участка образца | Минимальная ширина участка рабочей части образца при относительной деформации |
(Измененная редакция, Изм. N 2).
2. Характеристики ,
,
определяют по формулам:

![]()
3. Округление характеристик ,
,
производят в соответствии с таблицей.
Обозначение характеристики | Пределы значений | Округление |
| Не ограничены | До 0,01 |
| Не ограничены | До 0,01 |
| Не более 20,0 | До 0,1 |
Св. 20,0 | До 0,5 |
4. Пример.
Испытываемый материал - низкоуглеродистая тонколистовая сталь; = 40%,
= 10%,
= 17%.
Размеры образца: ширина = 12,5 мм, толщина
= 0,8 мм, начальная расчетная длина
мм, принимаем = 80 мм.
Определяем расчетные длины по тензометру:
=4·12,5=50 мм;
=50(1+0,01·10)=55 мм;
=50(1+0,01·17)=58,5 мм.
Начальную расчетную длину образца =80 мм разбиваем на 8 участков нанесением рисок через 10 мм.
Измеряем с помощью микрометра ширину рабочей части образца до испытания в средней части и на границах рабочей длины, определяем начальную ширину рабочей части образца , как среднее арифметическое из трех измерений:
мм.
Устанавливаем на образец тензометр и производим нагружение образца. При достижении по тензометру значения , равного 55 мм, фиксируем нагрузку
, равную 3030 Н (310 кгс).
При дальнейшем нагружении образца фиксируем нагрузку , соответствующую расчетной длине
= 3150 H (325 кгс). Определяем ширину участков образца и
:
мм;
мм.
Получаем: = 11,37 мм,
=11,30 мм.
Вычисляем коэффициент пластической анизотропии :
, после округления = 1,98.
Вычисляем показатель деформационного упрочнения :

Вычисляем неравномерность пластической деформации :
![]()
после округления = 5,7%.
(Измененная редакция, Изм. N 2).
ПРИЛОЖЕНИЕ 3 (справочное). ПРОТОКОЛ испытаний на растяжение плоских образцов на машине
ПРИЛОЖЕНИЕ 3
Справочное
ПРОТОКОЛ N ________
испытаний на растяжение плоских образцов ___________ на машине __________
|
|
|
|
|
|
|
|
|
|
|
|
Текст документа сверен по:
официальное издание
М.: Издательство стандартов, 1993
Разместите заказ
сами сделают вам предложение
