ГОСТы сталей. ГОСТ 7565-81
ГОСТ 7565-81
(ИСО 377-2-89)
Группа В09
МЕЖГОСУДАРСТВЕННЫЙ СТАНДАРТ
ЧУГУН, СТАЛЬ И СПЛАВЫ
Метод отбора проб для определения химического состава
Iron, steel and alloys. Sampling for determination of chemical composition
МКС 77.080.01
ОКСТУ 0809
Дата введения 1982-01-01
ИНФОРМАЦИОННЫЕ ДАННЫЕ
1. РАЗРАБОТАН И ВНЕСЕН Министерством металлургии СССР
2. УТВЕРЖДЕН И ВВЕДЕН В ДЕЙСТВИЕ Постановлением Государственного комитета СССР по стандартам от 30.12.81 N 5786
3. Приложение 4 настоящего стандарта подготовлено методом прямого применения международного стандарта ИСО 377-2-89 "Отбор и приготовление образцов и проб для испытаний кованой стали. Часть 2. Образцы для определения химического состава"
4. ВЗАМЕН ГОСТ 7565-73
5. Ограничение срока действия снято Постановлением Госстандарта СССР от 17.06.91 N 879
6. ИЗДАНИЕ (сентябрь 2009 г.) с Изменениями N 1, 2, утвержденными в июне 1986 г., июне 1991 г. (ИУС 9-86, 9-91)
Настоящий стандарт устанавливает метод отбора и подготовки проб для определения химического состава доменного чугуна, стали, сплавов и готового проката.
Допускается отбор и подготовка образцов кованых сталей для испытаний по международному стандарту ИСО 377-2-89, приведенному в приложении 4.
(Измененная редакция, Изм. N 2).
1. ОТБОР И ПОДГОТОВКА ПРОБ ЧУГУНА
1. ОТБОР И ПОДГОТОВКА ПРОБ ЧУГУНА
1.1. Для определения химического состава жидкого чугуна от каждого выпуска из печи при равномерной струе из желоба отбирают три пробы: в начале, в середине и в конце выпуска.
1.2. Из каждого ковша при сливе металла отбирают три пробы: после слива около 1/4, 1/2 и 3/4 ковша.
1.3. Пробу отбирают ложкой или пробницей погружением в жидкий металл или под струей металла.
1.4. Масса пробы для химического анализа должна быть 0,1-1 кг, для спектрального анализа - не менее 0,05 кг.
(Измененная редакция, Изм. N 1).
1.5. Металл заливают в изложницу. Конструкция и размеры изложниц для химического анализа приведены на черт.1-6, для спектрального анализа - черт.1, 7 приложения 1.
Допускается применять и другие изложницы, обеспечивающие требуемую точность результатов анализа.
(Измененная редакция, Изм. N 2).
1.6. При заливке не допускается недолив, перелив, разбрызгивание и расплескивание металла, прерыв струи.
1.7. Проба в изложнице должна застывать спокойно.
1.8. После охлаждения пробу извлекают из формы, маркируют номером печи, выпуска и ковша (при разливке чугуна в чушки).
1.9. Проба должна быть без раковин, трещин, спаев и шлаковых включений. Пробу для химического анализа допускается отжигать.
1.10. Поверхность пробы в местах отбора стружки или кусков тщательно очищают от песка, окислов и литейной корки. Пробу для спектрального анализа затачивают на плоскость. На обработанной поверхности не допускаются видимые невооруженным глазом раковины, трещины, шлаковые включения и цвета побежалости.
(Измененная редакция, Изм. N 2).
1.11. Для отбора пробы в виде стружки применяют сверла с углом режущих кромок 120° из быстрорежущей стали или из твердого сплава диаметром 10-20 мм.
1.12. Стружку отбирают сверлением с небольшой скоростью в средней части пробы, не допуская образования пыли. Сверление проводят без охлаждения сверла. Стружка должна быть толщиной не более 0,4 мм.
1.11, 1.12. (Измененная редакция, Изм. N 1).
1.13. Пробу чугуна, который не поддается сверлению, разбивают и отделяют мелкие куски от поверхности скола.
1.14. От каждой пробы отбирают одинаковую массу чугуна.
Пробы в виде куска или стружки измельчают до величины зерна не более 0,2 мм, после чего объединяют, усредняют и квартованием сокращают до массы не менее 20 г.
Для чугуна, предназначенного на экспорт, масса пробы должна быть не менее 100 г.
1.15. При заливке жидкого металла в изложницу (черт.7) допускается для химического анализа использовать пробу в виде стерженьков или дисков. При отборе из ковша трех проб измельчают одинаковые по массе или размеру кусочки трех стерженьков. Для спектрального анализа используют пробу в виде дисков.
1.16. Подготовленную для химического анализа пробу помещают в закрывающуюся емкость.
1.17. Пробу для определения химического состава хранят 3 мес. Допускается устанавливать другой срок хранения пробы при применении чугуна внутри предприятия.
1.18. При определении химического состава чугуна в чушках количество отбираемых чушек регламентируется в нормативно-технической документации на конкретную продукцию.
(Измененная редакция, Изм. N 2).
1.19. При отборе проб чугуна в чушках, предназначенного для экспорта, из штабеля или вагона отбирают не менее одной чушки от каждых 3 т.
1.20. Отобранные чушки маркируют, указывая номер штабеля или вагона.
1.21. Поверхность чушек в местах отбора пробы тщательно очищают от песка, шлака и литейной корки. Пробу в виде стружки отбирают от боковой поверхности, очищенной по п.1.10, под прямым углом к длинной оси чушки. Стружку, полученную после сверления на глубину 4-6 мм, отбрасывают, заканчивают сверление на таком же расстоянии от противоположной стороны чушки. Для анализа используют стружку, собранную после сверления на глубину более 4-6 мм и приготовленную в соответствии с пп.1.12 и 1.14. Пробу для анализа чугуна, который не поддается сверлению, отбирают и готовят в соответствии с пп.1.13 и 1.14.
(Измененная редакция, Изм. N 2).
2. ОТБОР И ПОДГОТОВКА КОВШЕВЫХ ПРОБ СТАЛИ И СПЛАВОВ
2.1. Для определения химического состава плавки сталей и сплавов открытой выплавки от каждого ковша отбирают одну-три пробы. Две пробы отбирают после разливки примерно половины металла ковша. Одну пробу отбирают, если есть возможность использовать оставшийся металл пробы для повторного анализа. Вторую пробу отбирают для повторного анализа.
Три пробы отбирают после слива 1/4, 1/2 и 3/4 ковша.
При отливке слитков, состоящих из одной и более плавок, пробы отбирают в начале или конце разливки каждого ковша. При разливке плавок небольшой массы в один сифон пробу отбирают в начале или конце разливки.
При разливке плавок небольшой массы под вакуумом или в защитной атмосфере отбирают одну пробу в начале или конце разливки.
На автоматических формовочных линиях со стационарной разливкой металла из ковшей емкостью до 30 т допускается отбирать пробы до начала разливки.
При бесковшовой разливке металла из открытой индукционной печи разрешается отбирать пробу непосредственно из тигля печи перед началом разливки.
2.2. Для определения химического состава плавок сталей и сплавов с установок непрерывной или полунепрерывной разливки отбирают одну пробу в середине разливки каждого ковша. Допускается отбирать пробу от заготовки, отлитой в середине разливки каждого ковша. На установках, не оборудованных промежуточным ковшом, допускается отбирать пробу в конце разливки. На установках, имеющих внепечное вакуумирование, допускается отбирать пробу из кристаллизатора.
2.1, 2.2 (Измененная редакция, Изм. N 1, 2).
2.3. Химический состав сталей и сплавов электрошлакового, вакуумно-дугового, плазменно-дугового и электронно-лучевого переплава устанавливается по пробе, взятой из ковша исходной плавки, за исключением элементов, содержание которых меняется при переплаве и которые установлены нормативно-технической документацией на конкретную продукцию.
2.4. Для определения химического состава стали и сплавов вакуумно-индукционной выплавки, а также стали электрошлакового, вакуумно-дугового, электронно-лучевого и плазменно-дугового переплавов по элементам, содержание которых меняется при переплаве и которые установлены нормативно-технической документацией на конкретную продукцию, пробы отбирают от слитков, передельного металла или от готового проката, как указано в разд.3.
Допускается для определения химического состава стали и сплавов, выплавленных в вакуумных индукционных печах, отбирать пробу металла из тигля печи перед началом разливки.
(Измененная редакция, Изм. N 1).
2.5. При электрошлаковом переплаве электродов из двух исходных плавок методом парной комплектации химический состав стали и сплавов электрошлакового переплава устанавливают как среднеарифметическое результатов определения элементов в пробе исходных плавок.
2.6. Пробу отбирают нагретой ложкой, наполняемой под струей, или пробницей, погружаемой в жидкий металл. Допускается заливать металл в изложницу дросселированной струей непосредственно из ковша.
Для труднообрабатываемых сталей и сплавов разрешается отбор проб гранулированием или в виде скрапины.
(Измененная редакция, Изм. N 2).
2.7. Схемы изложниц для отбора проб и пробниц разового пробоотборного устройства приведены на черт.1-3, 5, 8-10 приложения 1.
2.8. Масса пробы для химического анализа должна быть 0,3-2,0 кг, для спектрального анализа - 0,06-1,0 кг. Допускается использовать одну и ту же пробу для химического и спектрального анализа.
2.7, 2.8. (Измененная редакция, Изм. N 1).
2.9. При разливке металла в изложницу не допускается недолив и перелив, расплескивание и разбрызгивание металла, прерыв струи.
2.10. Металл в изложнице должен застывать спокойно. Для раскисления неуспокоенной стали к пробе добавляют алюминий чистотой не менее 99% из расчета его массовой доли в пробе не более 0,2%. При определении алюминия применяют силикокальций, ферросилиций, ферромарганец и другие раскислители, не содержащие алюминий.
(Измененная редакция, Изм. N 2).
2.11. Охлажденные пробы металла освобождают из изложниц. Допускается охлаждать пробы обдувом сжатым или вентиляторным воздухом, а также в воде. Температура пробы перед погружением в воду не должна превышать 500 °С.
2.12. Пробу маркируют номером плавки, ковша и порядковым номером пробы. Высота цифр для клейма должна быть 5-10 мм. Допускается применять другие методы маркировки проб, обеспечивающие ее четкость и сохранность.
2.13. Проба должна быть плотной, без трещин, раковин, видимых шлаковых включений. На поверхности пробы не допускаются заусенцы, плены, пояса от перерыва струи при разливке, наплавы в верхней части пробы.
2.14. Допускается пробы ковать и подвергать отжигу.
2.15. Поверхность металла в местах отбора пробы в виде стружки очищают от шлака, механических загрязнений, окалины.
2.16. Пробу в виде стружки стали отбирают фрезерованием, обточкой, строганием всего поперечного сечения пробы или сверлением середины одной из боковых поверхностей на глубину до продольной оси пробы. Пробу отбирают без смазки. Допускается для охлаждения применять дистиллированную воду. Поверхность стружки не должна иметь цветов побежалости.
2.17. Короткую стружку толщиной не более 0,4 мм тщательно перемешивают. Подготовленную пробу помещают в закрывающуюся емкость. Масса пробы должна быть 20-100 г.
(Измененная редакция, Изм. N 1).
2.18. Для спектрального анализа отрезают нижнюю часть пробы на расстоянии 1/3 высоты. Допускается использовать неразрезанные пробы. С нижней части пробы стачивают слой толщиной 1,5-2,0 мм, а у проб, взятых разовым пробоотборным устройством, с одной из плоскостей пробы снимают слой 0,5-1,0 мм.
На обработанной поверхности пробы не допускаются видимые невооруженным глазом раковины, шлаковые включения, а также дефекты механической обработки, трещины и цвета побежалости.
(Измененная редакция, Изм. N 1, 2).
2.19. Пробу хранят не менее 3 мес. Допускается при применении сталей и сплавов внутри предприятия устанавливать другой срок хранения.
3. ОТБОР И ПОДГОТОВКА ПРОБ ДЛЯ ОПРЕДЕЛЕНИЯ ХИМИЧЕСКОГО СОСТАВА ГОТОВОГО ПРОКАТА
3.1. Химический состав плавки стали и сплавов, при необходимости, определяют по пробе, отобранной от слитков, непрерывнолитых заготовок, кованого металла или проката.
Отбор проб проводят от слитка или непрерывнолитой заготовки, соответствующих середине плавки, сверлением или вырезкой куска металла из средней части слитка на глубину 50-70 мм.
3.2. Для определения химического состава стали и сплавов открытой выплавки отбирают не менее трех единиц проката. От отобранной единицы проката или кованого металла отбирают одну пробу.
3.3. Для определения химического состава металла вакуумно-индукционной плавки пробу отбирают от одного или нескольких слитков, передельных заготовок, единиц готового проката; для металла, вакуумно-дугового и электрошлакового переплавов - от слитков, передельных заготовок или единиц готового проката, полученных из металла одной исходной плавки переплавом по одному и тому же режиму.
Для металла вакуумно-индукционной выплавки и вакуумно-дугового переплава пробы отбирают от верхней части, электрошлакового переплава - от нижней части слитка или соответствующих им передельных заготовок или готового проката. Для слитков электрошлакового переплава, выплавленных на бездуговом способе подпитки, пробы отбираются в верхней части слитка.
(Измененная редакция, Изм. N 2).
3.4. Пробу в виде стружки для химического анализа берут от пробы или непосредственно от контролируемой единицы проката, заготовки, слитка.
Поверхность металла перед отбором стружки для химического анализа тщательно очищают от окалины и механических загрязнений. При обезуглероживании или науглероживании стали поверхность зачищают до полного удаления указанных слоев.
3.5. Для слитков, катаной и кованой заготовок, а также для поковок, сортового, фасонного, полосового проката и бесшовных труб стружку отбирают одним из способов:
- обработкой всего поперечного сечения проката или симметричной половины его;
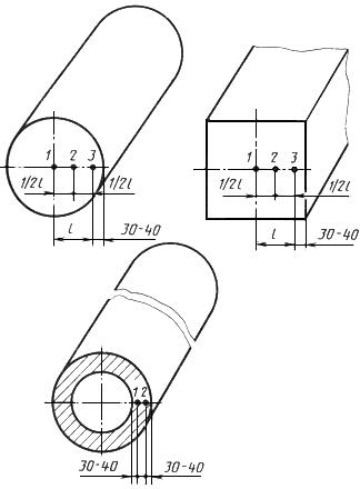
- сверлением поперечного сечения вдоль направления прокатки на расстоянии 1/2 радиуса, 1/4 диагонали от поверхности или 1/2 толщины стенки трубы в соответствии с черт.1 приложения 2;
- сверлением одной из боковых поверхностей на глубину до середины пробы в соответствии с черт.2 приложения 2;
- сверлением поперечного сечения в соответствии с черт.3 приложения 2 для поковок диаметром или стороной квадрата более 500 мм.
Для проката малых сечений допускается сверление насквозь, при этом в фасонных профилях сверлят в середине ширины полки или 1/4 высоты профиля в соответствии с черт.4 приложения 2.
Для крупных фасонных профилей обработка всего поперечного сечения может быть заменена сверлением в разных точках по всему поперечному сечению с равномерным распределением и одинаковой глубиной сверления.
3.6. Для толстолистовой, широкополосной стали, бесшовных и сварных труб с толщиной стенки 4 мм и более пробу отбирают сверлением в трех точках, при этом для толщин до 50 мм включительно - на всю толщину, для толщин более 50 мм - до половины толщины.
Для листов и полос сверлят на расстоянии 10-15 мм от края, в середине ширины и в середине между двумя указанными точками.
Для сварных труб сверлят на расстоянии 20-25 мм от шва в точке, диаметрально противоположной шву, и в середине между двумя указанными точками.
3.7. Для тонколистовой стали, лент, бесшовных и сварных труб с толщиной стенки менее 4 мм стружку отбирают обработкой по всему сечению пробы, вырезанной из листа или ленты поперек направления прокатки, или отрезка трубы.
Перед обработкой пробу или отрезок трубы разрезают на несколько частей или сгибают в несколько слоев и сжимают.
Для листов толщиной 1 мм и более, а также труб с толщиной стенки 1 мм и более допускается вместо обработки поперечного сечения пробы отбирать пробу в соответствии с п.3.6.
3.8. От стальной проволоки пробу отрезают на расстоянии 10-15 мм от конца мотка.
Пробу измельчают строганием, фрезерованием или рубкой по всему поперечному сечению.
3.9. При возникновении разногласий в оценке химического состава пробу отбирают обработкой всего поперечного сечения проката или симметричной половины его.
3.10. Количество стружки, взятой в каждом месте, должно быть примерно одинаковым.
Стружку, взятую в разных местах или от различных единиц проката, объединяют, перемешивают и сокращают методом квартования до массы 20-100 г.
3.11. Пробы для спектрального анализа в виде поперечного темплета шириной 60 мм отбирают от каждой контролируемой единицы проката: от листов толщиной от 1 до 40 мм, сортового проката диаметром или стороной квадрата до 250 мм, уголков N 2-14, балок N 10-36, швеллеров N 5-30.
3.12. Для листовой и широкополосной стали из половины темплета вырезают образцы:
для листов толщиной 4 мм и менее - один образец размером 40х40 мм в соответствии с черт.1 приложения 3;
для листов толщиной более 4 мм - три образца размером 40х30 мм у края, середины и 1/2 полуширины в соответствии с черт.2 приложения 3. При толщине листа от 4 мм до 6 мм - черт.1 или 2 приложения 3.
3.11, 3.12. (Измененная редакция, Изм. N 2).
3.13. Для сортового проката диаметром или стороной квадрата до 50 мм используют все сечение темплета в соответствии с черт.3, 4 приложения 3. Для сортового проката или стороной квадрата более 50 мм из темплета вырезают образец шириной 40 мм симметрично диаметру или диагонали длиной через все сечение темплета в соответствии с черт.5, 6 приложения 3. В зависимости от размера темплета допускается разрезать образец на несколько частей.
(Измененная редакция, Изм. N 1, 2).
3.14. Для фасонного проката используют половину поперечного темплета. В зависимости от размера проката допускается разрезать образец на несколько частей в соответствии с черт.7-9 приложения 3.
3.15. Образцы для спектрального анализа для листов с толщиной менее 4 мм обрабатывают со стороны поверхности листа, для листов толщиной более 4 мм, а также для сортового и фасонного проката обрабатывают поперечное сечение. Для листов толщиной от 4 до 6 мм допускается обработка поверхности листа. На обработанной поверхности пробы не допускаются видимые невооруженным глазом раковины, шлаковые включения, а также дефекты механической обработки, трещины и цвета побежалости.
(Измененная редакция, Изм. N 2).
3.16. На обработанной поверхности каждого образца выполняют спектральный анализ в двух-трех точках, указанных на чертеже. Пятна обыскривания располагают на расстоянии не менее 10 мм от края профиля или листа порезки. Для сортового проката пятна обыскривания располагают по диаметру или диагонали. Одно пятно обыскривания должно попадать в центр профиля. Для листового и фасонного проката пятна обыскривания располагают по всей толщине профиля в соответствии с черт.10, 11 приложения 3. Результаты измерений усредняют по каждой единице проката.
3.17. Если пятно обыскривания по площади больше заточенного поперечного сечения профиля, то зачищают и прилегающие к ней поверхности, параллельные направлению прокатки.
ПРИЛОЖЕНИЕ 1 (рекомендуемое). СХЕМЫ ИЗЛОЖНИЦ ДЛЯ ОТБОРА ПРОБ
ПРИЛОЖЕНИЕ 1
Рекомендуемое
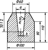
Черт.1. Изложница с формой усеченного конуса
Изложница с формой усеченного конуса

Черт.1
Черт.2. Изложница с формой усеченной четырехгранной пирамиды
Изложница с формой усеченной четырехгранной пирамиды

мм
мм
Черт.2
Черт.3. Комбинированная изложница с формой усеченного конуса
Комбинированная изложница с формой усеченного конуса

Материал: 1 - медь; 2, 3, 4, 5 - сталь
Черт.3
Черт.4. Изложница с формой призмы
Изложница с формой призмы

Черт.4
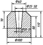
Черт.5. Изложница с формой усеченного конуса
Изложница с формой усеченного конуса

Материал - чугун или сталь
Черт.5
Черт.6. Изложница
Изложница

Черт.6
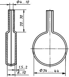
Черт.7. Двухдисковая изложница для отбора проб чугуна
Двухдисковая изложница для отбора проб чугуна

Материал - чугун или медь. Толщина образца - 4-6 мм
Черт.7
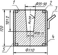
Черт.8. Пробница разъемная для отбора проб жидкой стали
Пробница разъемная для отбора проб жидкой стали

Материал - сталь
Черт.8
Черт.9. Пробница разъемная для отбора проб жидкой стали
Пробница разъемная для отбора проб жидкой стали

Материал - сталь
Черт.9
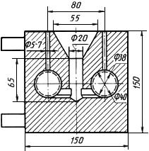
Черт.10. Пробница разъемная для отбора проб жидкой стали
Пробница разъемная для отбора проб жидкой стали

Материал - сталь
Черт.10
ПРИЛОЖЕНИЕ 1. (Измененная редакция, Изм. N 1, 2).
ПРИЛОЖЕНИЕ 2 (обязательное). СХЕМЫ ОТБОРА ПРОБ ОТ ЗАГОТОВОК, ПОКОВОК И ПРОКАТА ДЛЯ ХИМИЧЕСКОГО АНАЛИЗА
ПРИЛОЖЕНИЕ 2
Обязательное

Черт.1

Черт.2

Черт.3

Черт.4
ПРИЛОЖЕНИЕ 3 (обязательное). СХЕМЫ ОТБОРА ПРОБ ОТ ЗАГОТОВОК И ГОТОВОГО ПРОКАТА ДЛЯ СПЕКТРАЛЬНОГО АНАЛИЗА
ПРИЛОЖЕНИЕ 3
Обязательное

Черт.1

Черт.2

Черт.3

Черт.4

Черт.5

Черт.6

Черт.7

Черт.8

Черт.9

Черт.10

Черт.11
ПРИЛОЖЕНИЕ 4 (рекомендуемое). ОТБОР И ПРИГОТОВЛЕНИЕ ОБРАЗЦОВ И ПРОБ ДЛЯ ИСПЫТАНИЙ КОВАНОЙ СТАЛИ
ПРИЛОЖЕНИЕ 4
Рекомендуемое
Часть 2. Образцы для определения химического состава
ИСО 377-2-89
1. Назначение
1.1. Настоящий стандарт устанавливает способы получения образцов для определения химического состава стали, за исключением определения содержания водорода.
Образцы предназначены для проведения испытаний, которые (если нет других соглашений между заинтересованными сторонами) проводят в соответствии с методами, указанными в стандарте на продукцию, или, при его отсутствии, в стандарте на испытания.
Для проведения сравнения с техническим условием отбирают образец со средним химическим составом.
Методы определения химического состава разделяют на две группы:
а) химические методы, предусматривающие вступление образца в химическую реакцию (см. п.5);
б) физические методы, предусматривающие определение составляющих элементов без химической реакции (см. п.6).
1.2. Настоящий стандарт относится к сырым продуктам*, полуфабрикатам и изделиям из кованой стали, на которые распространяется ИСО 404-81, и не относится к образцам продуктов плавления или рафинирования. В случаях, когда стандарты на продукцию или стандарты на испытания устанавливают различные условия, то эти различные условия применяют.
_______________
* Применительно к настоящему стандарту понятие "сырые продукты” включает в себя не только металл в слитках, но и прокат: блюмы, слябы и заготовки другого профиля.
2. Ссылки
ИСО 377-1-89 Отбор и приготовление образцов и проб для испытаний кованой стали. Часть 1. Образцы и пробы для механических испытаний
ИСО 404-81 Сталь и стальные заготовки. Общие технические условия поставки
3. Термины
3.1. Образец-продукт: изделие (например лист), отобранное из партии для заготовления образцов.
3.2. Образец: определенное количество твердого материала, взятого из образца-продукта в качестве образца для анализа (см. п.3.3).
3.3. Образец для анализа: определенное количество материала, взятое из образца или непосредственно из продукта, сохраняющее средний химический состав продукта.
Образцы делят на следующие категории:
образцы в форме стружки (см. разд.5);
твердые образцы (см. п.6.1);
прессованные образцы (см. п.6.3);
переплавленные образцы (см. п.6.4).
3.4. Взвешенный и отобранный образец: часть образца для анализа или весь образец, взятый для анализа.
Примечание. Альтернативные методы подготовки образцов приведены на чертеже только для информации.
4. Отбор и подготовка образцов
4.1. Места отбора образцов и их размеры
Образцы могут отбирать только в местах, установленных стандартом на продукцию.
При отсутствии соответствующих требований в стандарте на продукцию или в технических условиях изготовителя образцы для анализа следует отбирать из образцов или проб, предназначенных для механических испытаний (см. п.5.1 ИСО 377-1), или отбирать непосредственно из продукта. В этом случае образцы круглого проката полного и неполного профиля отрезают от одного конца заготовки по поперечному сечению.
Размеры образцов должны быть достаточными для проведения, в случае необходимости, повторных испытаний.
4.2. Идентификация образцов
На образцах должна быть нанесена идентификационная маркировка для того, чтобы можно было установить продукт, из которого они отобраны, и место отбора.
4.3. Подготовка поверхности образца
Все покрытия или загрязняющие вещества (например окалина или смазки) должны быть удалены с поверхности образца любым подходящим способом. В случае необходимости поверхность должна быть обезжирена соответствующим раствором.
Если химический состав поверхности продукта имеет тенденцию к изменению, то соответствующая часть поверхности образца может быть удалена.
После этих операций следует обеспечить защиту образца от загрязнения.
4.4. Хранение образцов для анализа
Во избежание загрязнения или каких-либо изменений образцы должны хранить в абсолютно сухих контейнерах из химически инертных материалов, обладающих высоким сопротивлением истиранию сталью.
Контейнеры должны быть обеспечены соответствующей маркировкой и, при необходимости, опечатаны. Контейнеры, в которых хранят образцы, подлежащие арбитражной экспертизе, должны быть опечатаны изготовителем и получателем или их представителями.
При отсутствии специальной договоренности хранение контейнеров возложено на сторону, отвечающую за отбор образцов.

Цифры указывают на соответствующие пункты в тексте.
5. Отбор и подготовка образцов в форме стружки для определения химического состава с помощью химических методов анализа
5.1. Механическая обработка и резка
Все инструменты, станки и контейнеры, используемые для подготовки образцов, должны пройти предварительную очистку для предотвращения какого-либо загрязнения образцов для анализа.
Для отбора образцов по всему поперечному сечению продукта применяют строгание, фрезерование, точение или резание.
Если образцы отбирают не по всему поперечному сечению, а в отдельных местах, обычно применяют сверление или один из указанных видов обработки металла.
Использование смазочно-охлаждающих веществ разрешается только в исключительных случаях. В этом случае стружка должна быть очищена любым раствором, не оставляющим осадков.
При механической обработке продукта не допускается окисление и перегрев стружки. Неизбежное появление цветов побежалости стружки в результате нагрева при обработке некоторых видов марганцевых и аустенитных сталей должно быть сведено до минимума путем правильного выбора режущих инструментов и скорости резания.
В результате резания должна получаться стружка мелкая таких размеров, чтобы ее не пришлось дополнительно измельчать в соответствии с требованиями п.5.2.1 во время подготовки образцов для анализа.
Размер стружки должен быть таким, чтобы масса каждой стружки составляла от 2,5 до 25 кг.
Для нелегированных и низколегированных сталей стружка должна иметь массу около 10 мг, для высоколегированных сталей - около 2,5 мг.
Если испытывается углеродистая сталь, стружка должна быть по возможности сплошной и компактной (около 100 мг), чтобы не допустить выкрашивания и потери графита. Для определения содержания кислорода стружка, полученная в результате механической обработки металла, не подходит.
5.2. Измельчение и просеивание
5.2.1. Измельчение
Если стружка, полученная в соответствии с п.5.1, не подходит для испытаний, ее измельчают с помощью предварительно очищенной дробилки.
Если и это измельчение не подходит, применяют один из видов резания.
5.2.2. Просеивание
Если для получения нужного образца необходимо просеивание, то всю стружку просеивают через сито с отверстиями диаметром 2,5 мм.
При необходимости непросеянную стружку повторно дробят и снова просеивают.
Если образец содержит пыль, т.е. стружку, которая проходит через сито с отверстиями диаметром 0,050 мм, то эта пыль должна быть отделена просеиванием, и полученные таким образом две фракции взвешивают. В этом случае образец будет состоять из двух частей, пропорциональных этим фракциям.
Для определения содержания углерода берут целый образец, просеянный через сито с отверстиями диаметром 2,5 мм.
Для определения содержания азота образец подвергают механической обработке таким образом, чтобы было как можно меньше отдельных частиц размером менее 0,050 мм.
Просеивание следует проводить, соблюдая все необходимые меры предосторожности во избежание загрязнения, изменения и потери материала.
5.3. Масса образца для анализа
Масса образца должна быть достаточной для проведения, при необходимости, повторных анализов. Количество полученного для анализа материала определяют путем взвешивания. Достаточной считают массу около 100 г.
5.4. Хранение образцов для анализа
Хранение образцов осуществляют в соответствии с требованиями п.4.4.
Разрешается хранить образцы для анализа в виде твердой массы и готовить стружку по мере необходимости.
6. Отбор и подготовка твердых, прессованных или переплавленных образцов для определения химического состава с помощью физических методов анализа
(Эмиссионная спектрометрия в видимых и ультрафиолетовых областях спектра, рентгеновская флуоресценция, масс-спектрометрия и т.д.).
В зависимости от требований стандарта на продукцию или по соглашению заинтересованных сторон для испытаний используют:
а) твердый образец;
б) прессованный или переплавленный образец.
Примечание. Не все марки стали можно прессовать и переплавлять.
Для проведения анализа берут небольшую по объему часть образца. Объем испытуемого материала выбирают в соответствии с методом анализа.
6.1. Твердый образец
Твердый образец получают путем отделения от заготовки такой части материала, которую можно поместить на специальный столик или закрепить в держателе образца аналитического прибора.
Отделение образца выполняют путем распиловки, строгания, поперечного резания, среза или штамповки.
Поверхность образца шлифуют, фрезеруют или обрабатывают наждачной бумагой до чистоты, необходимой для проведения соответствующего анализа. Для обработки поверхности образца перед определением содержания кремния методом рентгеноспектрального флуоресцентного анализа или эмиссионной спектрометрии в качестве абразивного материала применяют глинозем. Перед определением теми же методами содержания алюминия поверхность образца обрабатывается кремниевым абразивом. При определении содержания углерода методом эмиссионного спектрометрического анализа для обработки поверхности образца используют абразив на оксидной основе.
При отсутствии каких-либо указаний в стандарте на продукцию для анализа отбирают часть образца, соответствующую поперечному сечению продукта, если образец имеет достаточную толщину.
6.2. Твердый образец толщиной менее 1,5 мм
При проведении некоторых физических методов анализа между твердым образцом и электродом (эмиссионная спектрометрия в видимых и ультрафиолетовых областях спектра или масс-спектрометрия) возникает электрическая дуга или искра, что приводит к нагреванию твердого образца. Чем тоньше образец, тем больше местный нагрев.
Для твердых образцов толщиной менее 1,5 мм может оказаться необходимым применение специальной технологии для уменьшения местного нагрева от искрения. Например, кромки твердого образца можно приварить* к небольшой стальной пластинке или наслоить одну сторону образца оловом, а вторую - оставить свободной.
_______________
* Применяется метод автогенной сварки вольфрамовым электродом в среде инертного газа.
Затем поверхность должна быть обработана, как указано в п.6.1.
6.3. Прессованный образец
Подготовку стружки проводят теми же методами и при тех же условиях, что и для образцов, предназначенных для анализа химическими методами (см. пп.5.1 и 5.2).
Примерно 10 г мелкой стружки правильной формы помещают внутрь металлического кольца с внутренним диаметром около 25 мм. Это кольцо укладывают на твердое стальное основание с абсолютно плоской хорошо отшлифованной верхней поверхностью. Пресс с плунжером, который свободно входит в кольцо с незначительным трением, создает сжимающее усилие, равное, по крайней мере, 1800 МПа*.
_______________
* 1 МПа =1 Н/мм =10 бар.
Затем поверхность спрессованных в одно целое образца с кольцом обрабатывают, как указано в п.6.1. После этого проводят анализ образца физическими методами.
Качество поверхности анализируемого образца в определенной степени зависит от формы и размеров стружки. Не следует использовать слишком мелкую стружку, которая может просеиваться через сито с отверстиями диаметром менее 0,80 мм.
Градуировочные кривые аналитического прибора вычерчивают по результатам анализа прессованных образцов.
6.4. Переплавленный образец
Стружка, твердые образцы или небольшие кусочки стали могут переплавляться в среде инертных газов в специальных плавильных аппаратах, таких как высокочастотная или аргонодуговая печь, для придания им формы, удобной для проведения спектрального анализа.
При этом важно, чтобы фиксировались любые количественные химические изменения переплавляемого материала и чтобы они не оказывали существенного влияния на результаты испытаний.
Примечание. Для максимального уменьшения изменений химического состава переплавляемого материала в него часто добавляют в качестве раскислителя 0,05 г циркония, а аналитический прибор градуируют по результатам испытания стандартных переплавленных образцов.
ПРИЛОЖЕНИЕ 4. (Введено дополнительно, Изм. N 2).
Электронный текст документа
подготовлен АО "Кодекс" и сверен по:
официальное издание
Сталь углеродистая обыкновенного
качества и низколегированная: Сб. ГОСТов. -
М.: Стандартинформ, 2009
Разместите заказ
сами сделают вам предложение
