ГОСТы сталей. ГОСТ Р 50542-93
ГОСТ Р 50542-93
Группа B00
ГОСУДАРСТВЕННЫЙ СТАНДАРТ РОССИЙСКОЙ ФЕДЕРАЦИИ
ИЗДЕЛИЯ ИЗ ЧЕРНЫХ МЕТАЛЛОВ ДЛЯ ВЕРХНЕГО СТРОЕНИЯ
РЕЛЬСОВЫХ ПУТЕЙ
Термины и определения
Ferrous metals products for the permanent way tracks.
Terms and definitions
ОКСТУ 1101
Дата введения 1994-07-01
ИНФОРМАЦИОННЫЕ ДАННЫЕ
1. РАЗРАБОТАН И ВНЕСЕН Российской корпорацией производителей черных металлов
РАЗРАБОТЧИКИ
Д.К.Нестеров, канд. техн. наук; В.Ф.Коваленко, канд. техн. наук; Н.Ф.Хиленко (руководитель работы); Н.Ф.Левченко, канд. техн. наук; В.И.Срокин, канд. техн. наук; Ю.А.Восковец
2. УТВЕРЖДЕН И ВВЕДЕН В ДЕЙСТВИЕ Постановлением Госстандарта России от 30.03.93 N 97
3. ВВЕДЕН ВПЕРВЫЕ
4. ССЫЛОЧНЫЕ НОРМАТИВНО-ТЕХНИЧЕСКИЕ ДОКУМЕНТЫ
Обозначение НТД, | Номер пункта |
ГОСТ 4121-76* | 18 |
ГОСТ 7173-54 | 18 |
ГОСТ 7174-75** | 18 |
ГОСТ 8161-75** | 18 |
ГОСТ 16210-77** | 18 |
ГОСТ 19240-73 | 18 |
________________
* Действует ГОСТ 4121-96.
** На территории Российской Федерации действует ГОСТ Р 51685-2000, здесь и далее по тексту. - Примечание "КОДЕКС".
Настоящий стандарт устанавливает термины и определения понятий, относящихся к видам рельсов, рельсовых накладок, подкладок и клемм, к элементам указанных изделий, основным поверхностям рельсов и отклонениям их геометрической формы.
Настоящий стандарт не распространяется на опытные рельсы, накладки, подкладки и клеммы, на накладки, подкладки и клеммы рельсовых скреплений для специального назначения.
Термины, установленные настоящим стандартом, обязательны для применения во всех видах документации и литературы, входящих в сферу работ по стандартизации и (или) использующих результаты этих работ.
1. Для каждого понятия установлен один стандартизованный термин.
Недопустимые к применению термины-синонимы приведены в круглых скобках после стандартизованного термина и обозначены пометой "Ндп".
Термины-синонимы без пометы "Ндп." приведены в качестве справочных данных и не являются стандартизованными.
2. Заключенная в круглые скобки часть термина может быть опущена при использовании термина в документах по стандартизации.
3. Приведенные определения можно при необходимости изменять, вводя в них производные признаки, раскрывая значения используемых в них терминов, указывая объекты, входящие в объем определяемого понятия. Изменения не должны нарушать объем и содержание понятий, определенных в данном стандарте.
В случаях, когда в термине содержатся все необходимые и достаточные признаки понятия, определение не приводится и вместо него ставится прочерк.
4. В стандарте приведены иноязычные эквиваленты стандартизованных терминов на немецком (de), английском (en) и французском (fr) языках.
5. В стандарте приведены алфавитные указатели терминов на русском языке и их иноязычных эквивалентах.
6. Термины и определения заготовок для изготовления рельсов и рельсовых накладок, подкладок и клемм приведены в приложении 1.
7. Термины элементов обычного и желобчатого рельсов и основных их участков поверхности приведены в приложении 2.
8. Термины и обозначения основных размеров указанных рельсов приведены в приложении 3.
9. Стандартизированные термины набраны полужирным шрифтом, а синонимы - курсивом.
1. ОБЩИЕ ПОНЯТИЯ1. ОБЩИЕ ПОНЯТИЯ | ||
1 изделие из черных металлов. | de Swarzmetallerzeugnisse | |
2 стальное изделие: Изделие из черных металлов, изготовленное из стали | de Stahlerzeugnisse | |
2. ВИДЫ РЕЛЬСОВ | ||
3 рельс: Стальное изделие в виде специального фасонного профиля, состоящее из головки, шейки, подошвы и предназначенное для верхнего строения рельсовых путей железнодорожного магистрального и промышленного транспорта, метрополитенов и трамвайных путей, а также для крановых и подвесных путей | de Schiene | |
4 обычный рельс | de | |
| ||
5 рельс с равномерным уклоном подошвы: Обычный рельс, у которого верхние наклонные поверхности подошвы выполнены в виде прямой линии | de Schiene mit
| |
| ||
6 рельс с неравномерным уклоном подошвы: Обычный рельс, у которого каждая верхняя наклонная поверхность подошвы состоит из двух граней, расположенных друг к другу под заданным углом | de Schiene mit
| |
| ||
7 специальный рельс | de besondere schiene | |
8 контррельс | de Gegenschiene | |
| ||
9 усовиковый рельс
| en wing rail of special section | |
| ||
10 остряковый рельс | en point rail | |
| ||
11 желобчатый рельс | de Rillenschiene | |
| ||
12 крановый рельс | de Kranbahn schiene | |
| ||
13 токосъемный рельс | de Stromschiene | |
| ||
14 тавровый рельс | de | |
| ||
15 двухголовый рельс | de Doppelkopfschiene | |
| ||
16 головной рельс: Рельс, изготовленный из головной части литого слитка | de Schiene die aus Kopf des | |
17 донный рельс: Рельс, изготовленный из донной части литого слитка | de Schiene die aus Boden des | |
18 рельс стандартной длины | de Schiene der standardisierten | |
19 рельс нестандартной длины: Рельс, величина длины которого не соответствует требованиям стандарта | de Schiene der nichtstandartisierten | |
20 рельс стандартной укороченной длины | de Standardschiene mit | |
21 сварной рельс стандартной длины: Рельс стандартной длины, сваренный из коротких рельсов | de der
| |
22 переходной рельс: Специальный рельс стандартной длины, сваренный из двух рельсов разных типов | de
| |
| ||
23 рамный рельс: Изготовленная из обычного рельса деталь стрелки, имеющая необходимое количество болтовых отверстий и скошенную часть головки рельса для укрытия остряка | en stock rail | |
24 старогодный рельс: Рельс, ранее находившийся в эксплуатации | de Altschiene | |
25 рельс из углеродистой стали | de Schiene aus Kohlenstoffstahl | |
26 рельс из микролегированной стали | de Mikrolegierte Schiene | |
27 рельс из модифицированной стали | de Schiene aus modifizierten Stahl | |
28 черновой рельс | de Rohschiene | |
29 нетермоупрочненный рельс | de | |
30 рельс с закаленными концами: Нетермоупрочненный рельс с термоупрочненными концами | de Schiene mit | |
31 термически обработанный рельс; термообработанный рельс | de Termischbehandelte Schiene | |
32 термически упрочненный рельс; термоупрочненный рельс; закаленный рельс | de Verfestigte Schiene | |
33 объемно-закаленный рельс | de | |
34 поверхностно-закаленный рельс | de | |
35 высокопрочный рельс | de Hoch Verfestigte Schiene | |
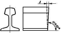
36 биметаллический рельс | de Bimetallschiene | |
3. ВИДЫ РЕЛЬСОВЫХ НАКЛАДОК, ПОДКЛАДОК И КЛЕММ | ||
37 рельсовая накладка | de Schienenlasche | |
38 наружная накладка желобчатых рельсов | de | |
| ||
39 внутренняя накладка желобчатых рельсов | de Innenlasche der Rillenschienen | |
40 двухголовая накладка | de Zweikopflasche | |
| ||
41 фартучная накладка | de Klemmlasche | |
| ||
42 объемлющая накладка | de Lasche der isolierenden | |
| ||
43 плоская накладка | de Flachlasche | |
| ||
44 нетермоупрочненная накладка: Рельсовая накладка в горячекатаном состоянии | de nicht thermoverfestigte Lasche | |
45 термически упрочненная накладка; термоупрочненная накладка: Рельсовая накладка, подвергнутая термической обработке путем принудительного ускоренного охлаждения от температуры аустенизации стали до температуры воздуха окружающей среды | de thermoverfestigte Lasche | |
46 накладка для клееболтового стыка: Рельсовая накладка для изготовления клееболтовых изолирующих стыков | de Leimboltenlasche | |
47 переходная накладка: Специальная накладка, предназначенная для стыкового соединения двух рельсов разного типа | de | |
48 рельсовая подкладка | de Schienenunterlage | |
49 подкладка раздельного скрепления: Рельсовая подкладка, к которой рельс закрепляется с помощью одних крепителей (например, клемм или изделий, заменяющих их), а сама подкладка закрепляется к опоре с помощью других крепителей | de Unterlage der geteilten Verbindung | |
| ||
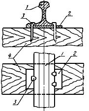
50 подкладка нераздельного скрепления: Рельсовая подкладка, к которой не предусмотрено закреплять рельс, так как рельс и эта подкладка закрепляются к опоре (шпале) одними и теми же крепителями | de Unterlage der ungeteilten Verbindung | |
1 - рельс; 2 - подкладка нераздельного скрепления; 3 - костыль путевой; 4 - шпала деревянная | ||
51 подкладка смешанного скрепления: Рельсовая подкладка, которая через часть ее отверстий с помощью крепителей закрепляется совместно с рельсом к опоре шпале, а через другие отверстия с помощью крепителей костылей или шурупов эта подкладка дополнительно крепится к опоре
| de Unterlage der gemischten Verbindung | |
52 подкладка полураздельного скрепления: Рельсовая подкладка, к одной стороне которой рельс закрепляется как при раздельном скреплении, а к другой ее стороне рельс закрепляется как при нераздельном скреплении | de Unterlage der halbgeteilten Verbindung | |
| ||
53 одноребордная подкладка | de Einrippenunterlage | |
54 двухребордная подкладка | de Zweirippenunterlage | |
55 клиновидная подкладка | de Keilunterlage | |
56 плоская подкладка: Рельсовая подкладка, в которой верхняя и нижняя рабочие поверхности подрельсовой площадки расположены на одном расстоянии между собой (то есть эти поверхности параллельны между собой) | de Flachstahllasche | |
57 рельсовая клемма | de Schienenklemme | |
58 жесткая рельсовая клемма: Рельсовая клемма, которая при монтаже и эксплуатации не меняет свою геометрическую форму | de Hartklemme | |
59 пружинная рельсовая клемма: Рельсовая клемма, которая при монтаже и эксплуатации изменяет свою геометрическую форму и изготовлена из рессорно-пружинной стали | de Schienenfederklemme | |
60 пластинчатая рельсовая клемма: Пружинная рельсовая клемма, изготовленная из листового проката | de Plattenklemme | |
61 прутковая рельсовая клемма: Пружинная рельсовая клемма, изготовленная из стального прутка | de Stabklemme fur die Schiene | |
62 стыковая рельсовая клемма: Рельсовая клемма, предназначенная для закрепления рельса в зоне рельсового стыка | de
| |
63 промежуточная рельсовая клемма: Рельсовая клемма, предназначенная для закрепления рельса в любой части его длины кроме его концов, где крепятся стыковые накладки | de Zweischenklemme | |
4. ЭЛЕМЕНТЫ И ОСНОВНЫЕ ПОВЕРХНОСТИ РЕЛЬСОВ | ||
64 головка рельса | de Schienenkopf | |
65 шейка рельса | de Schienensteg | |
66 подошва рельса | de
| |
67 фланец рельса | de Schienenflansch | |
68 перо подошвы рельса | de Feder des
| |
69 желоб головки рельса: Канавка в виде желоба с одной стороны головки рельса, предназначенная для предотвращения схода подвижного состава с рельсовой колеи | de Rinne des Schienenkopfes | |
70 губа головки рельса | de Schienenkopflippen | |
71 конец рельса | de Schienenende | |
72 торец рельса | de Schienenstirnseite | |
73 болтовое отверстие рельса | de Bolzenbohrung der Schiene | |
74 поверхность рельса | de Schienenoberflache | |
75 поверхность катания рельса | de | |
76 боковая грань головки рельса | de Schienefahrkante | |
77 радиус скругления профиля рельса | de Biegeradius des Schienenprofibs | |
78 выкружка головки рельса | de Ausrundung des Schienenkopfes | |
79 нижняя грань головки рельса | de Kopfschienenboden | |
80 основание подошвы рельса | de | |
81 боковая грань подошвы рельса | de Seitenkante des | |
82 наклонная поверхность подошвы рельса | en canted face of rail base | |
83 верхняя грань наклонной поверхности подошвы рельса: Наклонная поверхность подошвы рельса, соединяющая его шейку с нижней наклонной гранью подошвы | de Oberkante geneiqten en canted face upper side of rail base | |
84 нижняя грань наклонной поверхности подошвы рельса: Наклонная поверхность подошвы рельса, соединяющая низ верхней грани наклонной поверхности с боковой гранью подошвы рельса | de Unterkanteqeneigten | |
85 средняя треть подошвы рельса | de Mitteldritte des | |
86 крайняя треть подошвы рельса | de Dritte des | |
87 пазуха рельса | en fishplates fastening place to the rail | |
88 кромка болтового отверстия рельса: Геометрическое место точек пересечения поверхности шейки с внутренней поверхностью отверстия | de Kante der Schienenbolzenbohrung | |
89 кромка торца рельса: Геометрическое место точек пересечения поверхности рельса с поверхностью его торца | en rail butt edge | |
90 фаска торца рельса | de Fase der Schienenstirnseite | |
91 фаска болтового отверстия рельса | de Fase der Schienenbolzenbohrung | |
5. ОСНОВНЫЕ ОТКЛОНЕНИЯ ГЕОМЕТРИЧЕСКОЙ ФОРМЫ РЕЛЬСА | ||
92 несимметричность рельса
| de asymmetrische Schiene | |
93 несимметричность головки (рельса) относительно подошвы
| de Kopfasymmetriein Bezug auf den | |
94 несимметричность подошвы (рельса) относительно шейки
| de | |
95 выпуклость подошвы рельса
| de | |
96 вогнутость подошвы рельса
| de | |
97 косина торца рельса
| de Schiefschnitt der Schienenstirnseite | |
6. ОСНОВНЫЕ ЭЛЕМЕНТЫ ПОДКЛАДОК | ||
| ||
98 подрельсовая площадка подкладки: Основной элемент подкладки, на который рельс опирается основанием подошвы в процессе эксплуатации | en rail seat in tie plate | |
99 полка рельсовой подкладки: Элемент подкладки, расположенный на каждом ее крае за ребордой, предназначенный для крепления подкладки к рельсовой опоре и для обеспечения снижения давления, поступающего от колес подвижного состава
| de Flansch der Unterlagsplatte | |
100 наружноколейная полка подкладки: Полка подкладки, расположенная снаружи колеи железнодорожного пути | de | |
101 внутриколейная полка подкладки: Полка подкладки, расположенная внутри колеи железнодорожного пути | de Innengleisflansch der Unterlagsplatte | |
102 реборда подкладки: Элемент подкладки, расположенный между ее подрельсовой площадкой и полкой, выступающий над ними и предназначенный для удержания рельса в закрепленном состоянии в процессе его эксплуатации | de Unterlagsplattekante | |
103 болтовой паз подкладки: Паз, расположенный в реборде подкладки | de Bolzennut der Unterlagsplatte | |
104 отверстие подкладки: Отверстие для путевых костылей или путевых шурупов | de Bohrung | |
105 буртик полки подкладки | de Ansatz des Unterlagsplatteflansches | |
106 боковая кромка подкладки | de Seitenkante der Unterlangsplatt | |
7. ОСНОВНЫЕ ЭЛЕМЕНТЫ ДВУХГОЛОВОЙ НАКЛАДКИ ОБЫЧНЫХ РЕЛЬСОВ | ||
| ||
107 верхняя головка рельсовой накладки: Верхний элемент профиля накладки, который расположен над его шейкой и в процессе эксплуатации упирается в нижнюю грань головки рельса | de der obere Kopf der Lasche | |
108 нижняя головка рельсовой накладки: Нижний элемент профиля накладки, расположенный под его шейкой и в процессе эксплуатации упирается в наклонную поверхность подошвы рельса | de der untere Kopf der Lasche | |
109 шейка рельсовой накладки: Элемент накладки, соединяющий верхнюю и нижнюю ее головки и предназначенный для увеличения жесткости накладки | de Hals der Lasche | |
110 болтовое отверстие накладки: Сквозное отверстие, расположенное в области шейки накладки на заданном расстоянии от торца накладки и других ее отверстий | de Bolzanbohrung der Lasche | |
8. ОСНОВНЫЕ ЭЛЕМЕНТЫ ЖЕСТКОЙ РЕЛЬСОВОЙ КЛЕММЫ (типа КБ) | ||
| ||
111 длинная ножка клеммы | de Lange | |
112 короткая ножка клеммы | de Kurze | |
113 полка клеммы: Верхняя горизонтальная часть жесткой клеммы | de Klemmenflansch | |
114 торец длинной ножки клеммы: Опорная поверхность длинной ножки клеммы, которая в процессе эксплуатации упирается в верхнюю поверхность подкладки | de Ende des | |
115 торец короткой ножки клеммы: Опорная поверхность короткой ножки клеммы, которая в процессе эксплуатации упирается в наклонную поверхность подошвы рельса | de Ende des kleinen | |
АЛФАВИТНЫЙ УКАЗАТЕЛЬ ТЕРМИНОВ НА РУССКОМ ЯЗЫКЕ
асимметричность рельса | 92 |
башмак рельса | 66 |
буртик полки подкладки | 105 |
вертикальность реза рельса | 97 |
вогнутость подошвы рельса | 96 |
выкружка головки рельса | 78 |
выкружка головки рельса большая | 78 |
выкружка головки рельса рабочая | 78 |
выпуклость подошвы рельса | 95 |
выступ на полке подкладки | 105 |
головка рельса | 64 |
головка рельсовой накладки верхняя | 107 |
головка рельсовой накладки нижняя | 108 |
грань головки рельса боковая | 77 |
грань головки рельса верхняя | 75 |
грань головки рельса нижняя | 79 |
грань наклонной поверхности подошвы рельса верхняя | 83 |
грань наклонной поверхности подошвы рельса нижняя | 84 |
грань подошвы рельса боковая | 81 |
грань подошвы рельса наклонная | 82 |
гребенка головки рельса | 70 |
губа головки рельса | 70 |
губка головки рельса | 70 |
желоб головки рельса | 69 |
изделие из черных металлов | 1 |
изделие стальное | 1 |
изделие стальное | 2 |
камера стыковой накладки рельса | 87 |
клемма рельсовая | 57 |
клемма рельсовая жесткая | 58 |
клемма рельсовая пластинчатая | 60 |
клемма рельсовая промежуточная | 63 |
клемма рельсовая пружинная | 59 |
клемма рельсовая прутковая | 61 |
клемма рельсовая стыковая | 62 |
клемма рельсового скрепления | 57 |
конец рельса | 71 |
контррельс | 8 |
косина торца рельса | 97 |
край рельса | 71 |
кромка болтового отверстия рельса | 88 |
кромка подкладки боковая | 106 |
кромка подошвы рельса | 81 |
кромка торца рельса | 89 |
лапка клеммы большая | 111 |
лапка клеммы малая | 112 |
монорельс | 14 |
накладка двухголовая | 40 |
накладка двухголовчатая | 40 |
накладка двухуголковая | 41 |
накладка для клееболтового стыка | 46 |
накладка для рельсовых скреплений | 37 |
накладка желобчатых рельсов внутренняя | 39 |
накладка желобчатых рельсов наружная | 38 |
накладка изолирующих стыков | 42 |
накладка нетермоупрочненная | 44 |
накладка объемлющая | 42 |
накладка переходная | 47 |
накладка пластинчатая | 43 |
накладка плоская | 43 |
накладка рельсовая | 37 |
накладка рельсовая стыковая | 37 |
накладка рельсовых скреплений | 37 |
накладка термически упрочненная | 45 |
накладка термоупрочненная | 45 |
накладка трамвайная внутренняя | 39 |
накладка трамвайная наружная | 38 |
накладка фартучная | 41 |
непрямолинейность подошвы рельса | 95 |
непрямолинейность подошвы рельса | 96 |
несимметричность головки (рельса) относительно подошвы | 93 |
несимметричность подошвы (рельса) относительно шейки | 94 |
несимметричность рельса | 92 |
низ подошвы рельса | 80 |
ножка клеммы большая | 111 |
ножка клеммы длинная | 111 |
ножка клеммы короткая | 112 |
ножка клеммы малая | 112 |
одна треть конца основания подошвы | 86 |
одна треть середины подошвы рельса | 85 |
одна треть средней части поверхности подошвы рельса | 85 |
одна треть ширины основания подошвы наружная | 86 |
одна треть ширины середины основания подошвы рельса | 85 |
основание головки рельса | 79 |
основание подошвы рельса | 80 |
основание рельса | 66 |
остряк | 10 |
отверстие для болтов | 73 |
отверстие накладки болтовое | 110 |
отверстие подкладки | 104 |
отверстие рельса болтовое | 73 |
отклонение головки рельса от подошвы | 93 |
отклонение рельса от симметричности | 92 |
отклонение шейки рельса от подошвы | 94 |
паз подкладки болтовой | 103 |
пазуха рельса | 87 |
перекос реза рельса | 97 |
перо подошвы рельса | 68 |
перпендикулярность концов рельса | 97 |
перпендикулярность реза рельса | 97 |
площадка подкладки подрельсовая | 98 |
поверхность головки рельса боковая | 76 |
поверхность головки рельса верхняя | 75 |
поверхность головки рельса нижняя | 79 |
поверхность головки рельса рабочая | 75 |
поверхность катания рельса | 75 |
поверхность основания подошвы рельса | 80 |
поверхность подошвы рельса боковая | 80 |
поверхность подошвы рельса наклонная | 82 |
поверхность прилегания накладки к рельсу | 87 |
поверхность рельса | 74 |
поверхность рельса опорная | 80 |
поверхность рельса ходовая | 75 |
поверхность рельсовая | 74 |
подкладка двухребордная | 54 |
подкладка двухребордчатая | 54 |
подкладка клиновидная | 55 |
подкладка клинчатая | 55 |
подкладка нераздельного скрепления | 50 |
подкладка одноребордная | 53 |
подкладка одноребордчатая | 53 |
подкладка плоская | 56 |
подкладка подрельсовая | 48 |
подкладка полураздельного скрепления | 52 |
подкладка раздельного скрепления | 49 |
подкладка рельсовая | 48 |
подкладка смешанного скрепления | 51 |
подошва рельса | 66 |
полка клеммы | 113 |
полка подкладки внутриколейная | 101 |
полка подкладки наружноколейная | 100 |
полка рельса грибовидная | 64 |
полка рельсовой подкладки | 99 |
прогиб подошвы рельса | 95 |
прогиб подошвы рельса | 96 |
профиль рельсовый | 72 |
прямоугольность конца реза рельса | 97 |
пятка рельса | 66 |
радиус кривизны поверхности рельса | 77 |
радиус скругления профиля рельса | 77 |
реборда подкладки | 102 |
рельс | 3 |
рельс бесподошвенный | 15 |
рельс биметаллический | 36 |
рельс Виньоля | 4 |
рельс высокопрочный | 35 |
рельс головной | 16 |
рельс двухголовчатый | 15 |
рельс двухголовый | 15 |
рельс двухслойный | 36 |
рельс для кривых участков пути | 20 |
рельс донный | 17 |
рельс железнодорожный нормальный | 4 |
рельс железнодорожный типовой | 4 |
рельс желобчатый | 11 |
рельс закаленный | 31 |
рельс закаленный | 32 |
рельс из микролегированной стали | 26 |
рельс из модифицированной стали | 26 |
рельс из модифицированной стали | 27 |
рельс износостойкий | 35 |
рельс из углеродистой стали | 25 |
рельс каленый | 31 |
рельс каленый | 32 |
рельс контактный | 13 |
рельс контррельсовый | 8 |
рельс крановый | 12 |
рельс микролегированный | 26 |
рельс модифицированный | 27 |
рельс направляющий | 8 |
рельс незакаленный | 29 |
рельс незакаленный | 28 |
рельс необработанный | 28 |
рельс необработанный | 29 |
рельс нестандартной длины | 19 |
рельс нетермоупрочненный | 28 |
рельс нетермоупрочненный | 29 |
рельс общего пользования | 4 |
рельс объемно-закаленный | 33 |
рельс обычный | 4 |
рельс остряковый | 10 |
рельс охранный | 8 |
рельс первой группы | 26 |
рельс переводной | 10 |
рельс переходной | 21 |
рельс поверхностно-закаленный | 34 |
рельс подкрановый | 12 |
рельс путевой | 4 |
рельс рамный | 23 |
рельс сварной стандартной длины | 21 |
рельс с закаленными концами | 30 |
рельс с неравномерным уклоном подошвы | 6 |
рельс с равномерным уклоном подошвы | 5 |
рельс специальный | 7 |
рельс стандартной длины | 18 |
рельс стандартной укороченной длины | 20 |
рельс стандартный длинномерный | 18 |
рельс старогодный | 24 |
рельс Стивенса | 4 |
рельс с широкой подошвой | 4 |
рельс "сырой" | 28 |
рельс "сырой" | 29 |
рельс тавровый | 14 |
рельс термически необработанный | 29 |
рельс термически обработанный | 31 |
рельс термически упрочненный | 32 |
рельс термообработанный | 31 |
рельс термообработанный | 33 |
рельс термообработанный | 34 |
рельс термоупрочненный | 32 |
рельс термоупрочненный | 31 |
рельс токоподводящий | 13 |
рельс термоупрочненный | 34 |
рельс токосъемный | 13 |
рельс трамвайный | 11 |
рельс трамвайный желобчатый | 11 |
рельс углеродистый | 25 |
рельс усовиковый | 9 |
рельс черновой | 28 |
рельс широкоподошвенный | 4 |
спецрельс | 7 |
стойка клеммы большая | 111 |
стойка клеммы малая | 112 |
стойка рельса | 65 |
торец длинной ножки клеммы | 114 |
торец короткой ножки клеммы | 115 |
торец полки подкладки | 106 |
торец рельса | 72 |
треть подошвы рельса крайняя | 86 |
треть подошвы рельса средняя | 85 |
треть ширины основания подошвы рельса средняя | 85 |
упор клеммы большой | 111 |
упор клеммы малый | 112 |
усовик | 9 |
ус подошвы рельса | 68 |
фаска болтового отверстия рельса | 89 |
фаска на кромке болтового отверстия рельса | 91 |
фаска на торце рельса | 90 |
фаска торца рельса | 90 |
фланец рельса | 67 |
фланец рельсовый | 67 |
часть рельса верхняя | 64 |
часть рельса нижняя | 66 |
шейка рельса | 65 |
шейка рельсовой накладки | 109 |
АЛФАВИТНЫЙ УКАЗАТЕЛЬ ТЕРМИНОВ НА НЕМЕЦКОМ ЯЗЫКЕ
Ablenkungtorrichtung | 10 |
Altschiene | 24 |
Ansatz des Unterlagsplatteflansch | 105 |
| 62 |
Asymmetrische Schiene | 92 |
Ausrundung des Schienenkopfes | 78 |
| 100 |
| 3 |
Besondere Eisenbahnschiene | 7 |
Biegeradius des Schienenprofils | 77 |
Bimetallschiene | 36 |
Bohrung | 104 |
Bolzenbohrung der Lasche | 110 |
Bolzenbohrung der Schiene | 73 |
Bolzennut der Unterlagsplatte | 103 |
der obere Kopf der Lasche | 107 |
der untere Kopf der Lasche | 108 |
Doppelkopfschiene | 15 |
Dritte des | 86 |
Einrippenunterlage | 53 |
Eisenlahnschiene | 4 |
Ende des | 1 |
Ende des kleinen | 11 |
Fase der Schienenbolzenbohrung | 91 |
Fase der Schienenstirnseite | 90 |
Feder des | 68 |
Federklemme | 50 |
Flachlasche | 43 |
Flansch der Unterlagsplatte | 99 |
| 94 |
| 80 |
Gegenschiene des speziellen Profils | 8 |
| 34 |
Hals der Lasche | 109 |
Hartklemme | 58 |
Hochverfestigte Schiene | 35 |
Innengleisflansch der Unterlagsplatte | 101 |
Innenlasche der Rillenschienen | 39 |
Kante der Schienenbolzenbohrung | 88 |
Keilunterlage | 55 |
Klemmenflasch | 113 |
Klemmlasche | 41 |
Kopfasymmetry in Bezug auf den | 93 |
Kopfschienenboden | 79 |
Krangleis, Kranbahnschiene | 12 |
Kurze | 112 |
Lange | 111 |
Lasche der isolieren den | 42 |
Leimbolzenlasche | 46 |
Leitenkante des Schienenkopfes | 81 |
Mikrolegierte Schiene | 26 |
Mitteldritte des | 85 |
Nicht thermoverfestigte Lasche | 44 |
| 32 |
Oberkante des geneigten | 83 |
Plattenklemme | 59 |
Rillenschiene | 11 |
Rinne des Schienenkopfes | 69 |
Rohschiene | 28 |
Schiefschnitt der Schiene | 97 |
Schiene | 3 |
Schiene aus Kohlenstoffstahl | 25 |
Schiene aus modifizierten Stahl | 27 |
Schiene der nichtstandartisierten Lange | 19 |
Schiene der standartisierte Lange | 18 |
Schiene die aus Boden des | 17 |
Schiene die aus Kopf des | 16 |
Schienefahrkante | 76 |
Schiene mit | 30 |
Schiene mit | 5 |
Schiene mit | 6 |
Schienenflansch | 67 |
| 66 |
| 96 |
| 95 |
Schienenklemme | 57 |
Schienenkopf | 64 |
Schienenende | 71 |
Schienenkopflippen | 70 |
Schienenlasche | 37 |
| 75 |
| 74 |
Schienensteg | 65 |
Schienenstirnseite | 72 |
Schienenunterlage | 48 |
| 20 |
| 20 |
Seitenkante der Unterlangsplatt | 106 |
Stabklemme | 60 |
Stahlerzeugnisse | 2 |
Standardschiene mit verkurzen Lange | 20 |
Stirnseite des Unterlangsplattenflansches | 106 |
Stromschiene | 13 |
Swarzmetallerzeugnisse | 1 |
Termisch-behan delte Schiene | 31 |
T-formige Schiene | 14 |
Thermverfestigte Lasche | 45 |
| 22 |
| 22 |
Ubliche Eisenbahnschiene | 4 |
| 29 |
Unterkante geneigten | 84 |
Unterlage der gemischten Verbindung | 51 |
Unterlage der geteilten Verbindung | 49 |
Unterlage der halbgeteilten Verbindung | 52 |
Unterlage der ungeteilten Verbindung | 50 |
Unterlagsplattekante | 102 |
Verfestigte Schiene | 33 |
Zweikopflasche | 40 |
Zweirippenunterlage | 54 |
Zwischenklemme | 63 |
АЛФАВИТНЫЙ УКАЗАТЕЛЬ ТЕРМИНОВ НА АНГЛИЙСКОМ ЯЗЫКЕ
adhesivebolted fishplate | 46 |
aid rail | 24 |
bar stock rail clip | 59 |
base asymmetry relatively to web | 94 |
fase of rail bolt hole | 91 |
billet radius of rail section | 77 |
bimetallic rail | 36 |
bottom rail | 17 |
canted face of rail base | 82 |
canted face under side of rail base | 84 |
canted face upper side of rail base | 83 |
carbon steel rail | 25 |
clip crossmember | 113 |
clip for rail insulated joint | 62 |
compromise fish | 47 |
compromise rail | 22 |
conductor rail | 13 |
crane rail | 12 |
double-cranked fishplate | 41 |
double-headed fishplate | 40 |
double-headed rail | 15 |
double-shoulder tie plate | 54 |
edge of rail bolt hole | 88 |
end hardened rail | 30 |
end of long clip toe | 114 |
end of short clip toe | 115 |
ferrous metals' products | 1 |
field side flange of tie plate | 100 |
fishplate bolt hole | 110 |
fishplate web | 109 |
fishplates' fastening place to the rail | 87 |
flange ridge of tie plate | 105 |
flat tie plate | 56 |
flat fishplate | 43 |
foot of rail base | 80 |
gage corner of rail head | 78 |
gage side flange of tie plate | 101 |
girder guard rail | 11 |
guide rail | 8 |
head asymmetry relatively to base | 93 |
head hardened rail | 33 |
heat-hardened fishplate | 45 |
heat-hardened rail | 34 |
heat-treated rail | 31 |
high strength rail | 35 |
inner fishplate for girder guard rail | 39 |
insulated joint fishplate | 42 |
intermediate rail fastening clip | 63 |
lateral edge of tie plate flange | 106 |
lateral side of rail base | 81 |
lateral side of rail head | 76 |
long clip toe | 111 |
microalloy steel rail | 26 |
middle third of rail base | 85 |
modified steel rail | 27 |
out of square | 97 |
outer fishplate for girder guard rails | 38 |
point rail | 10 |
rail | 3 |
rail foot; rail base | 66 |
rail base point | 68 |
rail bolt hole | 73 |
rail butt | 72 |
rail butt edge | 89 |
rail butt face | 90 |
rail downsweep | 96 |
rail end | 71 |
rail fastening clip | 57 |
rail flange | 67 |
rail head | 64 |
rail head groove | 69 |
rail head lip | 70 |
rail head running surface | 75 |
rail seat in tie plate | 98 |
rail section asymmetry | 92 |
rail chair | 48 |
rail surface | 74 |
rail upsweep | 95 |
rail web | 65 |
rail with nonuniform of base cant | 6 |
rail with uniform of base cant | 5 |
rigid rail clip | 58 |
sheet steel rail clip | 59 |
short clip toe | 112 |
single shoulder tie plate | 53 |
splice bar | 37 |
spring steel rail clip | 59 |
standard inner rail | 20 |
standard-length rail | 18 |
special railway rail | 7 |
steel product | 2 |
stock rail | 23 |
the last third of rail base | 86 |
through-hardened rail | 32 |
tie plate flange | 99 |
tie plate hole | 104 |
tie plate of mixed fastening | 51 |
tie plate of non-separate fastening | 50 |
tie plate of semi-separate fastening | 52 |
tie plate of separate fastening | 49 |
tie plate shoulder | 102 |
tie plate slot for clip bolt | 103 |
top rail | 16 |
traditional railway rail | 4 |
T-section rail | 14 |
under fishplate head | 108 |
under side of rail head | 79 |
unhardened fishplate | 44 |
unhardened rail | 29 |
unstandardlengfh rail | 19 |
untreated rail | 28 |
upper fishplate head | 107 |
wedge-shaped tie plate | 55 |
welded rail of standard lengfh | 20 |
wing rail of special section | 9 |
АЛФАВИТНЫЙ УКАЗАТЕЛЬ ТЕРМИНОВ НА ФРАНЦУЗСКОМ ЯЗЫКЕ
about du rail | 72 |
aile de borne | 113 |
aile de selle | 99 |
| 109 |
| 65 |
| 88 |
| 93 |
| 94 |
| 92 |
barre longue | 20 |
base du patin du rail | 80 |
bord d'about du rail | 79 |
borne du rail | 57 |
borne du rail | 59 |
borne du rail | 62 |
borne du rail | 59 |
borne du rail de produit plat | 60 |
borne du rail | 63 |
borne du rail rigide | 58 |
bout du rail | 71 |
| 96 |
champignon | 64 |
chanfrein d'about du rail | 90 |
chanfrein du trou du boulon du rail | 91 |
chenal du champignon | 69 |
collet de l'aile de selle | 105 |
| 78 |
| 95 |
creux | 87 |
| 37 |
| 41 |
| 40 |
| 46 |
| 42 |
| 47 |
| 45 |
| 38 |
| 44 |
| 43 |
face | 84 |
face | 79 |
face | 76 |
face | 81 |
face | 83 |
flasque du rail | 67 |
patin | 66 |
produit d'acier | 2 |
produits du | 1 |
rail | 3 |
rail | 15 |
rail | 11 |
rail | 35 |
rail | 6 |
rail | 5 |
rail | 33 |
rail | 34 |
rail aux bouts | 30 |
rail bimetallique | 36 |
rail brut | 28 |
rail contreaiguille | 23 |
rail | 9 |
rail compensateur (court) | 20 |
rail d'acier au carbone | 25 |
rail d'acier | 26 |
rail d'acier | 27 |
rail de chemin de fer ordinaire | 4 |
rail de chemin de fer | 7 |
rail de contact; rail conducteur | 13 |
rail de distribution | 14 |
rail de guidage | 8 |
rail de longueur | 19 |
rail de longueur | 18 |
rail de raccord | 22 |
rail de | 24 |
rail du fond | 17 |
rail du haut | 16 |
rail durci thermiquement | 32 |
rail fixe | 23 |
rail mobile | 10 |
rail non durci | 29 |
rail pour appareil de lavage | 12 |
rail | 20 |
rail | 31 |
rayon de courbure du profil du rail | 77 |
rebord de selle | 102 |
rive | 106 |
selle | 48 |
selle | 53 |
selle | 52 |
selle | 50 |
selle | 49 |
selle | 51 |
selle | 54 |
selle | 55 |
selle plate | 56 |
surface d'appui du rail sur la selle | 98 |
surface de roulement du rail | 75 |
surface du rail | 74 |
surface | 82 |
| 108 |
| 107 |
trou | 104 |
trou du boulon | 110 |
trou du boulon du rail | 73 |
| 97 |
ПРИЛОЖЕНИЕ 1 (справочное). ТЕРМИНЫ И ОПРЕДЕЛЕНИЯ ЗАГОТОВОК ДЛЯ ИЗГОТОВЛЕНИЯ РЕЛЬСОВ И РЕЛЬСОВЫХ НАКЛАДОК, ПОДКЛАДОК, КЛЕММ
ПРИЛОЖЕНИЕ 1
Справочное
Наименование термина | Определение термина |
1. Рельсовая катаная заготовка | Стальная заготовка, прокатанная на блюминге из слитка, поперечным сечением которой является квадрат или прямоугольник (имеющий соотношение сторон менее 2 с длиной сторон от 140 до 450 мм) |
2. Рельсовая литая заготовка | Стальная заготовка, отлитая на УНРС, имеющая квадратную или прямоугольную форму поперечного сечения с длиной сторон более 100 мм, соотношение сторон - менее 2 |
3. Рельсовая биметаллическая заготовка | Полуфабрикат прокатного или литейного производства, состоящий из двух разнородных марок сталей или сплавов |
4. Заготовочная полоса накладки. Полоса накладки | Прокат, геометрическая форма поперечного сечения которого соответствует геометрической форме накладки |
5. Заготовочная полоса подкладки. Полоса для подкладки | Прокат, геометрическая форма поперечного сечения которого соответствует геометрической форме подкладки |
6. Заготовочная полоса клеммы. Полоса для клеммы | Прокат, геометрическая форма поперечного сечения которого соответствует геометрической форме клеммы |
Примечание
Нерекомендуемые к применению термины-синонимы приведены в круглых скобках и обозначены пометой "Нрк".
ПРИЛОЖЕНИЕ 2 (справочное). ТЕРМИНЫ ЭЛЕМЕНТОВ ОБЫЧНОГО И ЖЕЛОБЧАТОГО РЕЛЬСОВ И ОСНОВНЫХ ИХ УЧАСТКОВ ПОВЕРХНОСТИ
ПРИЛОЖЕНИЕ 2
Справочное
Наименование термина элемента или участка поверхности рельса | Примечание |
1. Головка рельса | Поз.1 черт.1, черт.2 |
2. Шейка рельса | Поз.2, черт.1, черт.2 |
3. Подошва рельса | Поз.3 черт.1, черт.2 |
4. Фланец рельса | Поз.4 черт.1 (по периметру о-е-ц-ж-з-и-к-л-щ-м) |
5. Перо подошвы рельса | Поз.5 черт.1 (по периметру ф-н-о-п-р-с) |
6. Губа рельса желобчатого | Поз.6 черт.2 |
7. Поверхность катания головки рельса | Черт.1 (участок a-a |
8. Боковая грань головки рельса | Черт.1 (участок б-в) |
9. Нижняя грань головки рельса | Черт.1 (участок г-д) |
10. Выкружка головки рельса | Черт.1 (участок а-б) |
11. Радиусы скругления профиля рельса | Черт.1 (участки в-г, д-д |
12. Основание подошвы рельса | Черт.1 (участок к-о) |
13. Наклонная поверхность подошвы рельса | Черт.1 (участок т-с) |
14. Боковая грань подошвы рельса | Черт.1 (участок з-и) |
15. Средняя треть подошвы рельса | Черт.1 (участок щ-ю) |
16. Крайняя треть подошвы рельса | Черт.1 (участок к-щ) |
17. Пазуха рельса | Черт.1 (пространство между участком г-д-е-ц) |
18. Желоб головки рельса | Черт.2 |
19. Торец рельса |
Черт.1. Основные элементы обычного рельса
Основные элементы обычного рельса

Черт.1
1 - головка; 2 - шейка; 3 - подошва; 4 - фланец; 5 - перо
Черт.2. Основные элементы желобчатого рельса
Основные элементы желобчатого рельса

Черт.2
1 - головка;
2 - шейка;
3 - подошва;
4 - фланец;
5 - перо; 6 - губа
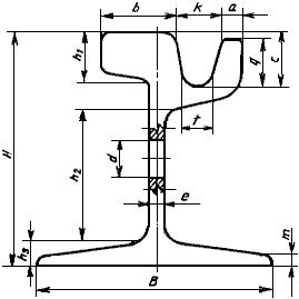
ПРИЛОЖЕНИЕ 3 (справочное). ТЕРМИНЫ И ОБОЗНАЧЕНИЯ ОСНОВНЫХ РАЗМЕРОВ ОБЫЧНОГО И ЖЕЛОБЧАТОГО РЕЛЬСОВ
ПРИЛОЖЕНИЕ 3
Справочное
Наименование термина | Обозначение термина |
I. Размеры поперечного сечения рельса | |
1. Высота рельса | |
2. Высота головки рельса | |
3. Высота шейки рельса | |
4. Высота подошвы рельса | |
5. Высота пера (подошвы) рельса | |
6. Толщина кромки фланца рельса | |
7. Минимальная толщина шейки рельса | |
8. Ширина нижней части головки рельса | |
9. Ширина верхней части головки рельса | |
10. Ширина подошвы рельса | |
11. Ширина фланца рельса | |
12. Ширина пера рельса | |
13. Высота губы (головки) рельса | |
14. Толщина губы (головки) рельса | |
15. Глубина желоба (головки) рельса | |
16. Верхняя ширина желоба рельса | |
17. Нижняя ширина желоба рельса | |
18. Диаметр болтового отверстия на концах рельса | |
19. Наклонная поверхность подошвы рельса | |
II. Линия и оси рельса | |
20. Линия центров рельса | Л. Ц. |
21. Вертикальная ось рельса | В. О. |
22. Ось болтовых отверстий рельса | О. Б. О. |
23. Нейтральная ось рельса | Н. О. |
III. Дополнительные размеры обычного рельса с неравномерным уклоном подошвы | |
24. Верхняя грань наклонной поверхности подошвы рельса | |
25. Нижняя грань наклонной поверхности подошвы рельса | |
26. Нижняя высота подошвы рельса | |
Черт.3. Основные размеры обычного рельса с равномерным уклоном подошвы

Черт.3
Основные размеры обычного рельса с равномерным уклоном подошвы
Черт.4. Основные размеры обычного рельса с неравномерным уклоном подошвы

Черт.4
Основные размеры обычного рельса с неравномерным уклоном подошвы
Черт.5. Основные размеры желобчатого рельса

Черт.5
Основные размеры желобчатого рельса
Текст документа сверен по:
официальное издание
М.: Издательство стандартов, 1993
Разместите заказ
сами сделают вам предложение
























