ГОСТы сталей. ГОСТ 12636-67
ГОСТ 12636-67
Группа П99*
__________________________________________
* В указателе "Национальные стандарты" 2008 г.
группа В89. - Примечание изготовителя базы данных.
ГОСУДАРСТВЕННЫЙ СТАНДАРТ
МАТЕРИАЛЫ МАГНИТНОМЯГКИЕ ВЫСОКОЧАСТОТНЫЕ
Методы испытаний в диапазоне частот от 1 до 200 Мгц
High frequency magnet malleable materials.
Testing methods at the range from I to 200 mc*
________________
* Текст соответствует оригиналу. - Примечание изготовителя базы данных.
Дата введения 1969-01-01
УТВЕРЖДЕН Комитетом стандартов, мер и измерительных приборов при Совете Министров СССР 16/II 1967 г.
Настоящий стандарт распространяется на высокочастотные магнитномягкие материалы, применяемые в радиоэлектронике: магнитодиэлектрики (на основе карбонильного железа и альсиферов) и ферриты, и устанавливает методы их испытаний.
Стандарт не устанавливает методов испытаний ферритов, применяемых в диапазоне СВЧ, и ферритов с прямоугольной петлей гистерезиса.
Настоящим стандартом устанавливаются следующие методы испытаний магнитномягких материалов в диапазоне частот от 1 до 200 Мгц, в слабых магнитных полях с напряженностью, равной или менее 0,1 коэрцитивной силы:
мостовой метод;
резонансный метод.
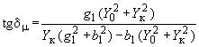
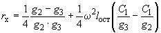
Формулы расчета приведены в таблице, а буквенные обозначения в формулах - в приложении 1.
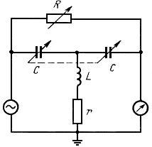
Аппаратура | Частот- | Принципиальная схема | Формулы расчета | Пределы измерения величин | Предель- | Средняя квадратич- |
1. Одинар- | От 5 до 10 |
|
| От 3 до 30 | 10 | 3 |
| От 5·10 | 20 | 7 | |||
| - | - | - | |||
2. Двойной Т-образный | От 20 до 300 |
|
| От 1 до 100 | 3 | 1 |
| От 5·10 | 15 | 5 | |||
3. Пермеа- | От 0,5 до 30 |
|
| От 1 до 100* | 10* | 3* |
| От 5·10 | От 15 до 30* | 10* | |||
4. Пермеа- | От 30 до 200 |
|
| От 3 до 200 | 10** | 3** |
| От 5·10 | От 15 | 10** | |||
5. Пермеа- |
|
|
| Менее 10*, для | Менее 3* | |
________________ | ||||||
1. ОБЩИЕ УКАЗАНИЯ
1. ОБЩИЕ УКАЗАНИЯ
1.1. Характеристики высокочастотных магнитномягких материалов
Высокочастотные магнитномягкие материалы предназначены для работы преимущественно в слабых полях. При этом важнейшей характеристикой является комплексная магнитная проницаемость :
,
где: - характеризует обратимые процессы;
- характеризует необратимое рассеяние энергии;
- мнимая единица.
На практике пользуются величинами начальной магнитной проницаемости и тангенса угла магнитных потерь
:
.
Начальной магнитной проницаемостью () называют предел, к которому стремится
при уменьшении внешнего магнитного поля до нуля.
Стандарт предусматривает определение следующих характеристик магнитномягких материалов:
начальной магнитной проницаемости ;
тангенса угла магнитных потерь ;
температурного коэффициента начальной магнитной проницаемости (), определяемого как относительное изменение начальной магнитной проницаемости в заданном интервале температур:
,
где: - величина начальной магнитной проницаемости при температуре
;
- величина начальной магнитной проницаемости при температуре
;
- температура начала опыта в °К;
- температура конца опыта в °К;
частотной зависимости начальной магнитной проницаемости;
частотной зависимости тангенса угла магнитных потерь;
зависимости магнитной проницаемости от амплитуды внешнего высокочастотного магнитного поля;
зависимости тангенса угла магнитных потерь от амплитуды внешнего высокочастотного магнитного поля.
1.2. Отбор образцов и подготовка их к испытаниям
Определение параметров магнитномягких материалов в указанном выше диапазоне частот производят путем измерения полного сопротивления намагничивающего элемента измерительной схемы. Испытуемый материал, помещенный в магнитное поле, вносит определенное изменение величин реактивной и активной составляющих полного сопротивления, по которому можно судить о характеристиках магнитного материала.
Измерение магнитных параметров проводят на образцах кольцевой формы.
Размеры образцов для испытаний должны выбираться так, чтобы отношение внешнего диаметра к внутреннему было равно 2 или 2,5, а минимальный внешний диаметр - 15 мм. Оптимальные размеры должны быть: внешний диаметр - 22 мм; внутренний - 11 мм; толщина - 5 мм.
Геометрические размеры: внешний и внутренний диаметры и толщину образца измеряют с точностью до третьей значащей цифры, а для размеров менее 10 мм - с точностью до двух значащих цифр.
Перед испытаниями образцы магнитномягких материалов подвергают температурной и магнитной подготовке в соответствии с требованиями стандартов или технических условий на данный материал.
При наличии нормальных образцов допускается использование относительных методов измерений магнитных параметров магнитномягких материалов.
Для поверки применяемой аппаратуры необходимы нормальные образцы магнитномягких материалов, которые вместе с применяемой аппаратурой аттестуются в организациях Комитета стандартов, мер и измерительных приборов при Совете Министров СССР. В качестве нормальных образцов применяют кольцевые сердечники, прошедшие старение.
1.3. Испытания проводят при температуре окружающего воздуха 298±10 °К (25±10 °С), относительной влажности не более 80% и атмосферном давлении 100000±4000 н/м (750±30 мм рт.ст.).
1.4. Аппаратура
1.4.1. Для испытаний магнитномягких материалов в диапазоне частот от 1 до 100 Мгц применяют следующую аппаратуру:
одинарный Т-образный мост;
двойной Т-образный мост;
измеритель полного сопротивления;
измеритель полной проводимости;
двухконтурные пермеаметры;
одноконтурный пермеаметр;
двухконтурный температурный пермеаметр;
измеритель добротности;
соленоид;
катушку-датчик с малым числом витков;
генератор стандартных сигналов;
частотомер;
вольтметр электронный;
аттенюатор;
блок регулировки температур;
самописец;
измерительный приемник или чувствительный усилитель.
Характеристики приборов даны в приложениях 2, 3, 4, 5.
1.4.2. В качестве намагничивающего устройства применяют двухконтурный пермеаметр (на частоте от 1 до 30 Мгц) и одноконтурный пермеаметр (на частоте от 30 до 200 Мгц), присоединяемые к клеммам измерителя мостового или резонансного типа.
Двухконтурный пермеаметр - это высокочастотный трансформатор, первичная обмотка которого состоит из нескольких витков, а вторичная обмотка представляет собой короткозамкнутый виток-корпус, в магнитное поле которого помещают испытуемый образец.
Одноконтурный пермеаметр представляет собой коаксиальный виток, в магнитное поле которого помещают испытуемый образец.
1.4.3. Устройства, указанные в п.1.4.2, представляют собой вспомогательные приспособления, предназначенные для работы с измерителями полного сопротивления, полной проводимости, добротности.
Применяемый измеритель должен обеспечивать измерения с погрешностью не более ±5% по реактивной составляющей и ±10% по активной составляющей измеряемых проводимости или сопротивления.
Примечание. При использовании пермеаметра с измерителем полных сопротивлений или полной проводимости того или иного типа необходимо, чтобы клеммные устройства пермеаметра и измерителя соответствовали друг другу.
1.4.4. Для измерения напряженности магнитного поля в месте расположения образца применяют следующие приспособления:
катушку-датчик;
соленоид цилиндрический однослойный с известной площадью поперечного сечения, аттестованный органами Комитета стандартов, мер и измерительных приборов при Совете Министров СССР.
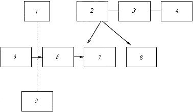
Указанные приспособления применяют вместе со следующими серийными приборами: генератором стандартных сигналов, измерительным приемником или измерительным усилителем, аттенюатором и вольтметром (черт.1).

1 - частотомер; 2 - катушка-датчик; 3 - измерительный приемник; 4 - выходной индикаторный прибор;
5 - генератор стандартных сигналов; 6 - аттенюатор; 7 - калибровочное поле (соленоид);
8 - испытуемое поле; 9 - электронный вольтметр
Черт.1
1.4.5. Определение температурной зависимости магнитной проницаемости и угла магнитных потерь производят с помощью температурного пермеаметра специальной конструкции. Для температурных испытаний применяют следующую аппаратуру:
двухконтурный пермеаметр (черт.2, приложение 2);
блок регулировки температур, обеспечивающий поддержание заданной температуры с погрешностью не более ±0,5 °К;
самописец для записи температуры класса точности 0,5;
клапанное устройство для регулировки отрицательных температур.
1.5. Подготовка аппаратуры к испытаниям
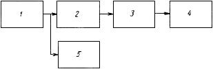
1.5.1. При измерении мостовым методом необходимо собрать установку в соответствии с блок-схемой (черт.2).

1 - генератор; 2 - мост; 3 - измерительный приемник (усилитель);
4 - электронный вольтметр; 5 - частотомер
Черт.2
1.5.2. При измерении резонансным методом с применением двухконтурного и одноконтурного пермеаметров, их электроды присоединяют к клеммам измерителя добротности.
1.5.3. Измерение напряженности магнитного поля должно производиться сравнением с образцовым полем той же частоты. В качестве источника образцового поля может быть взят соленоид, включенный на выход генератора стандартных сигналов.
Для измерения напряженности магнитного поля собирают установку по блок-схеме (черт.1). Вольтметр применяют в случаях, когда в генераторе отсутствует или имеет недостаточную чувствительность индикаторный прибор, вольтметр включают параллельно входу аттенюатора.
1.5.4. При проведении температурных испытаний к температурному пермеаметру присоединяют: блок регулировки температур (к нагревательной обмотке), водопровод (к штуцерам стабилизирующей водяной рубашки), самописец (к выходу термопары).
Для температурных измерений собирают установку по блок-схеме черт.3.

1 - температурный пермеаметр; 2 - блок регулировки температур; 3 - измеритель добротности;
4 - самопишущий потенциометр
Черт.3
1.5.5. Все приборы включают и подготавливают к работе согласно инструкции по их эксплуатации.
1.5.6. Правильность сборки блок-схем по пп.1.5.1; 1.5.2 и 1.5.4 проверяют с помощью нормальных образцов.
Правильность сборки установки для измерения напряженности магнитного поля (черт.1) проверяют, помещая 5 раз катушку-датчик в калибровочное поле и записывая показания выходного прибора 4, разброс показаний которого при постоянном значении показаний прибора 9 не должен превышать его погрешности.
2. ПРОВЕДЕНИЕ ИСПЫТАНИЙ
2.1. Измерения мостовым методом производят в следующем порядке:
а) устанавливают частоту генератора;
б) настраивают измерительный приемник на частоту генератора;
в) уравновешивают мост в соответствии с инструкцией по его эксплуатации;
г) записывают отсчеты в соответствии с пп.1 и 2 таблицы;
д) помещают испытуемый образец в специальную камеру, увеличивают длину линии на величину высоты образца (для двойного Т-образного моста);
е) производят второе уравновешивание моста;
ж) записывают отсчеты при втором уравновешивании;
з) вычисляют результат по формулам, приведенным в пп.1 и 2 таблицы.
2.2. Измерения резонансным методом с использованием двухконтурного пермеаметра производят в следующем порядке:
а) устанавливают частоту измерителя добротности в соответствии с типом выбранного пермеаметра;
б) производят измерение резонансной емкости и добротности пермеаметра с разомкнутой вторичной обмоткой (холостой ход);
в) производят измерение резонансной емкости и добротности пермеаметра с замкнутой накоротко вторичной обмоткой (короткое замыкание);
г) производят измерение резонансной емкости и добротности пермеаметра с испытуемым образцом;
д) записывают результаты измерений по подпунктам б, в, г и производят вычисления в соответствии с расчетными формулами п.3 таблицы.
2.3. При измерении резонансным методом с использованием одноконтурного пермеаметра измерения производят в следующем порядке:
а) определяют резонансную емкость и добротность пермеаметра без испытуемого образца;
б) определяют резонансную емкость и добротность с испытуемым образцом;
в) записывают результаты измерений и производят вычисления в соответствии с расчетными формулами п.4 таблицы.
2.4. При измерении магнитной проницаемости и угла магнитных потерь мостовым или резонансным методом необходимо определить напряженность магнитного поля.
Напряженность магнитного поля определяют в следующем порядке:
а) на вход измерительного приемника (например, П5-1) включают катушку-датчик. Эту катушку помещают в исследуемое поле и приемник настраивают в резонанс с частотой этого поля;
б) на частоту исследуемого поля настраивают генератор стандартных сигналов, на выход которого включен соленоид;
в) датчик переносят в соленоид и регулировкой выходного напряжения генератора стандартных сигналов добиваются такого же, как и при помещении датчика в исследуемое поле, отклонения выходного прибора приемника;
г) записывают результаты измерений и производят расчеты в соответствии с пп.3-5 таблицы.
2.5. Для определения температурной зависимости:
а) помещают образец в температурную камеру;
б) устанавливают скорость тока воды;
в) настраивают блок регулировки температур на заданную температуру, при достижении которой делают двадцатиминутную выдержку, после чего наблюдают показания приборов через каждую минуту. Температуру считают установившейся, если пять отсчетов, взятых подряд, имеют одинаковую величину;
г) записывают результат измерений;
д) повторяют операции, приведенные в подпунктах а, б, в, г для другой температуры и проводят расчет в соответствии с п.5 таблицы.
Примечание. Предварительную температурную тренировку образца проводят в соответствии с техническими условиями на материал, из которого он изготовлен.
2.6. Допускается определение температурной зависимости магнитной проницаемости с помощью температурного пермеаметра и измерительного моста.
3. ПОДСЧЕТ РЕЗУЛЬТАТОВ ИСПЫТАНИЙ
3.1. Вычисление начальной проницаемости и тангенса угла магнитных потерь, а также температурного коэффициента начальной проницаемости производят по формулам, приведенным в таблице.
3.2. Для ускорения определения параметров испытуемого материала, при измерениях с применением двухконтурного пермеаметра, допускается применять графики зависимости начальной магнитной проницаемости и тангенса угла магнитных потерь от измеренных на измерителе добротности значений добротности и резонансной емкости, построенные по формулам, приведенным в п.3 таблицы.
На черт.4 приведена графическая зависимость одного из образцов на частоте 1 Мгц при применении двухконтурного пермеаметра. Аналогичные графики могут быть построены для других частот и геометрических размеров в соответствии с формулами таблицы.

Черт.4
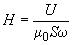
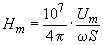
3.3. Величину напряженности магнитного поля рассчитывают по формуле:
,
где: - напряженность исследуемого поля (амплитудное значение) в а/м;
- амплитудное напряжение, приложенное к соленоиду, в в;
- частота исследуемого поля в 1/сек;
- площадь поперечного сечения соленоида в м
.
Ошибка измерения поля определяется погрешностью измерения , так как погрешность измерения по
и
менее 0,1%.
ПРИЛОЖЕНИЕ 1. Перечень основных буквенных обозначений в формулах стандарта
ПРИЛОЖЕНИЕ 1 к ГОСТ 12636-67
- реактивная составляющая проводимости, измеренная на клеммах моста в 1/ом; | |
- емкость при уравновешивании моста в отсутствии образца в фарадах; | |
- емкость при уравновешивании моста с исследуемым образцом в фарадах; | |
- резонансная емкость при разомкнутой крышке пермеаметра двухконтурного в фарадах; | |
- резонансная емкость при замкнутой крышке пермеаметра (для двухконтурного и одноконтурного) в фарадах; | |
- резонансная емкость при вложенном в пермеаметр испытуемом образце и замкнутой крышке пермеаметра (для двухконтурного и одноконтурного) в фарадах; | |
- резонансная емкость при вложенном в температурный пермеаметр испытуемом образце и замкнутой крышке пермеаметра при температуре | |
- резонансная емкость при вложенном в температурный пермеаметр испытуемом образце и замкнутой крышке пермеаметра при температуре | |
- внешний диаметр образца в см; | |
- внутренний диаметр образца в см; | |
- частота в гц; | |
- активная составляющая проводимости, измеренная на клеммах моста в 1/ом; | |
- активная составляющая проводимости при уравновешивании моста в отсутствие образца в 1/ом; | |
- активная составляющая проводимости при уравновешивании моста с испытуемым образцом в 1/ом; | |
- максимальное значение синусоидальной кривой напряженности магнитного поля в а/м; | |
- толщина образца в см; | |
| - мнимая единица; |
- калибровочная постоянная, указывается в паспорте пермеаметра двухконтурного; | |
- длина линии резонатора пермеаметра в см; | |
- геометрическая индуктивность образца в гн, равная
| |
- индуктивность, вносимая в схему образцом, в гн; | |
- "остаточная" индуктивность магазина проводимостей в гн (указывается в паспорте моста); | |
- добротность пермеаметра с разомкнутой крышкой; | |
- добротность пермеаметра с замкнутой крышкой; | |
- добротность пермеаметра с вложенным в него образцом и замкнутой крышкой; | |
- сопротивление, вносимое в схему образцом, в ом; | |
- площадь поперечного сечения соленоида в м | |
- температура образца по абсолютной шкале в начале опыта в °К; | |
- температура образца по абсолютной шкале в конце опыта в °К; | |
- максимальное значение синусоидальной кривой напряжения переменного тока в вольтах; | |
| - волновая проводимость линии в 1/ом; |
| - волновая проводимость образца в 1/ом; |
| - проводимость закороченной на конце линии длиной |
- волновое сопротивление линии в ом; | |
-волновое сопротивление образца в ом | |
- температурный коэффициент относительной начальной магнитной проницаемости в 1/град; | |
| - фазовая постоянная (волновое число) в 1/см; |
- угол магнитных потерь материала в радианах; | |
- длина волны в см; | |
- относительная комплексная магнитная проницаемость; | |
- действительная часть относительной комплексной магнитной проницаемости; | |
- мнимая часть относительной комплексной магнитной проницаемости; | |
- действительная часть начальной относительной комплексной магнитной проницаемости; | |
- магнитная постоянная; | |
- круговая частота в 1/сек; | |
| - калибровочная постоянная пермеаметра двухконтурного (указывается в паспорте пермеаметра). |
ПРИЛОЖЕНИЕ 2.
ПРИЛОЖЕНИЕ 2 к ГОСТ 12636-67
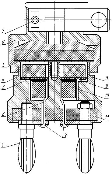
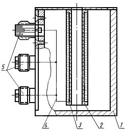
Конструкция разработанных НГИМИП двухконтурных пермеаметров показана на черт.1. Первичная обмотка пермеаметра нанесена на тороидальный сердечник 10 из магнитного материала с высокой проницаемостью и малыми потерями (первичный сердечник).

Черт.1
Вторичной обмоткой является сплошной замыкающийся медный цилиндр 8, охватывающий первичную обмотку, и измеряемый тороидальный сердечник 4. Первичный сердечник помещают на дно цилиндра; концы обмотки выводят к наконечникам 1 специальной конструкции через отверстия 2 в дне корпуса. Наконечники крепят к имеющейся в нижней части корпуса фторопластовой пластине 11. Вторая фторопластовая пластина 9 отделяет первичный сердечник от измеряемого. В качестве закорачивающего устройства применяют крышку 6 с кулачковым затвором 7, плотно прижимающим медную пластину 5 контактной поверхностью к цилиндру. Экран 3 предусмотрен для исключения емкостной связи между сердечниками.
Набор пермеаметров состоит из пяти высокочастотных пермеаметров типа ПВЧ, работающих на фиксированных частотах:
ПВЧ-1 - на частоте 1 Мгц;
ПВЧ-2 - на частоте 5 Мгц;
ПВЧ-2 - на частоте 10 Мгц;
ПВЧ-2 - на частоте 20 Мгц;
ПВЧ-2 - на частоте 30 Мгц.
Набор подобных пермеаметров может быть изготовлен на любые типоразмеры кольцевых сердечников, при этом для получения необходимой чувствительности и разрешающей способности добротность пермеаметра, замкнутого крышкой (короткое замыкание), должна быть не менее 50 единиц и отличаться от добротности пермеаметра с открытой крышкой (холостой ход) не менее чем в два раза.
Резонансные емкости должны иметь среднее для данного измерителя добротности значение и разность
должна быть не менее 10 пф ( - резонансная емкость в режиме короткого замыкания,
- то же для холостого хода).
Такие же требования следует соблюдать и при конструировании одноконтурного и температурного пермеаметров.
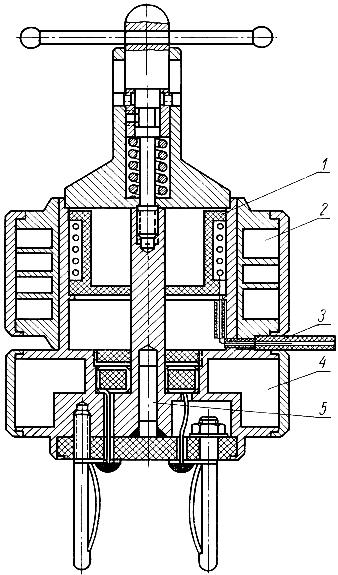
На черт.2 дана конструкция разработанного НГИМИП двухконтурного пермеаметра для исследования свойств ферритов в зависимости от температуры, который в отличие от двухконтурного пермеаметра, показанного на черт.1, имеет следующие дополнительно встроенные детали: в полость цилиндра помещена термокамера 1 и присоединительные концы проводов от нагревательного элемента выведены на контактную колодку 3. Для охлаждения в стабилизирующей водяной рубашке 4 и в полости центрального стержня 5 циркулирует проточная вода.

Черт.2
При низкотемпературных испытаниях применяют криокамеру 2, по которой под давлением проходит жидкий азот. В процессе работы на положительных температурах азотную камеру заменяют на дополнительную водяную рубашку.
На черт.3 изображен одноконтурный пермеаметр, который представляет собой коаксиальный виток, внешним проводником которого является трубка-корпус 1, средний стержень 2 является внутренним проводником и выполнен как одно целое с крышкой - короткозамыкающей перемычкой 3.

Черт.3
ПРИЛОЖЕНИЕ 3. Аппаратура, применяемая при измерении высокочастотного поля
ПРИЛОЖЕНИЕ 3 к ГОСТ 12636-67
При оценке напряженности поля на высоких частотах исходят из следующих предположений: индукция поля, создаваемая некоторым контуром в вакууме, будет , она связана с напряженностью поля
соотношением:
,
где - магнитная постоянная.
Значение магнитного потока () для контура с самоиндукцией можно записать в виде:
, так как
;
отсюда
,
где - площадь контура.
Так как ток создается за счет падения напряжения на контуре, сопротивление которого
, то
.
Полученное выражение показывает, что напряженность возможно оценить с помощью прибора, которым измеряют э.д.с.
.
Если в испытуемом и известном полях наводимое в чувствительном элементе прибора напряжение одинаково, то напряженности их равны (с точностью до постоянных составляющих). Это позволяет принять для измерения высокочастотных магнитных полей блок-схему, представленную в п.1.4.1, черт.1.
Конструкция построенного НГИМИП измерителя напряженности высокочастотных магнитных полей приведена на черт.4.

1 - корпус;
2 - каркас соленоида; 3 - обмотка соленоида; 4 - провода соединительные;
5 - разъемы коаксиальные
Черт.4
В металлическом корпусе-экране помещен калиброванный на постоянном токе соленоид, на который подается напряжение от генератора стандартных сигналов. На внешней стороне корпуса находятся гнезда 75-омных разъемов, из которых средний предназначен для соединения соленоида с генератором стандартных сигналов, один из крайних - для соединения соленоида с вольтметром, второй - для частотомера. Вольтметр и частотомер применяются, если в качестве источников э.д.с. применен не генератор стандартных сигналов, а какой-либо другой.
К соленоиду придается зонд, выполненный в виде катушки с малым числом витков, расположенных под углом 45° к оси (черт.5). Катушка снабжена экранированным кабелем, оканчивающимся штыревым разъемом 75 ом.

1 - катушка-датчик; 2 - трубка; 3 - втулка; 4 - ручка; 5 - кабель 75-омный со штыревым разъемом
Черт.5
Преимуществом настоящего метода является его простота, а также фактическое отсутствие влияния погрешности самого измерительного прибора, поскольку измерения проводятся, по существу, нулевым методом, а в расчетную формулу входит площадь поперечного сечения калибровочного соленоида, которую можно получить, аттестовав его на постоянном токе с погрешностью не более ±0,1%.
ПРИЛОЖЕНИЕ 4. Аппаратура, применяемая для испытаний магнитномягких материалов в диапазоне от 1 до 200 Мгц, выпускаемая промышленностью
ПРИЛОЖЕНИЕ 4 к ГОСТ 12636-67
Аппаратура | Тип | Частотный диапазон в Мгц |
Генераторы стандартных сигналов | Г4-18 | 0,1-35 |
Г4-44 | 10-400 | |
Г4-7А | 20-180 | |
Измерительный приемник | П5-1 | 18-150 |
Измерительный усилитель | У2-4 | |
Электронный вольтметр | ВК7-9 | 20 гц - 700 Мгц |
Аттенюаторы | Д2-5 | 1-30 |
Д0-7 | 1-200 |
Кроме рекомендованных, для измерения могут быть использованы приборы с техническими характеристиками, аналогичными указанным или лучше их и поверенные в установленном порядке.
ПРИЛОЖЕНИЕ 5. Приспособления и дополнительная аппаратура для магнитных испытаний в диапазоне частот от 1 до 200 Мгц
ПРИЛОЖЕНИЕ 5 к ГОСТ 12636-67
Наименование | Технические характеристики | Разработчик и N чертежа |
Мост одинарный Т-образный ВИМС-1 | Указаны в таблице | НГИМИП, черт. N И 378.00.000 |
Мост двойной Т-образный ВИМС-2 | То же | НГИМИП, черт. N И 96.00.000 |
Пермеаметры двухконтурные набор ПВЧ | " | НГИМИП, черт. N И 100.000 и черт. N И 70.000 |
Пермеаметр температурный ПВЧТ | " | НГИМИП, черт. N 740.00.00 |
Измеритель высокочастотного магнитного поля | Частота от 1 до 200 Мгц. Погрешность не более 5%. Измеряемые напряженности от 0,01 до 10 а/м | НГИМИП, черт. N 741.00.00 |
Блок регулировки температур | Регулируемые температуры от 20 °С до точки Кюри. Точность поддержания температуры не хуже ±0,5 °С | - |
Клапанное устройство | Регулировка температуры от 20 °С до -180 °С. Точность поддержания температуры не хуже ±2 °С | - |
Электронный потенциометр регулирующий и самопишущий | Градуировка: ХК, ХА. Класс точности 0,5 | - |
Электронный текст документа
подготовлен ЗАО "Кодекс" и сверен по:
официальное издание
М.: Издательство стандартов, 1967
Разместите заказ
сами сделают вам предложение









