ГОСТы сталей. ГОСТ Р 50575-93
ГОСТ Р 50575-93
(ИСО 7989-88)
Группа В79
ГОСУДАРСТВЕННЫЙ СТАНДАРТ РОССИЙСКОЙ ФЕДЕРАЦИИ
ПРОВОЛОКА СТАЛЬНАЯ
Требования к цинковому покрытию и
методы испытания покрытия
Steel wire. Requirements for zinc coating
and testing methods
МКС 25.220.40
77.140.65
ОКСТУ 1209
Дата введения 1994-07-01
ИНФОРМАЦИОННЫЕ ДАННЫЕ
1. РАЗРАБОТАН И ВНЕСЕН Техническим комитетом по стандартизации ТК 146 "Метизы"
2. УТВЕРЖДЕН И ВВЕДЕН В ДЕЙСТВИЕ Постановлением Госстандарта России от 22 июня 1993 г. N 157
3. Настоящий стандарт разработан методом прямого применения международного стандарта ИСО 7989-88 "Цинковые покрытия для стальной проволоки" с дополнительными требованиями, отражающими потребности народного хозяйства
4. ВВЕДЕН ВПЕРВЫЕ
5. ССЫЛОЧНЫЕ НОРМАТИВНО-ТЕХНИЧЕСКИЕ ДОКУМЕНТЫ
Обозначение НТД, на который дана ссылка | Номер пункта, приложения |
ГОСТ 427-75 | Приложение А, В, С |
ГОСТ 3118-77 | Приложение А, В |
ГОСТ 3134-78 | Приложение А, В |
ГОСТ 4165-78 | Приложение С |
ГОСТ 4204-77 | Приложение А, В |
ГОСТ 4328-77 | Приложение С |
ГОСТ 6507-90 | Приложение А, В |
ГОСТ 12026-76 | Приложение А, В |
ГОСТ 18300-87 | Приложение А, В |
ГОСТ 19347-84 | Приложение С |
ГОСТ 20288-74 | Приложение А, В, С |
ГОСТ 24104-88 | Приложение В |
ГОСТ 28498-90 | Приложение А |
ТУ 6-09-636-79 | Приложение А, В |
ТУ 6-09-3267-80 | Приложение А, В |
1. Назначение и область применения
1. Назначение и область применения
Настоящий стандарт устанавливает требования к массе, качеству и проведению испытаний цинковых покрытий на стальной проволоке, имеющей круглое поперечное сечение.
Дополнительные требования, отражающие потребности народного хозяйства, набраны курсивом.
2. Определения
2.1. оцинкованная проволока: Проволока, на которую нанесено цинковое покрытие для защиты ее от коррозии. Покрытие может наноситься методом погружения в ванну с расплавленным цинком, методом электроосаждения из водных растворов солей цинка и другими методами, обеспечивающими защиту от коррозии.
2.2. масса покрытия: Масса цинкового покрытия на единицу площади, выраженная в граммах на метр квадратный.
3. Требования к покрытию
3.1. Масса покрытия. Минимальная масса цинка на единицу площади поверхности должна соответствовать требованиям таблицы 1 для соответствующей группы покрытия.
Таблица 1
Номинальный диаметр оцинкованной проволоки* , мм | Минимальная масса цинкового покрытия, г/м | |||||
Группа покрытия** | ||||||
А | АВ *** | В | С*** | D | ||
АМ*** | АН *** | |||||
|
|
|
|
|
|
|
От 0,20 до 0,25 включ. | - | - | - | 20 | 20 | 10 |
Св. 0,25 " 0,40 " | - | - | - | 30 | 25 | 15 |
" 0,40 " 0,50 " | 90 | 75 | 60 | 40 | 30 | 20 |
" 0,50 " 0,60 " | 110 | 90 | 70 | 50 | 35 | 20 |
" 0,60 " 0,80 " | 120 | 110 | 75 | 60 | 40 | 20 |
" 0,80 " 1,00 " | 150 | 130 | 90 | 70 | 50 | 20 |
" 1,00 " 1,20 " | 180 | 150 | 105 | 80 | 60 | 25 |
" 1,20 " 1,50 " | 200 | 165 | 105 | 90 | 60 | 25 |
" 1,50 " 1,90 " | 230 | 180 | 120 | 100 | 70 | 30 |
" 1,90 " 2,50 " | 240 | 205 | 155 | 110 | 80 | 40 |
" 2,50 " 3,20 " | 260 | 230 | 185 | 125 | 90 | 45 |
" 3,20 " 3,60 " | 270 | 250 | 230 | 135 | 100 | 50 |
" 3,60 " 4,00 " | 280 | 250 | 230 | 135 | 100 | 60 |
" 4,00 " 4,40 " | 290 | 260 | 245 | 135 | 110 | 60 |
" 4,40 " 5,20 " | 290 | 270 | 245 | 150 | 110 | 70 |
" 5,20 " 8,20 " | 290 | 290 | 275 | - | 110 | 80 |
" 8,20 " 10,00 " | 300 | 300 | - | - | 110 | 80 |
* До удаления цинкового покрытия. | ||||||
Допускается получать покрытие групп А, АВ, С, D путем волочения проволоки после нанесения цинка.
3.2. Внешний вид покрытия
Покрытие должно быть непрерывным, гладким и равномерным, без пропусков и трещин, видимых без применения увеличительных приборов.
Примечание - Цинковое покрытие, нанесенное методом погружения проволоки в расплавы цинка, не всегда гладкое и не лишено неровностей. Поэтому при измерении диаметра должны выбираться гладкие участки проволоки.
3.3. Специальная чистовая отделка поверхности
По согласованию изготовителя с потребителем проволока изготовляется со специальной чистовой отделкой поверхности или блестящей поверхностью.
3.4. Адгезия покрытия
В соответствии с требованиями п.4.3 покрытие должно иметь прочное сцепление со стальной основой и не должно растрескиваться или отслаиваться до такой степени, чтобы чешуйки покрытия можно было удалить с поверхности проволоки пальцами.
Поверхностное пылевидное шелушение цинкового покрытия при испытании проволоки на адгезию, при механической полировке поверхности оцинкованной проволоки браковочным признаком не является.
3.5. Требования к сплошности и равномерности покрытия устанавливаются, при необходимости, в нормативно-технической документации на конкретные виды проволоки.
4. Требования к испытанию
4.1. Отбор образцов
4.1.1. Количество мотков (катушек) проволоки, отбираемых для испытания, устанавливается в нормативно-технической документации на конкретные виды проволоки или по согласованию между изготовителем и потребителем.
4.1.2. Образцы проволоки определенной длины для проведения испытания должны быть отобраны с одного или обоих концов каждого контролируемого мотка и с одного конца катушки.
При повреждении концов проволоки мотка (катушки) они должны быть отрезаны перед тем, как отбирать образцы проволоки для испытания.
4.2. Определение массы покрытия
4.2.1. Определение массы покрытия проводят одним из следующих методов:
а) объемно-газометрическим (см. приложение А);
б) гравиметрическим (весовым) (см. приложение В);
в) неразрушающим по методике, утвержденной и согласованной в установленном порядке.
При разногласиях гравиметрический метод должен быть использован в качестве арбитражного.
4.2.2. При гравиметрическом методе испытания для проволоки диаметром 3 мм и более длина испытуемого образца должна быть не менее 200 мм.
Примечание. Длина образца проволоки диаметром менее 3 мм должна быть такой, при которой масса в граммах в числовом выражении была бы не менее четырех диаметров в миллиметрах.
4.3. Испытание на адгезию
4.3.1. Проволока номинальным диаметром до 7,5 мм включительно должна испытываться на адгезию покрытия путем спиральной навивки не менее чем шестью плотными витками вокруг цилиндрической оправки диаметром, равным указанному в таблице 3.
Таблица 3
мм | |
Диаметр проволоки | Диаметр оправки |
До 3,8 включ. | 4 |
Св. 3,8 до 10,0 | 5
|
4.3.2. Проволока номинальным диаметром свыше 7,5 мм должна выдерживать испытание на изгиб под углом 90° вокруг оправки. Отношение диаметра оправки к диаметру проволоки должно соответствовать приведенным в таблице 3.
4.4. Сплошность и равномерность цинкового покрытия контролируются методом погружения (см. приложение С).
ПРИЛОЖЕНИЕ А (обязательное). Определение массы цинка, осажденного на единицу площади
ПРИЛОЖЕНИЕ А
(Обязательное)
Объемное-газотермический метод*
______________
* Заголовок соответствует оригиналу. - Примечание "КОДЕКС".
А1. Сущность метода
Цинковое покрытие образца проволоки растворяется в растворе ингибированной соляной кислоты, в растворе ингибированной серной кислоты или водном растворе смеси кислот: серной и соляной. Масса цинка, растворенная таким образом, определяется измерением объема водорода, выделившегося при растворении покрытия (объемно-газометрический метод). Отношение массы цинка к площади поверхности испытуемого образца, измеренной после растворения покрытия, определяет массу цинка, осажденную на единицу поверхности.
А2. Реактивы и средства измерения
Сурьма треххлористая (
) по ТУ 6-09-636;
окись сурьмы (
) по ТУ 6-09-3267;
кислота серная по ГОСТ 4204;
кислота соляная по ГОСТ 3118;
спирт этиловый ректификованный технический по ГОСТ 18300 или по другой нормативно-технической документации;
уайт-спирит по ГОСТ 3134 или по другой нормативно-технической документации;
четыреххлористый углерод по ГОСТ 20288;
обтирочный материал хлопчатобумажный;
бумага фильтровальная по ГОСТ 12026;
микрометр по ГОСТ 6507;
линейка измерительная металлическая по ГОСТ 427;
барометр;
термометр с ценой деления 1 °С по ГОСТ 28498;
шкаф сушильный с температурой нагрева не менее 100 °С;
прибор для определения массы цинкового покрытия (см. А1 и А2).
A.3. Растворы для снятия покрытия
A.3.1. Раствор ингибированной соляной кислоты
2 г трехокиси сурьмы (
) или 3,2 г сурьмы треххлористой (
) растворяют в 700 см соляной кислоты (
) плотностью 1,19 г/см
и доливают дистиллированной водой до 1 дм
.
А.3.2. Раствор ингибированной серной кислоты
2 г трехокиси сурьмы (
) или 3,2 г сурьмы треххлористой (
) растворяют в 60 см соляной кислоты (
) плотностью 1,19 г/см
и доливают до 1 дм
серной кислотой (
) плотностью 1,05 г/см (концентрации 80 г/дм
).
А.3.3. Раствор смеси кислот
В 500 см дистиллированной воды добавляют 100 г серной кислоты (56 см
серной кислоты плотностью 1,84 г/см
), затем 34 г соляной кислоты (100 см
соляной кислоты плотностью 1,15 г/см
). После охлаждения объем раствора доливают дистиллированной водой до 1 дм
.
A.3.4. Стравливающий раствор заменяют по мере его истощения.
А.4. Подготовка образцов к испытанию
После тщательного выпрямления образцов проволоки их разрезают на отрезки длиной:
300 мм - для проволоки длиной менее 1,0 мм;
150 мм - для проволоки диаметром от 1,00 до 1,49 мм;
100 мм - для проволоки диаметром от 1,5 до 3,0 мм;
50 мм - для проволоки диаметром более 3,0 мм.
Допускается применять для испытания отрезки больших длин и образцы разрезать на произвольное число отрезков в зависимости от условий испытания.
Длину отрезков следует тщательно проверять. Перед снятием покрытия образцы обезжиривают в одном из органических растворителей, указанных в п.А2, высушивают или протирают чистой тканью.
А.5. Методика проведения испытаний
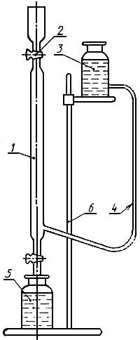
Раствор кислоты заливают в резервуар 3 (рисунок А.1) так, чтобы полностью была заполнена бюретка 1 до наивысшей отметки и часть раствора еще осталась в резервуаре 3.
Рисунок А.1. Прибор для определения массы цинкового покрытия на проволоке диаметром свыше 0,7 мм (объемно-газометрический метод)
Прибор для определения массы цинкового покрытия
на проволоке диаметром свыше 0,7 мм
(объемно-газометрический метод)

1 - бюретка; 2 - одноходовый кран; 3 - резервуар;
4 - резиновая трубка; 5 - сосуд; 6 - штатив
Рисунок А.1
Для проведения испытаний высота резервуара 3 регулируется так, чтобы уровень рабочего раствора в бюретке был на нуле и совпадал с уровнем в резервуаре, при этом кран 2 должен быть открыт.
Образцы определенной длины помещаются в бюретку сверху и кран 2 быстро закрывается. Растворение цинкового покрытия происходит до тех пор, пока не прекратится выделение водорода. Затем снова проводят выравнивание уровней раствора в бюретке и резервуаре, после чего записывают объем выделившегося водорода, опускают резервуар, открывают верхний кран 2 бюретки, дают раствору стечь из бюретки, открывают нижний кран бюретки для извлечения образца проволоки.
При работе с прибором (рисунок А.2) поступают аналогичным образом, только образец опускают в резервуар 5, быстро закрывают пробкой (кран 2 открыт), а затем закрывают кран. Объем выделившегося водорода определяют по подъему раствора в бюретке 1 от первоначального. После снятия покрытия испытуемый образец промывают в проточной воде и тщательно вытирают перед измерением диаметра.
Рисунок А.2. Прибор для определения массы цинкового покрытия на проволоке диаметром до 0,7 мм (объемно-газометрический метод)
Прибор для определения массы цинкового покрытия
на проволоке диаметром до 0,7 мм
(объемно-газометрический метод)

1 - бюретка; 2 - кран; 3 - пробка; 4 - резиновая трубка;
5 - резервуар; 6 - штатив
Рисунок А.2
Испытание проводится только на одном образце, температура в бюретке поддерживается (20±2) °С.
Допускается определение массы цинкового покрытия для проволоки диаметром св. 0,7 мм проводить на приборе, изображенном на рисуноке А.2, с учетом массы покрытия и объема, выделяющегося при этом водорода.
А.6. Обработка результатов
Результаты определяют после испытания всех образцов.
Масса цинка, осажденного на единицу площади поверхности , г/м
, определяют по формуле
![]()
где - средний объем водорода, выделившегося во время каждого испытания, см
;
- диаметр проволоки без покрытия, мм;
- длина испытуемого образца проволоки, мм.
Если барометрическое давление выходит за пределы 740-780 мм рт.ст., то правая часть приведенной выше формулы должна быть умножена на коэффициент
, где - барометрическое давление в мм рт.ст. (миллиметр ртутного столба =133,322 Па).
Если температура окружающей среды выходит за пределы 20 °С, а давление выходит за пределы 760 мм рт.ст., масса цинка, осажденного на единицу площади поверхности, определяется по формуле
![]()
где - коэффициент, учитывающий влияние температуры и давления при приведении объема выделившегося водорода к условиям: барометрическое давление 101,3
10
Па (760 мм рт.ст.), температура 20 °С. Коэффициент
выбирается по таблице 4.
Таблица 4
Значение коэффициента , учитывающего влияние температуры и атмосферного давления

На практике массу цинка на единицу площади поверхности можно определить непосредственно из таблиц в зависимости от диаметра проволоки и объема выделившегося водорода.
ПРИЛОЖЕНИЕ В (обязательное). Определение массы цинка, осажденного на единицу площади поверхности Гравиметрический (весовой) метод
ПРИЛОЖЕНИЕ В
(Обязательное)
В.1 Сущность метода
Цинковое покрытие с поверхности определенной площади растворяется в ингибированной кислоте. Потерю массы вследствие растворения покрытия определяют взвешиванием испытуемого образца до и после удаления покрытия.
В.2 Реактивы и средства измерения
сурьма (III) окись ТУ 6-09-3267, сурьма треххлористая ТУ 6-09-636;
кислота серная по ГОСТ 4204;
кислота соляная по ГОСТ 3118;
спирт этиловый ректификованный технический по ГОСТ 18300 или по другой нормативно-технической документации;
уайт-спирит по ГОСТ 3134 или по другой нормативно-технической документации;
четыреххлористый углерод по ГОСТ 20288;
обтирочный материал хлопчатобумажный;
бумага фильтровальная по ГОСТ 12026;
микрометр по ГОСТ 6507;
линейка измерительная металлическая по ГОСТ 427;
весы лабораторные общего назначения по ГОСТ 24104* второго класса точности, с наибольшим пределом взвешивания до 200 г или другие весы, отвечающие указанным требованиям по своим метрологическим характеристикам;
__________________
* С июля 2002 г. введен в действие ГОСТ 24104-2001.
шкаф сушильный с температурой нагрева не менее 100 °С.
В.3 Растворы для снятия цинкового покрытия
В.3.1 3,2 г хлорида сурьмы (
) или 2 г оксида сурьмы (
) растворяют в 500 см концентрированной соляной кислоты (плотностью 1,19 г/см
). Полученный раствор разбавляют дистиллированной водой до 1 дм
.
В.3.2 К 500 см дистиллированной воды добавляют 100 г серной кислоты (56 см
серной кислоты плотностью 1,84 г/см
), затем 34 г соляной кислоты (100 см
соляной кислоты плотностью 1,15 г/см
). После охлаждения объем раствора доливают дистиллированной водой до 1 дм
.
В.3.3 2 г оксида сурьмы (
) растворяют в 60 см соляной кислоты (плотностью 1,19 г/см
) и доливают до 1 дм
серной кислотой (плотностью 1,05 г/см
) концентрации 80 г/дм
.
Предостережение! При работе с раствором для снятия покрытия следует соблюдать осторожность вследствие токсичности соединений сурьмы.
В.4 Методика проведения испытания
Испытуемый образец обезжиривают одним из органических растворителей, указанных в В.2, которые не оказывают воздействия на покрытие, затем высушивают или протирают чистой тканью.
Перед удалением покрытия испытуемый образец взвешивают.
Количество раствора для удаления покрытия берется из расчета не менее 10 см на каждый квадратный сантиметр поверхности испытуемого образца.
Испытуемый образец полностью погружают в раствор при комнатной температуре и оставляют в нем до полного растворения покрытия.
Окончание процесса растворения определяют по прекращению первоначального интенсивного выделения водорода. Затем испытуемый образец промывают в проточной воде и, при необходимости, очищают щеткой для удаления прилипших к поверхности частиц, погружают в спирт, быстро просушивают или промывают дистиллированной водой и протирают чистой тканью до удаления влаги; высушивают и взвешивают.
Площадь поверхности определяют путем измерения размеров испытуемого образца после снятия покрытия.
В.5 Вычисление массы покрытия
Потерю массы , г, вычисляют по формуле
![]()
где - масса испытуемого образца до удаления покрытия, г;
- масса испытуемого образца после удаления покрытия, г.
Масса покрытия на единицу площади поверхности , г/м
, вычисляют по формуле
![]()
где - потеря массы, г;
- площадь поверхности, мм
.
Примечание - Для стальной проволоки удобно рассчитывать массу цинкового покрытия на единицу площади , г/м
, по формуле
![]()
где - диаметр проволоки после удаления покрытия, мм.
Плотность стали принимают равной 7850 кг/м. В этом случае длину проволоки не определяют.
Погрешность составляет от ±5% до ±10% средней величины (за счет разных способов нанесения покрытия, разных исследователей, различных приборов и различных рабочих условий).
ПРИЛОЖЕНИЕ С (обязательное). Метод погружения
ПРИЛОЖЕНИЕ С
(Обязательное)
С.1 Сущность метода
Образцы оцинкованной проволоки погружают в раствор сернокислой меди с последующим визуальным осмотром поверхности образцов.
С.2 Реактивы
Медь (II) сернокислая 5-водная по ГОСТ 4165 или купорос медный по ГОСТ 19347, 3% и 17%-ные растворы, вода дистиллированная, натрия гидроокись по ГОСТ 4328 1% раствор;
спирт этиловый ректификованный технический по ГОСТ 18300 или по другой нормативно-технической документации;
уайт-спирит по ГОСТ 3134 или другой нормативно-технической документации;
четыреххлористый углерод по ГОСТ 20288;
обтирочный материал хлопчатобумажный;
линейка измерительная металлическая по ГОСТ 427;
сосуд стеклянный.
С.3 Растворы
С.3.1 Гидрат окиси меди
К 3%-ному раствору меди сернокислой приливают 1%-ный раствор едкого натра. Выпавший осадок гидрата окиси меди промывают декантацией несколько раз, затем отфильтровывают и промывают на фильтре дистиллированной водой.
С.3.2 Раствор меди сернокислой
17%-ный раствор меди сернокислой нейтрализуют избытком свежеосажденного гидрата окиси меди, для чего в раствор меди сернокислой добавляют пастообразный осадок гидрата окиси меди, перемешивая до образования небольшого избытка последнего на дне сосуда, затем раствор фильтруют. Плотность нейтрализованного профильтрованного раствора должна быть 1,114-1,116 г/см.
С.3.3. Один и тот же раствор меди сернокислой объемом 200 см может быть использован для испытания образцов, количество которых в зависимости от диаметра проволоки приведено в таблице 5.
Таблица 5
Номинальный диаметр проволоки, мм | Количество образцов |
От 0,18 до 0,50 включ. | 100 |
Св. 0,50 " 1,00 " | 40 |
" 1,00 " 1,50 " | 20 |
" 1,50 " 2,00 " | 12 |
" 2,00 " 3,60 " | 8 |
" 3,60 " 5,20 " | 6 |
" 5,20 | 4 |
С.4. Испытуемые образцы
Длина отбираемых образцов проволоки - 150 мм.
С.5 Методика проведения испытания
Образцы проволоки обезжиривают одним из органических растворителей, указанных в пункте С.2, затем высушивают или протирают чистой тканью. Если образцы обезжиривают бензином, то дополнительно их промывают дистиллированной водой, высушивают или протирают чистой тканью, затем образцы погружают в стеклянный сосуд, заполненный раствором сернокислой меди на глубину не менее 100 мм.
Температура раствора во время испытания должна быть (18±2) °С.
После каждого погружения в раствор образцы промывают дистиллированной водой и протирают чистой тканью. Образцы должны погружаться точно на 1 мин. Если установлено погружение на 30 с, то оно должно проводиться после погружения на 1 мин. Образцы проволоки должны находиться в растворе в неподвижном состоянии, не соприкасаясь друг с другом и со стенками сосуда.
С.6 Результаты испытаний
Образцы рассматривают без применения увеличительных приборов (визуально).
На поверхности образца проволоки после испытания допускаются:
а) покраснение поверхности образца проволоки на участке, расположенном на расстоянии 10 мм от уровня раствора и на расстоянии 20 мм от погруженного в раствор нижнего конца образца;
б) бурый оттенок и покраснение точечного характера, исчезающее или не увеличивающееся по величине и яркости при дополнительном погружении образца в раствор на 1-2 с.
На поверхности образца проволоки после испытания методом погружения не допускаются места, покрытые медью, не сходящей при протирании ватой или чистой тканью.
Текст документа сверен по:
официальное издание
Проволока металлическая. Ч.3: Сб. ГОСТов. -
М.: ИПК Издательство стандартов, 2003
Разместите заказ
сами сделают вам предложение
