ГОСТы сталей. ГОСТ 13843-78
ГОСТ 13843-78
(CT СЭВ 1562-88)
Группа В74
ГОСУДАРСТВЕННЫЙ СТАНДАРТ СОЮЗА ССР
КАТАНКА АЛЮМИНИЕВАЯ
Технические условия
Rod aluminium wire. Technical conditions
ОКП 17 1213
Срок действия с 01.01.80
в части п.4.7 с 01.01.82
до 01.01.95*
_______________________________
* Ограничение срока действия снято
по протоколу N 4-93 Межгосударственного Совета
по стандартизации, метрологии и сертификации.
(ИУС N 4, 1994 год). - Примечание "КОДЕКС".
ИНФОРМАЦИОННЫЕ ДАННЫЕ
1. РАЗРАБОТАН И ВНЕСЕН Министерством цветной металлургии СССР
РАЗРАБОТЧИКИ СТАНДАРТА:
М.Д.Либерман, Н.С.Зобнина
2. УТВЕРЖДЕН И ВВЕДЕН В ДЕЙСТВИЕ Постановлением Государственного комитета стандартов Совета Министров СССР от 08.06.78 N 1561
3. Срок первой проверки - 1984 г.
Периодичность проверки - 5 лет
4. Стандарт полностью соответствует СТ СЭВ 1562-88
5. ВЗАМЕН ГОСТ 13843-68 и ГОСТ 5.807-74
6. ССЫЛОЧНЫЕ НОРМАТИВНО-ТЕХНИЧЕСКИЕ ДОКУМЕНТЫ
Обозначение НТД, на который дана ссылка | Номер пункта |
ГОСТ 1497-84 | 4.4 |
ГОСТ 1545-80 | 4.4а |
ГОСТ 3221-85 | 4.1 |
ГОСТ 6507-90 | 4.2 |
ГОСТ 7229-76 | 4.5 |
ГОСТ 11069-74 | 2.1, 2.3 |
ГОСТ 18690-82 | 5.1 |
ГОСТ 26877-86 | 4.2 |
7. ПЕРЕИЗДАНИЕ (май 1990 г.) с Изменениями N 1, 2, 3, утвержденными в апреле 1984 г., декабре 1988 г., октябре 1989 г. (ИУС 7-84, 2-89, 2-90)
8. Срок действия продлен до 01.01.95 Постановлением Государственного комитета СССР по управлению качеством продукции и стандартам N 3946 от 05.12.88
Настоящий стандарт распространяется на алюминиевую катанку, получаемую непрерывным литьем и прокаткой, предназначенную для изготовления проволоки и других электротехнических целей.
Стандарт устанавливает требования к алюминиевой катанке, изготовляемой для нужд народного хозяйства и для экспорта.
(Измененная редакция, Изм. N 2).
1. МАРКИ И РАЗМЕРЫ
1. МАРКИ И РАЗМЕРЫ
1.1. Катанка должна изготовляться пяти марок:
АКЛП-М - мягкая;
АКЛП-ПТ - полутвердая;
АКЛП-Т1, АКЛП-Т2, АКЛП-Т3 - твердая.
В зависимости от удельного электросопротивления постоянному току мягкую и полутвердую катанку изготовляют первого, второго и третьего классов, твердую - первого и второго классов.
В первом и втором классах - удельное электросопротивление определяется на катанке;
в третьем классе - удельное электросопротивление определяется на протянутой из катанки отожженной проволоке.
(Измененная редакция, Изм. N 3).
1.2. Диаметры катанки и предельные отклонения по ним должны соответствовать указанным в табл.1.
Коды ОКП приведены в справочном приложении 2.
Таблица 1
мм
Номинальный диаметр | Предельное отклонение по диаметру катанки марок | ||
АКЛП-М, | АКЛП-Т1 | АКЛП-Т2, | |
9 | ±0,3 | ±0,3 | ±0,3 |
9,5 | ±0,3 | ±0,3 | ±0,3 |
11,5 | ±0,4 | ±0,4 | - |
12 | ±0,4 | - | - |
14 | ±0,5 | - | - |
15 | ±0,5 | - | - |
18 | +0,8 | - | - |
19 | ±0,8 | - | - |
23 | ±1,0 | - | - |
25 | ±1,0 | - | - |
(Измененная редакция, Изм. N 1, 2,3).
1.3. (Исключен, Изм. N 1).
1.4. По требованию потребителя допускается изготовлять катанку других номинальных диаметров, при этом предельные отклонения должны соответствовать ближайшему большему размеру, указанному в табл.1.
(Измененная редакция, Изм. N 1).
1.5. Овальность катанки не должна превышать:
для диаметров до 10 мм - 0,4 мм,
для диаметров свыше 10 до 15 мм - 0,6 мм и для диаметров свыше 15 мм - 0,9 мм.
Примеры условного обозначения
Катанка первого класса, полутвердая, марки АКЛП-ПТ, из алюминия А5Е диаметром 9 мм:
Катанка I АКЛП-ПТ-5Е-9 ГОСТ 13843-78
То же, второго класса, из алюминия марки А7Е, диаметром 11,5 мм:
Катанка II АКЛП-ПТ-7Е-11,5 ГОСТ 13843-78
(Измененная редакция, Изм. N 3).
2. ТЕХНИЧЕСКИЕ ТРЕБОВАНИЯ
2.1. Катанку изготовляют в соответствии с требованиями настоящего стандарта по технологическому регламенту, утвержденному в установленном порядке.
Катанка марок АКЛП-М и АКЛП-ПТ первого и третьего классов должна изготовляться из алюминия марки А5Е, второго - из алюминия марки А7Е по ГОСТ 11069-74*.
_______________
* На территории Российской Федерации действует ГОСТ 11069-2001, здесь и далее. - Примечание "КОДЕКС".
Твердая катанка (марок АКЛП-Т1, АКЛП-Т2, АКЛП-Т3) первого и второго классов должна изготовляться соответственно из алюминия марок А5Е и А7Е с массовой долей железа до 0,4% и суммы примесей титана, ванадия, марганца и хрома - до 0,01%.
По требованию потребителя допускается изготовлять катанку марок АКЛП-М и АКЛП-ПТ с массовой долей железа не более 0,16%.
(Измененная редакция, Изм. N 3).
2.2. Катанка по всей длине должна иметь чистую, ровную, гладкую поверхность без посторонних включений, трещин, закатов, прирезов, заусенцев, плен, раковин, забоин, размер которых (глубина или высота) превышает отклонения, указанные в табл.1.
(Измененная редакция, Изм. N 2).
2.3. Механические свойства и удельное электрическое сопротивление постоянному току катанки должны соответствовать указанным в табл.2. По требованию потребителя катанка марки АКЛП-ПТ должна изготовляться с относительным удлинением не менее 15%.
Таблица 2
Марка катанки | Временное сопротивление разрыву, МПа | Удельное электрическое сопротивление | ||
Класс I | Класс II | Класс III | ||
АКЛП-М | Не более 80 | 0,0280* | 0,0277* | По ГОСТ 11069-74 |
АКЛП-ПТ | Не менее 83 | 0,0281* | 0,0280* | По ГОСТ 11069-74 |
АКЛП-Т1 | Не менее 98 | 0,0281 | 0,0280 | - |
АКЛП-Т2 | Не менее 105 | 0,0281 | 0,0280 | - |
АКЛП-Т3 | Не менее 110 | 0,0282 | 0,0281 | - |
_______________
* Только для катанки диаметром 9 и 9,5 мм.
(Измененная редакция, Изм. N 3).
2.4. (Исключен, Изм. N 3).
2.5. (Исключен, Изм. N 1).
2.6. Катанка всех марок должна выдерживать технологическую пробу волочением. При этом не должно быть более одного обрыва на две тонны катанки по дефектам металлургического характера (закаты, плены, раковины, посторонние включения).
(Измененная редакция, Изм. N 1).
2.7. (Исключен, Изм. N 1).
2.8. Катанка должна быть намотана в бухты одним отрезком массой от 600 до 2500 кг.
(Измененная редакция, Изм. N 3).
2.9. Катанка должна быть намотана в бухты без перепутывания, перехлестывания и залипания витков, препятствующих свободной размотке при ее волочении. Плотность намотки должна обеспечивать целостность бухт на операциях транспортирования и упаковывания.
(Измененная редакция, Изм. N 2).
2.10. По требованию потребителя катанка должна выдерживать количество скручиваний (табл.3) по двум направлениям без появления трещин или разрушения образца.
Таблица 3
Номинальный диаметр, мм | Количество скручиваний |
9,0 | 5/5 |
Св. 9,0 до 15,0 | 4/4 |
(Введен дополнительно, Изм. N 2).
3. ПРАВИЛА ПРИЕМКИ
3.1. Катанка принимается партиями. Партия должна состоять из катанки одного класса, одной марки, одной или нескольких плавок и одного размера.
Каждая партия катанки сопровождается документом о качестве, в котором указывают:
товарный знак или наименование и товарный знак предприятия-изготовителя;
диаметр катанки;
марку катанки;
номер плавки;
удельное электрическое сопротивление;
механические свойства;
массу партии;
номер партии;
количество бухт в партии.
(Измененная редакция, Изм. N 1, 2).
3.2. Проверке на соответствие требованиям пп.2.2; 2.8 и 2.9 следует подвергать каждую бухту катанки, а пп.1.2; 2.1; 2.3; 2.10 - 2% бухт, но не менее одной бухты от партии.
Проверке на соответствие требованиям пп.2.6 следует подвергать 2% бухт, но не менее двух бухт от партии.
(Измененная редакция, Изм. N 2, 3).
3.3. Проверка на соответствие требованиям п.2.3 в части удельного электросопротивления катанки третьего класса, пп.2.6 и 2.9 в части залипания витков должна производиться у потребителя.
(Измененная редакция, Изм. N 3).
3.4. При получении неудовлетворительных результатов испытаний хотя бы по одному из показателей по нему проводят повторное испытание на удвоенном количестве бухт, взятых от той же партии.
Результаты повторных испытаний распространяются на всю партию.
4. МЕТОДЫ ИСПЫТАНИЙ
4.1. Определение химического состава катанки производят по ГОСТ 3221-85 или другими методами, не уступающими по точности стандартному. При разногласиях определение химического состава катанки производят по ГОСТ 3221-85.
(Измененная редакция, Изм. N 2).
4.2. Измерение диаметра катанки должно производиться не менее чем в двух местах: в начале и в конце бухты на расстоянии не менее 1 м от конца. Измерение проводят микрометром по ГОСТ 6507-78 или другими измерительными инструментами с погрешностью не более 0,1 мм. За результат принимается среднее арифметическое наибольшего и наименьшего значений в каждом измеряемом сечении.
Овальность катанки проверяют по ГОСТ 26877-86*.
_______________
* Действует ГОСТ 26877-91. - Примечание "КОДЕКС".
(Измененная редакция, Изм. N 2, 3).
4.3. Проверка качества поверхности катанки по п.2.2 должна проводиться внешним осмотром наружных витков бухт.
Зачистка обнаруженных дефектов должна производиться по плоскости на длине 8 мм до исчезновения дефектов.
За величину дефекта принимают разность между диаметром катанки, измеренным рядом с зачищенным местом, и диаметром катанки, в месте, где производилась зачистка. Допускается измерение дефекта проводить индикаторным глубиномером по ГОСТ 7661-67.
Проверку на соответствие требованию п.2.9 проводят визуально по геометрии наружных витков бухты. Отсутствие залипания витков определяют при проведении технологической пробы волочением.
(Измененная редакция, Изм. N 1, 2).
4.4. Контроль механических свойств катанки производят по ГОСТ 1497-84 на образцах с начальной расчетной длиной 200 мм, отобранных на расстоянии не менее 1 м от начала или конца бухты.
(Измененная редакция, Изм. N 2).
4.4а. Испытание на скручивание проводят по ГОСТ 1545-80 на образце с рабочей длиной 300 мм, отобранном на расстоянии не менее 1 м от начала или конца бухты.
(Введен дополнительно, Изм. N 3).
4.5. Удельное электрическое сопротивление катанки проверяют по ГОСТ 7229-76 на образцах с расчетной длиной 1 м, отобранных на расстоянии не менее 1 м от начала или конца бухты.
Площадь поперечного сечения образцов определяют путем расчета по массе, принимая плотность алюминия равной 2,703 г/см.
4.6. Технологическую пробу волочением осуществляют на многократной машине за одну операцию в следующем режиме: диаметром 9 и 9,5 мм до диаметра 1,7-2,0 мм; диаметром 11,5 мм и выше - с суммарным обжатием 50-70%.
Допускаются обрывы при технологической пробе, если в месте обрыва отсутствуют дефекты металлургического характера.
4.5-4.6. (Измененная редакция, Изм. N 1, 2).
4.7. (Исключен, Изм. N 1).
5. УПАКОВКА, МАРКИРОВКА, ТРАНСПОРТИРОВАНИЕ И ХРАНЕНИЕ
5.1. Упаковка, маркировка, транспортирование и хранение катанки должны производиться по ГОСТ 18690-82.
5.2. Каждая бухта должна быть перевязана отрезками катанки или отходами алюминиевой проволоки не менее чем в трех местах для обеспечения целостности бухт при их транспортировании. Допускаются вмятины на поверхности катанки от обвязок, не выходящие за пределы полуторных допусков по диаметру.
Для катанки, предназначенной для экспорта, а также по согласованию изготовителя с потребителем допускается применение упаковки по нормативно-технической документации.
5.3. Транспортная маркировка по ГОСТ 14192-77*.
_______________
* На территории Российской Федерации действует ГОСТ 14192-96. - Примечание "КОДЕКС".
Каждая бухта катанки должна быть снабжена ярлыком с указанием:
товарного знака или наименования и товарного знака предприятия-изготовителя;
номера плавки;
номера бухты;
массы бухты;
марки катанки;
диаметра катанки в миллиметрах;
штампа технического контроля;
даты изготовления.
Штамп технического контроля допускается проставлять на пломбе, закрепляемой на бухте после ее обвязки.
5.2, 5.3. (Измененная редакция, Изм. N 1, 2).
5.4. (Исключен, Изм. N 2).
5.5. (Исключен, Изм. N 1).
5.6. Транспортирование катанки должно проводиться в крытых железнодорожных вагонах повагонными отправками.
По согласованию изготовителя с потребителем допускается транспортировать бухты катанки в открытых вагонах.
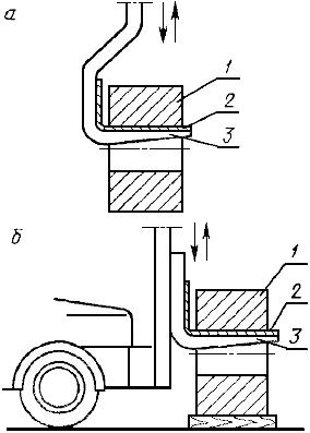
Погрузо-разгрузочные работы проводятся по схеме, приведенной в обязательном приложении 1.
(Измененная редакция, Изм. N 1, 2).
5.7. Катанка должна храниться в закрытых помещениях в условиях, исключающих механическое повреждение, воздействие влаги, загрязнений и химически активных веществ.
(Измененная редакция, Изм. N 2).
ПРИЛОЖЕНИЕ 1 (обязательное). Схема погрузки бухт катанки
ПРИЛОЖЕНИЕ 1
Обязательное

а) краном;
б) автопогрузчиком
1 - бухта; 2 - предохраняющая прокладка (резина, войлок, древесина и т.п.); 3 - захват
(Измененная редакция, Изм. N 1, 2).
ПРИЛОЖЕНИЕ 2 (справочное)
ПРИЛОЖЕНИЕ 2
Справочное
Коды ОКП | ||||||
Диаметр, мм | АКЛП-М | АКЛП-ПТ | ||||
Класс I | Класс II | Класс III | Класс I | Класс II | Класс III | |
9,0 | 17 1213 0101 | 17 1213 0102 | 17 1213 0103 | 17 1213 0201 | 17 1213 0202 | 17 1213 0203 |
9,5 | 17 1213 0104 | 17 1213 0105 | 17 1213 0106 | 17 1213 0204 | 17 1213 0205 | 17 1213 0206 |
11,5 | - | - | 17 1213 0107 | - | - | 17 1213 0207 |
12,0 | - | - | 17 1213 0108 | - | - | 17 1213 0208 |
14,0 | - | - | 17 1213 0109 | - | - | 17 1213 0209 |
15,0 | - | - | 17 1213 0110 | - | - | 17 1213 0210 |
18,0 | - | - | 17 1213 0111 | - | - | 17 1213 0211 |
19,0 | - | - | 17 1213 0112 | - | - | 17 1213 0212 |
23,0 | - | - | 17 1213 0113 | - | - | 17 1213 0213 |
25,0 | - | - | 17 1213 0114 | - | - | 17 1213 0214 |
Продолжение
Коды ОКП | ||||||
Диаметр, мм | АКЛП-Т1 | АКЛП-Т2 | АКЛП-Т3 | |||
Класс I | Класс II | Класс I | Класс II | Класс I | Класс II | |
9,0 | 17 1213 0301 | 17 1213 0302 | 17 1213 0401 | 17 1213 0402 | 17 1213 0501 | 17 1213 0502 |
9,5 | 17 1213 0303 | 17 1213 0304 | 17 1213 0403 | 17 1213 0404 | 17 1213 0503 | 17 1213 0504 |
11,5 | 17 1213 0305 | 17 1213 0306 | - | - | - | - |
12,0 | - | - | - | - | - | - |
14,0 | - | - | - | - | - | - |
15,0 | - | - | - | - | - | - |
18,0 | - | - | - | - | - | - |
19,0 | - | - | - | - | - | - |
23,0 | - | - | - | - | - | - |
25,0 | - | - | - | - | - | - |
(Измененная редакция, Изм. N 3).
Текст документа сверен по:
официальное издание
М.: Издательство стандартов, 1990
Разместите заказ
сами сделают вам предложение
