ГОСТы сталей. ГОСТ 8955-75
ГОСТ 8955-75
Группа В61
МЕЖГОСУДАРСТВЕННЫЙ СТАНДАРТ
СОЕДИНИТЕЛЬНЫЕ ЧАСТИ ИЗ КОВКОГО ЧУГУНА С ЦИЛИНДРИЧЕСКОЙ РЕЗЬБОЙ ДЛЯ ТРУБОПРОВОДОВ. МУФТЫ ПРЯМЫЕ ДЛИННЫЕ
Основные размеры
Ductile iron fittings with parallel thread for pipelines. Straight long sockets. Basic dimensions
МКС 23.040.60
Дата введения 1977-01-01
Постановлением Государственного комитета стандартов Совета Министров СССР от 14.11.75 N 2901 дата введения установлена 01.01.77
Ограничение срока действия снято по протоколу N 2-92 Межгосударственного Совета по стандартизации, метрологии и сертификации (ИУС 2-93)
ВЗАМЕН ГОСТ 8955-59
ИЗДАНИЕ (сентябрь 2010 г.) с Изменениями N 1, 2, утвержденными в сентябре 1980 г. и марте 1983 г. (ИУС 11-80, 7-83)
Введение
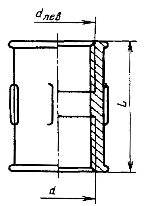
1a. Муфты должны изготовлять двух исполнений:
1 - с правой резьбой;
2 - с право-левой резьбой.
Стандарт полностью соответствует CT СЭВ 3303-81.
(Введен дополнительно, Изм. N 2).
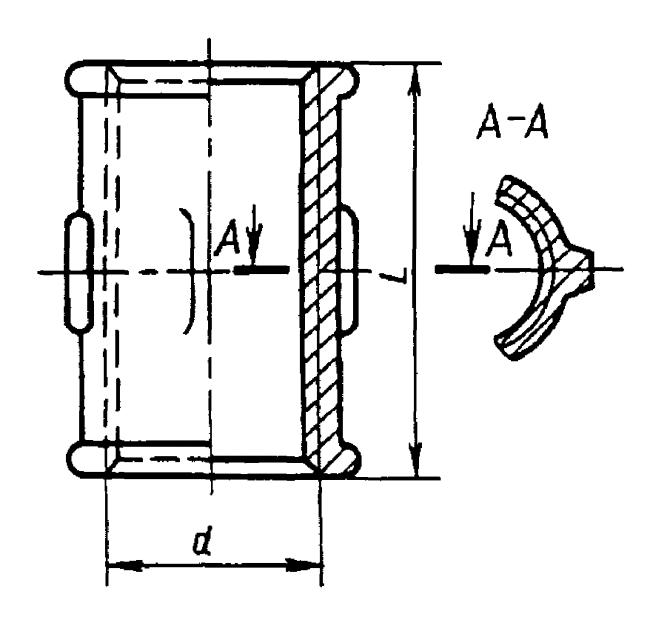
1. Основные размеры муфт должны соответствовать указанным на чертеже и в таблице.
Чертеж. Основные размеры муфт
Исполнение 1

Исполнение 2

Примечание. Чертеж не определяет конструкцию муфты.
Размеpы в мм
Условный проход | Резьба |
| Число ребер | Масса без покрытия, кг, не более* | |
Вариант по ГОСТ 8944-75 | |||||
1 | 2 | ||||
8 | G | 27 | 2 | 0,034 | 0,036 |
10 | G | 30 | 2 | 0,044 | 0,047 |
15 | G | 36 | 2 | 0,074 | 0,079 |
20 | G | 39 | 2 | 0,108 | 0,111 |
25 | G 1 - В | 45 | 4 | 0,173 | 0,173 |
32 | G 1 | 50 | 4 | 0,245 | 0,245 |
40 | G 1 | 55 | 4 | 0,342 | 0,296 |
50 | G 2 - В | 65 | 6 | 0,560 | 0,506 |
(65) | G 2 | 74 | 6 | 0,780 | 0,703 |
(80) | G 3 - В | 80 | 6 | 1,000 | 1,010 |
(100) | G 4 - B | 94 | 6 | 1,975 | 1,805 |
_______________
* Для справок.
Примечания:
1. Масса оцинкованных соединительных частей не должна превышать массу неоцинкованных более чем на 5%.
2. Муфты с , указанными в таблице в скобках, применять не рекомендуется.
Примеры условных обозначений
Прямой длинной муфты исполнения 1 без покрытия с =40 мм:
Муфта длинная 1-40 ГОСТ 8955-75
То же, с цинковым покрытием:
Муфта длинная 1-Ц-40 ГОСТ 8955-75
(Измененная редакция, Изм. N 1, 2).
2. Конструктивные размеры и технические требования - по ГОСТ 8944-75.
Электронный текст документа
подготовлен АО "Кодекс" и сверен по:
официальное издание
Трубы металлические и соединительные
части к ним. Часть 4. Трубы из черных
металлов и сплавов литые и соединительные
части к ним. Основные размеры. Методы
технологических испытаний труб:
Сб. ГОСТов. - М.: Стандартинформ, 2010
Разместите заказ
сами сделают вам предложение
