ГОСТы сталей. ГОСТ 8943-75
ГОСТ 8943-75
Группа В61
МЕЖГОСУДАРСТВЕННЫЙ СТАНДАРТ
СОЕДИНИТЕЛЬНЫЕ ЧАСТИ ИЗ КОВКОГО ЧУГУНА С ЦИЛИНДРИЧЕСКОЙ РЕЗЬБОЙ ДЛЯ ТРУБОПРОВОДОВ
Номенклатура
Ductile iron and steel fittings with parallel thread for pipelines. Nomenclature
МКС 23.040.60
Дата введения 1977-01-01
Постановлением Государственного комитета стандартов Совета Министров СССР от 14.11.75 N 2901 дата введения установлена 01.01.77
Ограничение срока действия снято по протоколу Межгосударственного совета по стандартизации, метрологии и сертификации (ИУС 2-93)
ВЗАМЕН ГОСТ 8943-59
ПЕРЕИЗДАНИЕ. Сентябрь 2010 г.
1. Настоящий стандарт распространяется на части из ковкого чугуна с цинковым покрытием и без покрытия, с цилиндрической трубной резьбой, предназначенные для соединения водо- и газопроводных труб (с применением уплотнителя) в системах отопления, водопровода, газопровода и в других системах в условиях неагрессивных сред (вода, насыщенный водяной пар, горючий газ и др.), при температуре проводимой среды не выше 175 °С и условном давлении: 1,6 МПа (
16 кгс/см
) при условных проходах не более
40 мм и
1 МПа (
10 кгс/см
) при условных проходах
50-100 мм.
2. Номенклатура соединительных частей приведена в таблице.
Наименование соединительных частей | Основные размеры | Эскиз | Сортамент |
Угольник прямой | По ГОСТ 8946-75 |
| 8; 10; 15; 20; 25; 32; 40; 50; (65); (80); (100) |
Угольник переходной | По ГОСТ 8947-75 |
|
|
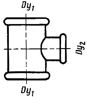
Тройник прямой | По ГОСТ 8948-75 |
| 8; 10; 15; 20; 25; 32; 40; 50; (65); (80); (100) |
Тройник переходной | По ГОСТ 8949-75 |
|
|
Тройник с двумя переходами | По ГОСТ 8950-75 |
|
|
Крест прямой | По ГОСТ 8951-75 |
| 10; 15; 20; 25; 32; 40; 50; (65); (80); (100) |
Крест переходной | По ГОСТ 8952-75 |
|
|
Крест с двумя переходами | По ГОСТ 8953-75 |
|
|
Муфта прямая короткая | По ГОСТ 8954-75 |
| 8; 10; 15; 20; 25; 32; 40; 50; (65); (80); (100) |
Муфта прямая длинная | По ГОСТ 8955-75 |
| 8; 10; 15; 20; 25; 32; 40; 50; (65); (80); (100) |
Муфта компенсирующая | По ГОСТ 8956-75 |
| 15; 20; 25; 32; 40; 50 |
Муфта переходная | По ГОСТ 8957-75 |
|
|
Ниппель двойной | По ГОСТ 8958-75 |
| 8; 10; 15; 20; 25; 32; 40; 50; (65); (80) |
Гайка соединительная | По ГОСТ 8959-75 |
| 8; 10; 15; 20; 25; 32; 40; 50; (65); (80) |
Футорка | По ГОСТ 8960-75 |
|
|
Контргайка | По ГОСТ 8961-75 |
| 8; 10; 15; 20; 25; 32; 40; 50; (65); (80); (100) |
Колпак | По ГОСТ 8962-75 |
| 15; 20; 25; 32; 40; 50 |
Пробка | По ГОСТ 8963-75 |
| 8; 10; 15; 20; 25; 32; 40; 50; (65); (80); (100) |
Примечание. Соединительные части с , указанными в таблице в скобках или обозначенные знаком "
", применять не рекомендуется.
Электронный текст документа
подготовлен АО "Кодекс" и сверен по:
официальное издание
Трубы металлические и соединительные
части к ним. Часть 4. Трубы из черных
металлов и сплавов литые и соединительные
части к ним. Основные размеры. Методы
технологических испытаний труб:
Сборник национальных стандартов. -
М.: Стандартинформ, 2010
Разместите заказ
сами сделают вам предложение

























