ГОСТы сталей. ГОСТ 8776-99
ГОСТ 8776-99
Группа В59
МЕЖГОСУДАРСТВЕННЫЙ СТАНДАРТ
КОБАЛЬТ
Методы химико-атомно-эмиссионного спектрального анализа
Cobalt.
Methods of chemical-atomic-emission spectral analysis
МКС 77.040.40*
ОКСТУ 1732
_______________
* В указателе "Национальные стандарты" 2006 год
ОКС 77.040, 77.120.70. - Примечание "КОДЕКС".
Дата введения 2000-07-01
Предисловие
1 РАЗРАБОТАН Российской Федерацией, Межгосударственным техническим комитетом по стандартизации МТК 502 "Кобальт"
ВНЕСЕН Госстандартом России
2 ПРИНЯТ Межгосударственным Советом по стандартизации, метрологии и сертификации (протокол N 15-99 от 28 мая 1999 г.)
За принятие проголосовали:
Наименование государства | Наименование национального органа |
Азербайджанская Республика | Азгосстандарт |
Республика Беларусь | Госстандарт Беларуси |
Республика Казахстан | Госстандарт Республики Казахстан |
Киргизская Республика | Киргизстандарт |
Республика Молдова | Молдовастандарт |
Российская Федерация | Госстандарт России |
Республика Таджикистан | Таджикгосстандарт |
Туркменистан | Главная государственная инспекция Туркменистана |
Республика Узбекистан | Узгосстандарт |
Украина | Госстандарт Украины |
3 Постановлением Государственного комитета Российской Федерации по стандартизации и метрологии от 19 октября 1999 г. N 352-ст межгосударственный стандарт ГОСТ 8776-99 введен в действие непосредственно в качестве государственного стандарта Российской Федерации с 1 июля 2000 г.
4 ВЗАМЕН ГОСТ 8776-79
1 Область применения
1 Область применения
Настоящий стандарт устанавливает химико-атомно-эмиссионные спектральные методы анализа с дугой постоянного тока и индуктивно связанной плазмой в качестве источников возбуждения спектра для определения массовых долей элементов в кобальте по ГОСТ 123 и кобальтовом порошке по ГОСТ 9721.
2 Нормативные ссылки
В настоящем стандарте использованы ссылки на следующие стандарты:
ГОСТ 8.315-97 Государственная система обеспечения единства измерения. Стандартные образцы. Основные положения, порядок разработки, аттестации, утверждения, регистрации и применения
ГОСТ 12.0.004-90 Система стандартов безопасности труда. Организация обучения безопасности труда. Общие положения
ГОСТ 12.1.004-91 Система стандартов безопасности труда. Пожарная безопасность. Общие требования
ГОСТ 12.1.005-88 Система стандартов безопасности труда. Общие санитарно-гигиенические требования к воздуху рабочей зоны
ГОСТ 12.1.007-76 Система стандартов безопасности труда. Вредные вещества. Классификация и общие требования безопасности
ГОСТ 12.1.016-79 Система стандартов безопасности труда. Воздух рабочей зоны. Требования к методикам измерения концентраций вредных веществ
ГОСТ 12.1.019-79 Система стандартов безопасности труда. Электробезопасность. Общие требования и номенклатура видов защиты
ГОСТ 12.1.030-81 Система стандартов безопасности труда. Электробезопасность. Защитное заземление, зануление
ГОСТ 12.2.007.0-75 Система стандартов безопасности труда. Изделия электротехнические. Общие требования безопасности
ГОСТ 12.3.002-75 Система стандартов безопасности труда. Процессы производственные. Общие требования безопасности
ГОСТ 12.3.019-80 Система стандартов безопасности труда. Испытания и измерения электрические. Общие требования безопасности
ГОСТ 12.4.009-83 Система стандартов безопасности труда. Пожарная техника для защиты объектов. Основные виды. Размещение и обслуживание
ГОСТ 12.4.021-75 Система стандартов безопасности труда. Системы вентиляционные. Общие требования
ГОСТ 61-75 Кислота уксусная. Технические условия
ГОСТ 83-79 Натрий углекислый. Технические условия
ГОСТ 123-98 Кобальт. Технические условия
ГОСТ 195-77 Натрий сернистокислый. Технические условия
ГОСТ 244-76 Натрия тиосульфат кристаллический. Технические условия
ГОСТ 804-93 Магний первичный в чушках. Технические условия
ГОСТ 859-78 Медь. Марки*
_______________
* На территории Российской Федерации действует ГОСТ 859-2001, здесь и далее. - Примечание "КОДЕКС".
ГОСТ 860-75 Олово. Технические условия
ГОСТ 1089-82 Сурьма. Технические условия
ГОСТ 1467-93 Кадмий. Технические условия
ГОСТ 2789-73 Шероховатость поверхности. Параметры и характеристики
ГОСТ 3118-77 Кислота соляная. Технические условия
ГОСТ 3640-94 Цинк. Технические условия
ГОСТ 3778-77 Свинец. Технические условия*
_______________
* Действует ГОСТ 3778-98. - Примечание "КОДЕКС".
ГОСТ 4160-74 Калий бромистый. Технические условия
ГОСТ 4198-75 Калий фосфорнокислый однозамещенный. Технические условия
ГОСТ 4204-77 Кислота серная. Технические условия
ГОСТ 4461-77 Кислота азотная. Технические условия
ГОСТ 5494-95 Пудра алюминиевая. Технические условия
ГОСТ 5817-77 Кислота винная. Технические условия
ГОСТ 6008-90 Марганец металлический и марганец азотированный. Технические условия
ГОСТ 6709-72 Вода дистиллированная. Технические условия
ГОСТ 8655-75 Фосфор красный технический. Технические условия
ГОСТ 9147-80 Посуда и оборудование лабораторные фарфоровые. Технические условия
ГОСТ 9428-73 Кремний (IV) оксид. Технические условия
ГОСТ 9721-79 Порошок кобальтовый. Технические условия
ГОСТ 9722-97 Порошок никелевый. Технические условия
ГОСТ 9849-86 Порошок железный. Технические условия
ГОСТ 10157-79 Аргон газообразный и жидкий. Технические условия
ГОСТ 10928-90 Висмут. Технические условия
ГОСТ 11125-84 Кислота азотная особой чистоты. Технические условия
ГОСТ 14261-77 Кислота соляная особой чистоты. Технические условия
ГОСТ 17299-78 Спирт этиловый технический. Технические условия
ГОСТ 18300-87 Спирт этиловый ректификованный технический. Технические условия
ГОСТ 19627-74 Гидрохинон (парадиоксибензол). Технические условия
ГОСТ 19908-90 Тигли, чаши, стаканы, колбы, воронки, пробирки и наконечники из прозрачного кварцевого стекла. Общие технические условия
ГОСТ 22860-93 Кадмий высокой чистоты. Технические условия
ГОСТ 22861-93 Свинец высокой чистоты. Технические условия
ГОСТ 23148-78 Порошки металлические. Методы отбора и подготовки проб*
_______________
* Действует ГОСТ 23148-98. - Примечание "КОДЕКС".
ГОСТ 24104-88 Весы лабораторные общего назначения и образцовые. Общие технические условия*
_______________
* На территории Российской Федерации действует ГОСТ 24104-2001, здесь и далее. - Примечание "КОДЕКС".
ГОСТ 25086-87 Цветные металлы и их сплавы. Общие требования к методам анализа
ГОСТ 25336-82 Посуда и оборудование лабораторные стеклянные. Типы, основные параметры и размеры
ГОСТ 25664-83 Метол (4-метиламинофенолсульфат). Технические условия
СТ СЭВ 543-77 Числа. Правила записи и округления
3 Общие требования
3.1 Общие требования к методам анализа должны соответствовать ГОСТ 25086.
3.2 Отбор и подготовку проб кобальта проводят по ГОСТ 123, кобальтового порошка - по ГОСТ 23148.
3.3 Для установления градуировочной зависимости рекомендуется использовать не менее четырех стандартных образцов или растворов с известной концентрацией элементов.
3.4 При анализе проводят два параллельных определения.
3.5 Значение результата анализа должно оканчиваться цифрой того же разряда, что и значение погрешности , гарантируемой при применении методов анализа (далее - погрешность методов анализа), установленных настоящим стандартом.
При составлении документа о качестве продукции на основании результатов анализа допускается результат испытаний химического состава представлять числом с тем же количеством значащих цифр, что и в таблицах химического состава в ГОСТ 123 и ГОСТ 9721.
3.6 Правила округления чисел должны соответствовать требованиям СТ СЭВ 543.
4 Требования безопасности
4.1 Все работы следует проводить на приборах и электроустановках, соответствующих правилам устройства электроустановок [1] и требованиям ГОСТ 12.2.007.0.
4.2 При эксплуатации приборов и электроустановок необходимо соблюдать требования ГОСТ 12.3.019 и [2], [3].
4.3 Все приборы и электроустановки должны быть снабжены устройствами для заземления в соответствии с требованиями ГОСТ 12.2.007.0 и ГОСТ 12.1.030. Заземление должно соответствовать правилам устройства электроустановок [1].
4.4 Анализ кобальта проводят в помещениях, оборудованных общеобменной приточно-вытяжной вентиляцией по ГОСТ 12.4.021.
4.5 Для предотвращения попадания в воздух рабочей зоны оксидов углерода, азота и аэрозолей оксидов металлов в количествах, превышающих предельно допустимые концентрации по ГОСТ 12.1.005, а также с целью защиты от ультрафиолетового излучения каждый источник возбуждения спектра необходимо помещать в приспособление, снабженное местной вытяжной вентиляцией и защитным экраном по ГОСТ 12.1.019.
4.6 Станок для заточки угольных электродов должен иметь отсасывающее устройство для предотвращения попадания угольной пыли в воздух рабочей зоны в количествах, превышающих предельно допустимые.
4.7 Контроль содержания вредных веществ в воздухе рабочей зоны следует осуществлять в соответствии с требованиями ГОСТ 12.1.007, ГОСТ 12.1.005 и ГОСТ 12.1.016.
4.8 Утилизацию, обезвреживание и уничтожение вредных отходов от производства анализов кобальта следует проводить в соответствии с санитарными правилами, утвержденными Минздравом России.
4.9 Организация обучения работающего персонала требованиям безопасности труда - по ГОСТ 12.0.004.
4.10 Требования к профессиональному отбору и проверке знаний работающего персонала - по ГОСТ 12.3.002.
4.11 Помещения лаборатории должны соответствовать требованиям пожарной безопасности по ГОСТ 12.1.004 и иметь средства огнетушения согласно ГОСТ 12.4.009.
4.12 Персонал лаборатории должен быть обеспечен бытовыми помещениями согласно санитарным нормам [4] по группе производственных процессов IlIa.
4.13 Персонал лаборатории должен быть обеспечен спецодеждой, спецобувью и другими средствами индивидуальной защиты [5].
5 Химико-атомно-эмиссионный спектральный метод с дугой постоянного тока в качестве источника возбуждения спектра
5.1 Метод измерения
Диапазоны определяемых массовых долей элементов, %:
- алюминий 0,0002-0,1;
- висмут 0,00005-0,005;
- железо 0,002-1,0;
- кадмий 0,0001-0,01;
- кремний 0,0005-0,3;
- магний 0,0001-0,005;
- марганец 0,0001-0,3;
- медь 0,00005-0,3;
- мышьяк 0,0003-0,01;
- никель 0,002-1,0;
- олово 0,00005-0,005;
- свинец 0,0001-0,01;
- сурьма 0,0001-0,01;
- фосфор 0,0003-0,005;
- цинк 0,0003-0,01.
Метод измерения основан на возбуждении спектра в дуге постоянного тока с последующей регистрацией излучения спектральных линий фотографическим или фотоэлектрическим способом. При проведении анализа используют зависимость интенсивностей спектральных линий элементов от их массовых долей в пробе. Пробу предварительно переводят в оксиды металлов.
Пункты и параметры, относящиеся только к фотографическому или только к фотоэлектрическому способам регистрации спектра, обозначены в тексте, соответственно, ФГ и ФЭ.
5.2 Средства измерений, вспомогательные устройства, материалы, реактивы, растворы
Спектрометр многоканальный фотоэлектрический типа МФС-8 (ФЭ) или спектрограф типа СТЭ-1 (ФГ), или любой другой спектрометр или спектрограф для ультрафиолетовой области спектра с обратной линейной дисперсией не более 0,6 нм/мм.
Источник питания дуги постоянного тока типа УГЭ-4 или любой другой, обеспечивающий напряжение до 400 В и силу тока до 20 А.
Микрофотометр нерегистрирующий любого типа (ФГ).
Пресс, обеспечивающий усилие, достаточное для таблетирования измельченных оксидов металлов.
Пресс-форма из легированной стали с пуансоном диаметром 4-8 мм. При изготовлении пуансон и внутреннюю поверхность матрицы закаливают, цементируют и шлифуют. Параметр шероховатости рабочих поверхностей при изготовлении пресс-формы не должен превышать 0,160 мкм по ГОСТ 2789.
Печь муфельная любого типа с терморегулятором, обеспечивающая нагревание до температуры 850 °С.
Чаши выпарительные или тигли из кварцевого стекла по ГОСТ 19908 для растворения проб, выпаривания растворов и прокаливания смеси солей. Допускается для растворения и выпаривания применять колбы и стаканы из химически и термически стойкого стекла по ГОСТ 25336 и чаши, тигли и стаканы из стеклоуглерода.
Стандартные образцы состава кобальта, изготовленные в соответствии с приложением А или иным способом и утвержденные в установленном порядке.
Стержни из графита, ос.ч., С-2, С-3 или С-3М диаметром 6 мм в качестве верхних электродов.
Стержни из графита диаметром 6-15 мм в качестве электродов-подставок.
Станок с набором фасонных резцов для заточки электродов.
Фотопластинки спектрографические контрастные (ФГ).
Весы аналитические лабораторные 2-го класса точности любого типа с погрешностью взвешивания по ГОСТ 24104.
Весы технические любого типа, обеспечивающие взвешивание массы до 500 г.
Ступка с пестиком агатовая или яшмовая.
Бюксы по ГОСТ 25336 или фарфоровые лодочки типа Л3 по ГОСТ 9147.
Колпаки стеклянные или пластмассовые для защиты от загрязнения подготовленных к анализу таблеток проб, стандартных образцов и заточенных электродов.
Пинцет.
Вата.
Вода дистиллированная по ГОСТ 6709, дополнительно очищенная перегонкой или иным способом.
Кислота азотная по ГОСТ 11125 или ГОСТ 4461, х.ч. или ч.д.а., дополнительно очищенная перегонкой или иным способом и разбавленная 1:1.
Кислота соляная по ГОСТ 3118, разбавленная 1:10.
Спирт этиловый ректификованный технический по ГОСТ 18300 или спирт этиловый технический по ГОСТ 17299, дополнительно очищенный перегонкой или иным способом.
Натрий салициловокислый, раствор в этиловом спирте массовой концентрации 60 г/дм (ФГ).
Проявитель, состоящий из двух растворов (ФГ).
Раствор 1:
- метол (параметиламинофенолсульфат) по ГОСТ 25664 - 2,5 г;
- гидрохинон (парадиоксибензол) по ГОСТ 19627 - 12 г;
- натрий сернистокислый безводный по ГОСТ 195 - 55 г;
- вода дистиллированная по ГОСТ 6709 - до 1 дм.
Раствор 2:
- натрий углекислый безводный по ГОСТ 83 - 42 г;
- калий бромистый по ГОСТ 4160 - 7 г;
- вода дистиллированная по ГОСТ 6709 - до 1 дм.
Перед проявлением растворы 1 и 2 сливают в соотношении объемов 1:1.
Допускается применять контрастно работающий проявитель другого состава.
Фиксажный раствор (ФГ):
- тиосульфат натрия кристаллический по ГОСТ 244 - 400 г;
- натрий сернистокислый по ГОСТ 195 - 25 г;
- кислота уксусная по ГОСТ 61 - 8 см;
- вода дистиллированная по ГОСТ 6709 - до 1 дм.
5.3 Подготовка к анализу
Навеску пробы массой 5-10 г помещают в чашу из кварцевого стекла или иную посуду для растворения. При анализе кобальта марки К0 к пробе приливают 30-50 см соляной кислоты, разбавленной 1:10, и обрабатывают пробу при перемешивании в течение 1 мин. Кислоту сливают декантацией и промывают пробу 2-3 раза водой порциями по 50 см
декантацией.
К пробе приливают порциями по 3-5 см азотную кислоту, разбавленную 1:1, до полного растворения навески при нагревании. Раствор выпаривают досуха.
Сухой остаток в чаше из кварцевого стекла помещают в муфельную печь, нагретую до температуры (825±25) °С, и выдерживают при этой температуре 15-20 мин. Полученные оксиды охлаждают и измельчают в ступке.
От измельченного материала отбирают три навески массой от 0,200 до 1,000 г в зависимости от условий проведения анализа и массовых долей определяемых элементов и таблетируют их с помощью пресса и пресс-формы.
Пресс-форму очищают от остатков пробы ватой, смоченной этиловым спиртом. Расход этилового спирта составляет 10 см на пробу.
Стандартные образцы состава кобальта в виде металла подготавливают к анализу так же, как и пробы. Стандартные образцы состава кобальта в виде оксидов подготавливают к анализу, не проводя их через стадию растворения в азотной кислоте.
5.4 Проведение анализа
Подготовку спектрометра к выполнению измерений проводят в соответствии с инструкцией по эксплуатации и обслуживанию спектрометра (ФЭ).
Рекомендуемые аналитические линии и диапазоны определяемых массовых долей элементов приведены в таблице 1.
Таблица 1 - Рекомендуемые аналитические линии и диапазоны определяемых массовых долей элементов
Определяемый элемент | Длина волны аналитической линии, нм | Диапазон определяемых массовых долей, % |
Алюминий | 309,27 | 0,0002-0,01 |
257,51 | 0,01-0,1 | |
Висмут | 306,77 | 0,00005-0,005 |
Железо | 271,90 | 0,002-0,01 |
296,69 | 0,002-0,03 | |
295,39 | 0,01-0,3 | |
296,53 | 0,05-1,0 | |
Кадмий | 228,80 | 0,0001-0,0003 |
214,44 | 0,0001-0,0005 | |
326,11 | 0,0003-0,01 | |
Кремний | 288,16 | 0,0005-0,01 |
251,61 | 0,0005-0,01 | |
251,92 | 0,005-0,3 | |
Магний | 280,27 | 0,0001-0,005 |
Марганец | 279,48 | 0,0001-0,005 |
257,61 | 0,005-0,05 | |
293,31 | 0,01-0,3 | |
Медь | 324,75 | 0,00005-0,005 |
296,12 | 0,005-0,3 | |
249,20 | 0,005-0,3 | |
Мышьяк | 234,98 | 0,0003-0,01 |
286,04 | 0,0005-0,01 | |
Никель | 300,25 | 0,002-0,02 |
310,19 | 0,002-0,05 | |
282,13 | 0,05-0,5 | |
318,44 | 0,1-1,0 | |
Олово | 284,00 | 0,00005-0,005 |
286,33 | 0,0001-0,005 | |
326,23 | 0,0005-0,005 | |
Свинец | 283,31 | 0,0001-0,005 |
217,00 | 0,0001-0,005 | |
287,33 | 0,001-0,01 | |
Сурьма | 259,81 | 0,0001-0,01 |
206,83 | 0,0001-0,01 | |
Фосфор | 213,62 | 0,0003-0,005 |
214,91 | 0,0003-0,005 | |
Цинк | 206,20 | 0,0003-0,01 |
330,26 | 0,0003-0,01 | |
Кобальт - линия | 257,89 | Основа |
278,59 | ||
278,70 | ||
297,55 | ||
205,41 | ||
213,66 | ||
291,00 | ||
291,02 |
Допускается использовать другие аналитические линии, если они обеспечивают определение массовых долей элементов в требуемом диапазоне с погрешностью, не превышающей установленную настоящим стандартом.
Таблетку пробы или стандартного образца помещают на электрод-подставку. Верхний электрод рекомендуется затачивать на усеченный конус.
Для удаления поверхностных загрязнений электроды предварительно прокаливают в дуге постоянного тока в течение 20 с при силе тока 6-10 А, включая их в качестве анода дуги. Электроды ос.ч. допускается не прокаливать.
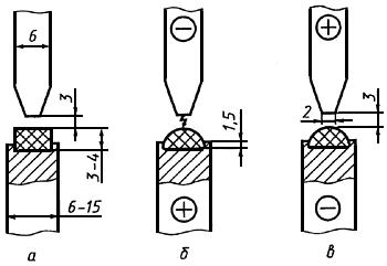
Форма и размеры электродов и их расположение во время аналитической экспозиции приведены на рисунке 1.
Рисунок 1. Форма и размеры электродов и их расположение во время аналитической экспозиции

а - до начала экспозиции; б - при анодной полярности образца; в - при катодной полярности образца
Рисунок 1
Спектрограммы снимают через трехступенчатый ослабитель. При работе в узком интервале определяемых массовых долей элементов съемку можно проводить без ослабителя (ФГ).
Электрод-подставку с помещенной на него таблеткой пробы или стандартного образца включают в качестве анода дуги. Регистрацию спектра начинают только после перехода анодного пятна дуги на расплав пробы.
Переход ускоряют тем, что после нескольких секунд горения дуги выключают ток и повторно включают его, пока расплав еще не успел остыть.
Первоначально установленный дуговой промежуток корректируют периодически в течение всей экспозиции по увеличенному изображению дуги на экране средней линзы осветительной системы или с помощью специальной короткофокусной проекционной линзы. Регистрацию спектра проводят при следующих средних условиях: ширина входной щели спектрального прибора 0,010-0,015 мм, освещение щели трехлинзовым конденсором, высота диафрагмы на средней линзе конденсора 5 мм, сила тока 5-6 А, экспозиция 40-50 с, масса таблетки 0,200-0,500 г. По измерениям, полученным на первом этапе, определяют легколетучие элементы - висмут, кадмий, мышьяк, олово, сурьму, свинец, цинк и фосфор.
Образующийся при проведении первого этапа королек помещают на свежезаточенную подставку и включают ее в качестве катода дуги. Регистрацию спектра начинают после перехода катодного пятна дуги с подставки на расплавленную часть королька и проводят ее при тех же средних условиях. Высота диафрагмы на средней линзе конденсора 3 мм. По измерениям, полученным на втором этапе, определяют труднолетучие элементы - алюминий, железо, кремний, магний, марганец, медь и никель.
Допускается проводить второй этап, не снимая королек с подставки по окончании первого этапа, изменив автоматически полярность электродов и силу тока дуги (ФЭ).
При необходимости снижения пределов обнаружения легколетучих элементов по аналитическим линиям, длины волн которых менее 230 нм, проводят дополнительный третий этап. Фотопластинки обрабатывают в растворе салициловокислого натрия в течение 60 с и сушат. Таблетку пробы или стандартного образца включают в качестве анода дуги. Условия регистрации спектра: ширина щели спектрографа 0,018-0,020 мм, освещение щели трехлинзовым конденсором, высота диафрагмы на средней линзе конденсора 5 мм, сила тока 18-20 А, экспозиция 45-60 с, электрод-подставка диаметром 15 мм с углублением на торцовой части 1,5 мм, масса таблетки 0,700-1,000 г (ФГ).
Фотопластинки проявляют в течение 4-6 мин при температуре 18-20 °С, фиксируют, промывают и сушат (ФГ).
Оптимизацию условий проведения анализа конкретного вида или марки продукции осуществляют путем подбора значений переменных параметров (масса таблетки, ток дуги, экспозиция, ширина входной щели спектрального прибора), выбора оптимальных аналитических линий, типа фотопластинок, формы верхнего электрода и т.п.
5.5 Обработка результатов
В спектрах проб и стандартных образцов измеряют интенсивности аналитических линий элементов и линий сравнения кобальта.
При фотографической регистрации спектра в спектрограммах проб и стандартных образцов измеряют почернения аналитических линий определяемых элементов и линий сравнения, выбирая ступень ослабления с оптимальными значениями почернений. По измеренным значениям вычисляют разности почернений
и их средние арифметические значения
для каждого стандартного образца и каждого параллельного определения пробы. Перед вычислением среднего арифметического значения рекомендуется провести проверку пригодности результатов измерений в соответствии с приложением Б. По вычисленным значениям
для стандартных образцов и соответствующим им значениям массовых долей определяемых элементов
строят градуировочные графики в координатах:
.
По значениям для проб находят массовые доли определяемых элементов по соответствующим градуировочным графикам.
При фотоэлектрической регистрации спектра по полученным результатам измерений интенсивности аналитических линий определяемых элементов вычисляют средние арифметические значения
для каждого стандартного образца и каждого параллельного определения пробы. Перед вычислением среднего арифметического значения рекомендуется провести проверку пригодности результатов измерений в соответствии с приложением Б. По вычисленным значениям
для стандартных образцов и соответствующим им значениям массовых долей определяемых элементов
строят градуировочные графики в координатах:
или
.
При работе на спектрометре с ЭВМ значения массовых долей элементов в стандартных образцах и соответствующие им средние арифметические значения измерений интенсивностей аналитических линий определяемых элементов вводят в ЭВМ, которая формирует уравнение градуировочной зависимости.
По значениям или
для проб находят массовые доли определяемых элементов по соответствующим градуировочным графикам.
За результат анализа принимают среднее арифметическое результатов параллельных определений, если расхождение между ними не превышает величины допускаемого расхождения , приведенного в 5.6.
При расхождении результатов параллельных определений более допускаемого анализ повторяют.
Если при проведении повторного анализа расхождение результатов параллельных определений превышает допускаемое, пробу заменяют новой, полученной при повторном пробоотборе.
5.6 Контроль точности анализа
Контроль точности анализа осуществляют в соответствии с ГОСТ 25086 не реже одного раза в квартал. В качестве норматива при контроле точности используют значения погрешности метода анализа , приведенные в таблице 2.
Нормативы оперативного контроля - допускаемые расхождения результатов двух параллельных определений и допускаемые расхождения двух результатов анализа - приведены в таблице 2.
Таблица 2 - Нормативы контроля и погрешность метода анализа (при доверительной вероятности =0,95)
В процентах
Определяемый элемент | Массовая доля | Допускаемые расхождения результатов двух параллельных определений | Допускаемые расхождения двух результатов анализа | Погрешность метода анализа |
Алюминий | 0,00020 | 0,00013 | 0,00018 | 0,00013 |
0,0005 | 0,0003 | 0,0004 | 0,0003 | |
0,0010 | 0,0006 | 0,0008 | 0,0006 | |
0,0020 | 0,0010 | 0,0015 | 0,0010 | |
0,005 | 0,002 | 0,003 | 0,002 | |
0,010 | 0,004 | 0,006 | 0,004 | |
0,020 | 0,008 | 0,012 | 0,008 | |
0,050 | 0,019 | 0,026 | 0,019 | |
0,10 | 0,03 | 0,05 | 0,03 | |
Висмут | 0,00005 | 0,00002 | 0,00003 | 0,00002 |
0,00010 | 0,00004 | 0,00006 | 0,00004 | |
0,00020 | 0,00008 | 0,00011 | 0,00008 | |
0,00050 | 0,00018 | 0,00025 | 0,00018 | |
0,0010 | 0,0003 | 0,0005 | 0,0003 | |
0,0020 | 0,0006 | 0,0009 | 0,0006 | |
0,0050 | 0,0014 | 0,0020 | 0,0014 | |
Железо | 0,0020 | 0,0008 | 0,0011 | 0,0008 |
0,0050 | 0,0018 | 0,0025 | 0,0018 | |
0,010 | 0,003 | 0,005 | 0,003 | |
0,020 | 0,006 | 0,009 | 0,006 | |
0,050 | 0,014 | 0,020 | 0,014 | |
0,10 | 0,03 | 0,04 | 0,03 | |
0,20 | 0,05 | 0,07 | 0,05 | |
0,50 | 0,11 | 0,16 | 0,11 | |
1,0 | 0,2 | 0,3 | 0,2 | |
Кадмий | 0,00010 | 0,00005 | 0,00007 | 0,00005 |
0,00020 | 0,00010 | 0,00014 | 0,00010 | |
0,0005 | 0,0002 | 0,0003 | 0,0002 | |
0,0010 | 0,0004 | 0,0006 | 0,0004 | |
0,0020 | 0,0008 | 0,0011 | 0,0008 | |
0,0050 | 0,0018 | 0,0025 | 0,0018 | |
0,010 | 0,003 | 0,005 | 0,003 | |
Кремний | 0,0005 | 0,0003 | 0,0004 | 0,0003 |
0,0010 | 0,0006 | 0,0008 | 0,0006 | |
0,0020 | 0,0010 | 0,0015 | 0,0010 | |
0,005 | 0,002 | 0,003 | 0,002 | |
0,010 | 0,004 | 0,006 | 0,004 | |
0,020 | 0,008 | 0,012 | 0,008 | |
0,050 | 0,019 | 0,026 | 0,019 | |
0,10 | 0,03 | 0,05 | 0,03 | |
0,20 | 0,07 | 0,09 | 0,07 | |
0,30 | 0,09 | 0,13 | 0,09 | |
Магний | 0,00010 | 0,00007 | 0,00010 | 0,00007 |
0,00020 | 0,00013 | 0,00018 | 0,00013 | |
0,0005 | 0,0003 | 0,0004 | 0,0003 | |
0,0010 | 0,0006 | 0,0008 | 0,0006 | |
0,0020 | 0,0010 | 0,0015 | 0,0010 | |
0,005 | 0,002 | 0,003 | 0,002 | |
Марганец | 0,00010 | 0,00003 | 0,00004 | 0,00003 |
0,00020 | 0,00006 | 0,00008 | 0,00006 | |
0,00050 | 0,00013 | 0,00019 | 0,00013 | |
0,0010 | 0,0002 | 0,0003 | 0,0002 | |
0,0020 | 0,0005 | 0,0006 | 0,0005 | |
0,0050 | 0,0010 | 0,0015 | 0,0010 | |
0,0100 | 0,0020 | 0,0028 | 0,0020 | |
0,020 | 0,004 | 0,005 | 0,004 | |
0,050 | 0,008 | 0,012 | 0,008 | |
0,100 | 0,016 | 0,022 | 0,016 | |
0,20 | 0,03 | 0,04 | 0,03 | |
0,30 | 0,04 | 0,06 | 0,04 | |
Медь | 0,00005 | 0,00003 | 0,00004 | 0,00003 |
0,00010 | 0,00005 | 0,00007 | 0,00005 | |
0,00020 | 0,00010 | 0,00014 | 0,00010 | |
0,0005 | 0,0002 | 0,0003 | 0,0002 | |
0,0010 | 0,0004 | 0,0006 | 0,0004 | |
0,0020 | 0,0008 | 0,0011 | 0,0008 | |
0,0050 | 0,0018 | 0,0025 | 0,0018 | |
0,010 | 0,003 | 0,005 | 0,003 | |
0,020 | 0,006 | 0,009 | 0,006 | |
0,050 | 0,014 | 0,020 | 0,014 | |
0,10 | 0,03 | 0,04 | 0,03 | |
0,20 | 0,05 | 0,07 | 0,05 | |
0,30 | 0,07 | 0,01 | 0,07 | |
Мышьяк | 0,00030 | 0,00014 | 0,00020 | 0,00014 |
0,0005 | 0,0002 | 0,0003 | 0,0002 | |
0,0010 | 0,0004 | 0,0006 | 0,0004 | |
0,0020 | 0,0008 | 0,0011 | 0,0008 | |
0,0050 | 0,0018 | 0,0025 | 0,0018 | |
0,010 | 0,003 | 0,005 | 0,003 | |
Никель | 0,0020 | 0,0005 | 0,0006 | 0,0005 |
0,0050 | 0,0011 | 0,0015 | 0,0011 | |
0,0100 | 0,0020 | 0,0028 | 0,0020 | |
0,020 | 0,004 | 0,005 | 0,004 | |
0,050 | 0,008 | 0,012 | 0,008 | |
0,100 | 0,016 | 0,022 | 0,016 | |
0,20 | 0,03 | 0,04 | 0,03 | |
0,50 | 0,07 | 0,09 | 0,07 | |
1,00 | 0,12 | 0,17 | 0,12 | |
Олово | 0,00005 | 0,00002 | 0,00003 | 0,00002 |
0,00010 | 0,00004 | 0,00006 | 0,00004 | |
0,00020 | 0,00008 | 0,00011 | 0,00008 | |
0,00050 | 0,00018 | 0,00025 | 0,00018 | |
0,0010 | 0,0003 | 0,0005 | 0,0003 | |
0,0020 | 0,0006 | 0,0009 | 0,0006 | |
0,0050 | 0,0014 | 0,0020 | 0,0014 | |
Свинец | 0,00010 | 0,00004 | 0,00006 | 0,00004 |
0,00020 | 0,00008 | 0,00011 | 0,00008 | |
0,00050 | 0,00018 | 0,00025 | 0,00018 | |
0,0010 | 0,0003 | 0,0005 | 0,0003 | |
0,0020 | 0,0006 | 0,0009 | 0,0006 | |
0,0050 | 0,0014 | 0,0020 | 0,0014 | |
0,010 | 0,003 | 0,004 | 0,003 | |
Сурьма | 0,00010 | 0,00004 | 0,00006 | 0,00004 |
0,00020 | 0,00008 | 0,00011 | 0,00008 | |
0,00050 | 0,00018 | 0,00025 | 0,00018 | |
0,0010 | 0,0003 | 0,0005 | 0,0003 | |
0,0020 | 0,0006 | 0,0009 | 0,0006 | |
0,0050 | 0,0014 | 0,0020 | 0,0014 | |
0,010 | 0,003 | 0,004 | 0,003 | |
Фосфор | 0,00030 | 0,00011 | 0,00016 | 0,00011 |
0,00050 | 0,00018 | 0,00025 | 0,00018 | |
0,0010 | 0,0003 | 0,0005 | 0,0003 | |
0,0020 | 0,0006 | 0,0009 | 0,0006 | |
0,0050 | 0,0014 | 0,0020 | 0,0014 | |
Цинк | 0,00030 | 0,00011 | 0,00016 | 0,00011 |
0,00050 | 0,00018 | 0,00025 | 0,00018 | |
0,0010 | 0,0003 | 0,0005 | 0,0003 | |
0,0020 | 0,0006 | 0,0009 | 0,0006 | |
0,0050 | 0,0014 | 0,0020 | 0,0014 | |
0,010 | 0,003 | 0,004 | 0,003 |
Для промежуточных значений массовых долей элементов расчет значений ,
и
проводят методом линейной интерполяции.
6 Химико-атомно-эмиссионный спектральный метод с индуктивно связанной плазмой в качестве источника возбуждения спектра
6.1 Метод измерения
Диапазоны определяемых массовых долей элементов, %:
- алюминий 0,0005-0,3;
- железо 0,001-1,0;
- кадмий 0,0002-0,005;
- кремний 0,001-0,3;
- магний 0,0005-0,01;
- марганец 0,0002-0,3;
- медь 0,0005-0,3;
- никель 0,001-1,0;
- фосфор 0,001-0,01;
- цинк 0,0005-0,01.
Метод основан на возбуждении спектра индуктивно связанной плазмой с последующей регистрацией излучения спектральных линий фотоэлектрическим способом. При проведении анализа используют зависимость интенсивностей спектральных линий элементов от их массовых долей в пробе. Пробу предварительно растворяют в смеси соляной и азотной кислот.
6.2 Средства измерений, вспомогательные устройства, материалы, реактивы, растворы
Автоматизированный спектрометр (полихроматор или монохроматор) атомно-эмиссионный с индуктивно связанной плазмой в качестве источника возбуждения спектра со всеми принадлежностями.
Весы аналитические лабораторные 2-го класса точности любого типа с погрешностью взвешивания по ГОСТ 24104.
Аргон по ГОСТ 10157.
Кислота азотная по ГОСТ 11125 или ГОСТ 4461, х.ч. или ч.д.а., дополнительно очищенная перегонкой или иным способом и разбавленная 1:1.
Кислота соляная по ГОСТ 14261 и разбавленная 1:1.
Смесь кислот: к 800 см воды добавляют 300 см
соляной кислоты и 100 см
азотной кислоты.
Порошок алюминиевый по ГОСТ 5494.
Порошок железный марки ПЖВ-1 по ГОСТ 9849 или железо карбонильное, ос.ч., [6].
Кадмий по ГОСТ 1467 или ГОСТ 22860.
Кобальт марки К0 по ГОСТ 123 с установленными массовыми долями определяемых элементов.
Натрий кремнекислый 9-водный.
Порошок никелевый карбонильный по ГОСТ 9722.
Магний первичный по ГОСТ 804.
Марганец по ГОСТ 6008.
Медь по ГОСТ 859.
Калий фосфорнокислый по ГОСТ 4198, высушенный при температуре (105±2) °С в течение 1 ч.
Цинк по ГОСТ 3640.
Натрий углекислый по ГОСТ 83, раствор массовой концентрации 200 г/дм.
Вода дистиллированная по ГОСТ 6709, дополнительно очищенная перегонкой или иным способом.
Раствор кобальта массовой концентрации 200 г/дм: навеску кобальта массой 100,00 г помещают в стакан вместимостью 1000 см
, добавляют 50 см
воды и порциями по 5-10 см
приливают 400 см
азотной кислоты. Раствор выпаривают до объема 250-300 см
, охлаждают, переводят в мерную колбу вместимостью 500 см
и доливают до метки водой.
Раствор железа и никеля массовых концентраций 1 г/дм: навеску железа массой 0,5000 г растворяют при нагревании в 30 см
смеси кислот, кипятят 5-10 мин, охлаждают и переводят в мерную колбу вместимостью 500 см
. Навеску никелевого порошка массой 0,5000 г растворяют при нагревании в 25 см
азотной кислоты, разбавленной 1:1, кипятят 5-10 мин, разбавляют водой до 100 см
, фильтруют раствор через фильтр "красная лента", промывают фильтр 4-5 раз горячей водой, охлаждают, переводят в ту же мерную колбу и доливают до метки водой.
Раствор марганца и меди массовых концентраций 1 г/дм и магния массовой концентрации 0,1 г/дм
: навески марганца и меди массой по 0,5000 г и магния массой 0,1000 г отдельно растворяют при нагревании в 25 см
азотной кислоты, разбавленной 1:1, кипятят 5-10 мин, охлаждают, каждый раствор переводят в мерные колбы вместимостью 100 см
каждая и доливают до метки водой. В мерную колбу вместимостью 100 см
отбирают по 20 см
полученных растворов марганца и меди и 10 см
раствора магния и доливают до метки водой.
Раствор алюминия массовой концентрации 1 г/дм: навеску алюминиевого порошка массой 0,4000 г растворяют при нагревании в 25 см
соляной кислоты, разбавленной 1:1, переводят в мерную колбу вместимостью 100 см
и доливают до метки водой. В мерную колбу вместимостью 100 см
отбирают 25 см
полученного раствора и доливают до метки водой.
Раствор кадмия и цинка массовых концентраций 0,02 г/дм и фосфора массовой концентрации 0,04 г/дм
: навески кадмия и цинка массой по 0,1000 г отдельно растворяют при нагревании в 25 см
азотной кислоты, разбавленной 1:1, охлаждают, каждый раствор переводят в мерные колбы вместимостью 500 см
каждая и доливают до метки водой. Навеску фосфорнокислого калия массой 0,4393 г растворяют в воде, переводят в мерную колбу вместимостью 500 см
и доливают до метки водой. В мерную колбу вместимостью 100 см
отбирают по 10 см
полученных растворов кадмия и цинка и 20 см
раствора фосфора и доливают до метки водой.
Раствор кремния массовой концентрации 0,5 г/дм: навеску кремнекислого натрия массой 2,5297 г растворяют в 50 см
раствора углекислого натрия, переводят в мерную колбу вместимостью 500 см
и доливают до метки водой.
Для приготовления растворов с известными концентрациями элементов допускается использовать оксиды или соли стабильного состава, а также государственные стандартные образцы растворов металлов.
Растворы известных концентраций элементов хранят в полиэтиленовой посуде.
6.3 Подготовка к анализу
6.3.1 Приготовление градуированных растворов
Для приготовления градуировочных растворов 1-11, рекомендуемый состав которых приведен в таблице 3, в мерные колбы вместимостью 100 см каждая отбирают расчетные объемы растворов с известной концентрацией элементов и доливают до метки водой. При необходимости вносят поправки на массовую долю элементов в кобальте, использованном для приготовления его раствора.
Таблица 3 - Состав градуировочных растворов
В миллиграммах на кубический дециметр
Элемент | Массовая концентрация элемента в градуировочных растворах | ||||||||||
1 | 2 | 3 | 4 | 5 | 6 | 7 | 8 | 9 | 10 | 11 | |
Алюминий | - | 1 | 5 | 25 | 50 | - | 0,1 | 0,5 | 5 | 50 | 100 |
Железо | - | 5 | 10 | 50 | 100 | - | 0,2 | 1 | 10 | 100 | 200 |
Кадмий | - | 0,2 | 0,4 | 1 | 5 | - | 1 | 1 | 1 | 1 | 1 |
Кремний | - | 1 | 5 | 10 | 20 | - | 0,25 | 0,5 | 2,5 | 25 | 50 |
Магний | - | 0,5 | 1 | 5 | 10 | - | 0,05 | 0,25 | 2,5 | 5 | 10 |
Марганец | - | 1 | 5 | 25 | 50 | - | 0,1 | 0,5 | 5 | 50 | 100 |
Медь | - | 1 | 5 | 25 | 50 | - | 0,1 | 0,5 | 5 | 50 | 100 |
Никель | - | 5 | 10 | 50 | 100 | - | 0,2 | 1 | 10 | 100 | 200 |
Фосфор | - | 0,4 | 0,8 | 2 | 10 | - | 2 | 2 | 2 | 2 | 2 |
Цинк | - | 0,2 | 0,4 | 1 | 5 | - | 1 | 1 | 1 | 1 | 1 |
Массовая концентрация кобальта в градуировочных растворах 1-5 составляет 50 г/дм, в градуировочных растворах 6-11 - 20 г/дм
.
6.3.2 Приготовление растворов проб
Навеску пробы массой 5,000 г помещают в стакан вместимостью 250 или 400 см, растворяют в 100 см
смеси кислот, добавляя смесь небольшими порциями, выпаривают до объема 25-30 см
, переводят в мерную колбу вместимостью 100 см
и доливают до метки водой. Полученный первичный раствор используют для определения кадмия, цинка и фосфора.
В мерную колбу вместимостью 100 см отбирают 20 см
первичного раствора и доливают до метки водой. Раствор используют для определения никеля, железа, меди, марганца, кремния, алюминия и магния.
6.4 Проведение анализа
Подготовку спектрометра к выполнению измерений проводят в соответствии с инструкцией по эксплуатации и обслуживанию спектрометра.
Инструментальные параметры спектрометра и расход аргона устанавливают в пределах, обеспечивающих максимальную чувствительность определения массовых долей элементов.
Рекомендуемые аналитические линии и диапазоны определяемых массовых долей приведены в таблице 4. Из приведенных линий выбирают оптимальные в зависимости от массовых долей элементов в пробах, типа спектрометра, возможностей размещения выходных щелей на каретках прибора и других конкретных условий анализа.
Таблица 4 - Рекомендуемые аналитические линии и диапазоны определяемых массовых долей элементов
Определяемый элемент | Длина волны аналитической линии, нм | Диапазон определяемых массовых долей, % |
Алюминий | 309,27 | 0,0005-0,3 |
394,40 | 0,0005-0,3 | |
396,15 | 0,0005-0,3 | |
Железо | 259,94 | 0,001-1,0 |
238,20 | 0,001-1,0 | |
234,35 | 0,002-1,0 | |
Кадмий | 226,50 | 0,0002-0,005 |
214,44 | 0,0004-0,005 | |
Кремний | 251,61 | 0,001-0,3 |
Магний | 279,55 | 0,0005-0,01 |
280,27 | 0,0005-0,01 | |
Марганец | 257,61 | 0,0002-0,3 |
259,37 | 0,0002-0,3 | |
293,31 | 0,0002-0,3 | |
Медь | 324,75 | 0,0005-0,3 |
224,70 | 0,001-0,3 | |
Никель | 216,56 | 0,001-1,0 |
227,02 | 0,001-1,0 | |
351,50 | 0,001-1,0 | |
352,45 | 0,001-1,0 | |
Фосфор | 178,29 | 0,001-0,01 |
213,62 | 0,001-0,01 | |
214,91 | 0,001-0,01 | |
Цинк | 206,20 | 0,0005-0,01 |
Допускается использовать другие аналитические линии, если они обеспечивают определение массовых долей элементов в требуемом диапазоне с погрешностью, не превышающей установленную настоящим стандартом.
При работе на монохроматоре проверяют положение аналитических линий, используя градуировочный раствор 5 или 10.
Градуировочные зависимости для кадмия, цинка и фосфора находят, используя градуировочные растворы 1-5, а для никеля, железа, марганца, меди, магния, алюминия и кремния - градуировочные растворы 6-11.
Для каждого градуировочного раствора выполняют не менее 5 измерений интенсивностей аналитических линий определяемых элементов. По вычисленным средним арифметическим значениям интенсивностей определяют параметры градуировочных графиков, которые вводят в память компьютера на стадии создания аналитической программы.
Перед началом измерений и через каждые 2 ч работы прибора проводят корректировку градуировочных графиков по двум градуировочным растворам 2 и 5 или 7 и 11.
Для каждого раствора пробы выполняют три измерения интенсивностей аналитических линий определяемых элементов.
6.5 Обработка результатов
Массовые доли определяемых элементов в пробе и их средние арифметические значения считывают с экрана монитора или ленты печатающего устройства.
Учет массы навески, разбавления растворов проб и других переменных параметров производится автоматически на стадии введения аналитической программы в компьютер.
За результат анализа принимают среднее арифметическое результатов параллельных определений, если расхождение между ними не превышает величины допускаемого расхождения , приведенного в 6.6.
При расхождении результатов параллельных определений более допускаемого анализ повторяют.
Если при проведении повторного анализа расхождение результатов параллельных определений превышает допускаемое, пробу заменяют новой, полученной при повторном пробоотборе.
6.6 Контроль точности анализа
Контроль точности анализа осуществляют в соответствии с ГОСТ 25086 не реже одного раза в квартал. В качестве норматива при контроле точности используют значения погрешности метода анализа А, приведенные в таблице 5.
Нормативы оперативного контроля - допускаемые расхождения результатов двух параллельных определений и допускаемые расхождения двух результатов анализа - приведены в таблице 5.
Таблица 5 - Нормативы контроля и погрешность метода анализа (при доверительной вероятности =0,95)
В процентах
Определяемый элемент | Массовая доля | Допускаемые расхождения результатов двух параллельных определений | Допускаемые расхождения двух результатов анализа | Погрешность метода анализа |
Алюминий | 0,00050 | 0,00023 | 0,00028 | 0,00020 |
0,0010 | 0,0005 | 0,0006 | 0,0004 | |
0,0020 | 0,0007 | 0,0009 | 0,0006 | |
0,0050 | 0,0015 | 0,0019 | 0,0014 | |
0,010 | 0,003 | 0,004 | 0,003 | |
0,020 | 0,005 | 0,006 | 0,004 | |
0,050 | 0,012 | 0,015 | 0,011 | |
0,100 | 0,022 | 0,028 | 0,020 | |
0,30 | 0,06 | 0,08 | 0,06 | |
Железо | 0,0010 | 0,0004 | 0,0005 | 0,0004 |
0,0030 | 0,0009 | 0,0012 | 0,0008 | |
0,0050 | 0,0015 | 0,0019 | 0,0014 | |
0,010 | 0,003 | 0,004 | 0,003 | |
0,030 | 0,007 | 0,009 | 0,006 | |
0,100 | 0,018 | 0,022 | 0,016 | |
0,200 | 0,028 | 0,030 | 0,021 | |
0,50 | 0,06 | 0,07 | 0,05 | |
1,00 | 0,11 | 0,14 | 0,10 | |
Кадмий | 0,00020 | 0,00008 | 0,00010 | 0,00007 |
0,00030 | 0,00017 | 0,00020 | 0,00014 | |
0,00050 | 0,00026 | 0,00030 | 0,00021 | |
0,0010 | 0,0004 | 0,0005 | 0,0004 | |
0,0020 | 0,0006 | 0,0007 | 0,0005 | |
0,0050 | 0,0014 | 0,0017 | 0,0012 | |
Кремний | 0,00050 | 0,00025 | 0,00030 | 0,00021 |
0,0010 | 0,0006 | 0,0007 | 0,0005 | |
0,0050 | 0,0015 | 0,0019 | 0,0014 | |
0,010 | 0,003 | 0,004 | 0,003 | |
0,030 | 0,007 | 0,009 | 0,006 | |
0,050 | 0,011 | 0,014 | 0,010 | |
0,100 | 0,024 | 0,030 | 0,021 | |
0,30 | 0,07 | 0,09 | 0,06 | |
Магний | 0,0005 | 0,0004 | 0,0005 | 0,0004 |
0,0010 | 0,0007 | 0,0009 | 0,0006 | |
0,0050 | 0,0015 | 0,0019 | 0,0014 | |
0,0100 | 0,0028 | 0,0030 | 0,0021 | |
Марганец | 0,00020 | 0,00007 | 0,00009 | 0,00006 |
0,00050 | 0,00016 | 0,00020 | 0,00014 | |
0,0010 | 0,0003 | 0,0004 | 0,0003 | |
0,0050 | 0,0009 | 0,0011 | 0,0008 | |
0,0100 | 0,0019 | 0,0024 | 0,0017 | |
0,030 | 0,004 | 0,005 | 0,004 | |
0,050 | 0,006 | 0,007 | 0,005 | |
0,100 | 0,010 | 0,012 | 0,008 | |
0,300 | 0,025 | 0,030 | 0,021 | |
Медь | 0,00050 | 0,00015 | 0,00019 | 0,00014 |
0,0010 | 0,0003 | 0,0004 | 0,0003 | |
0,0020 | 0,0006 | 0,0007 | 0,0005 | |
0,0050 | 0,0011 | 0,0014 | 0,0010 | |
0,0100 | 0,0022 | 0,0027 | 0,0019 | |
0,020 | 0,004 | 0,005 | 0,004 | |
0,030 | 0,006 | 0,007 | 0,005 | |
0,050 | 0,008 | 0,010 | 0,007 | |
0,100 | 0,015 | 0,019 | 0,014 | |
0,30 | 0,04 | 0,05 | 0,04 | |
Никель | 0,0010 | 0,0003 | 0,0004 | 0,0003 |
0,0050 | 0,0009 | 0,0011 | 0,0008 | |
0,0100 | 0,0019 | 0,0024 | 0,0017 | |
0,050 | 0,006 | 0,007 | 0,005 | |
0,100 | 0,010 | 0,012 | 0,008 | |
0,300 | 0,025 | 0,030 | 0,021 | |
0,50 | 0,04 | 0,05 | 0,04 | |
1,00 | 0,06 | 0,07 | 0,05 | |
Фосфор | 0,0010 | 0,0004 | 0,0005 | 0,0004 |
0,0020 | 0,0008 | 0,0010 | 0,0007 | |
0,0030 | 0,0011 | 0,0014 | 0,0010 | |
0,0050 | 0,0015 | 0,0018 | 0,0013 | |
0,010 | 0,003 | 0,004 | 0,003 | |
Цинк | 0,00050 | 0,00026 | 0,00030 | 0,00021 |
0,0010 | 0,0004 | 0,0005 | 0,0004 | |
0,0020 | 0,0006 | 0,0009 | 0,0006 | |
0,0030 | 0,0008 | 0,0010 | 0,0007 | |
0,0050 | 0,0012 | 0,0014 | 0,0011 | |
0,0100 | 0,0024 | 0,0030 | 0,0021 |
Для промежуточных значений массовых долей элементов расчет значений ,
и
проводят методом линейной интерполяции.
ПРИЛОЖЕНИЕ А (рекомендуемое). Методика приготовления градуировочных стандартных образцов
ПРИЛОЖЕНИЕ А
(рекомендуемое)
Стандартные образцы для градуировки представляют собой измельченный оксид кобальта с введенными добавками определяемых элементов. Состав стандартных образцов разрабатывают с учетом массовых долей элементов в анализируемых продуктах. Метрологические характеристики стандартных образцов устанавливают в соответствии с требованиями ГОСТ 8.315.
А.1 Средства измерений, вспомогательные устройства, материалы, реактивы, растворы
Весы аналитические лабораторные 2-го класса точности любого типа с погрешностью взвешивания по ГОСТ 24104.
Печь муфельная любого типа с терморегулятором, обеспечивающая нагревание до температуры 850 °С.
Ступка с пестиком агатовая или яшмовая.
Чаши выпарительные из кварцевого стекла по ГОСТ 19908 или стеклоуглерода.
Спирт этиловый ректификованный технический по ГОСТ 18300 или спирт этиловый технический по ГОСТ 17299, дополнительно очищенный перегонкой или иным способом.
Кислота азотная по ГОСТ 11125 или ГОСТ 4461, х.ч. или ч.д.а., дополнительно очищенная перегонкой или иным способом и разбавленная 1:1 и 1:2.
Кислота серная по ГОСТ 4204, разбавленная 1:2.
Кислота соляная по ГОСТ 3118, разбавленная 1:10.
Кислота винная по ГОСТ 5817.
Порошок алюминиевый по ГОСТ 5494.
Висмут по ГОСТ 10928.
Порошок железный марки ПЖВ-1 по ГОСТ 9849 или железо карбонильное, ос.ч., [6].
Кадмий по ГОСТ 1467 или ГОСТ 22860.
Кобальт марки К0 по ГОСТ 123 с установленными массовыми долями определяемых элементов.
Кремний (IV) оксид по ГОСТ 9428, измельченный и просеянный через сито с размером ячеек 0,074 мм, или тетраэтиловый эфир кремниевой кислоты, раствор в этиловом спирте.
Магний первичный по ГОСТ 804.
Марганец по ГОСТ 6008.
Медь по ГОСТ 859.
Мышьяк [7].
Порошок никелевый карбонильный по ГОСТ 9722.
Олово по ГОСТ 860.
Свинец по ГОСТ 3778 или ГОСТ 22861.
Сурьма по ГОСТ 1089.
Фосфор красный по ГОСТ 8655 или калий фосфорнокислый по ГОСТ 4198, высушенный при температуре (105±2) °С в течение 1 ч.
Цинк по ГОСТ 3640.
Вода дистиллированная по ГОСТ 6709, дополнительно очищенная перегонкой или иным способом.
Для приготовления растворов вводимых элементов допускается использовать оксиды или азотнокислые соли стабильного состава, а также государственные стандартные образцы растворов металлов.
А.2 Изготовление материала стандартных образцов
Перед приготовлением раствора основы катодные пластины кобальта предварительно обрабатывают соляной кислотой, разбавленной 1:10, промывают водой, затем этиловым спиртом и осушают фильтровальной бумагой.
Навеску кобальта расчетной массы растворяют при нагревании в азотной кислоте, разбавленной 1:1.
Навески расчетных масс никелевого порошка, железа, меди, магния, марганца, алюминиевого порошка, цинка, свинца, висмута, кадмия и фосфора растворяют при нагревании в азотной кислоте, разбавленной 1:1.
При использовании фосфорнокислого калия для введения фосфора его растворяют в воде. Сурьму растворяют в присутствии винной кислоты при соотношении масс сурьмы и винной кислоты 1:5. Мышьяк растворяют в горячей азотной кислоте. Растворы переводят в мерные колбы и доливают до метки азотной кислотой, разбавленной 1:2.
Олово растворяют в серной кислоте, раствор переводят в мерную колбу и доливают до метки серной кислотой, разбавленной 1:2.
Расчетные объемы растворов с известным содержанием элементов вводят в раствор кобальта.
Кремний вводят в виде водной взвеси оксида кремния или раствора тетраэтилового эфира кремниевой кислоты в этиловом спирте.
Полученные растворы выпаривают до сухих солей и прокаливают в муфельной печи при температуре (825±25) °С. Прокаленную смесь оксидов охлаждают, измельчают до получения порошка в ступке или другим методом, исключающим загрязнение материала стандартных образцов. Материал перемешивают и используют для определения метрологических характеристик.
Материал стандартных образцов хранят в плотно закрытых банках или бюксах в условиях, исключающих его загрязнение и увлажнение.
ПРИЛОЖЕНИЕ Б (рекомендуемое). Порядок проверки пригодности результатов параллельных измерений при вычислении результата определения
ПРИЛОЖЕНИЕ Б
(рекомендуемое)
По трем значениям разностей почернений (или интенсивностей) аналитических спектральных линий находят массовые доли определяемых элементов по градуировочному графику. Пригодными считаются три измерения, для которых выполняется условие
, (Б.1)
где ,
и
- значения массовых долей определяемого элемента, соответствующие наибольшему, наименьшему и среднему из трех значений разности почернений (или интенсивности);
- относительное значение допускаемого расхождения между
и
, рекомендуемое значение которого для алюминия, висмута, кадмия, кремния, меди, мышьяка, магния
=0,50, для остальных элементов
=0,33.
Если это условие не выполняется, допускается исключить результат, наиболее удаленный от среднего значения. Оставшиеся два измерения считаются пригодными, если выполняется условие
, (Б.2)
где ,
и
- значения массовых долей определяемого элемента, соответствующие наибольшему, наименьшему и среднему из двух оставшихся значений разности почернений (или интенсивности).
Если это условие не выполняется, то анализ повторяют на новых таблетках той же пробы.
ПРИЛОЖЕНИЕ В (справочное). Библиография
ПРИЛОЖЕНИЕ В
(справочное)
[1] | Правила устройства электроустановок, утвержденные Главгосэнергонадзором, 1985, 6-е изд. | |
[2] | Правила эксплуатации электроустановок потребителей, утвержденные Главгосэнергонадзором России 31.03.92, 5-е изд.* | |
_______________ * Действуют Правила технической эксплуатации электроустановок потребителей., утвержденные приказом Минэнерго России от 13.01.2003 N 6. - Примечание "КОДЕКС". | ||
[3] | Правила техники безопасности при эксплуатации установок потребителей, утвержденные Главгосэнергонадзором 21.12.84, 4-е изд.* | |
_______________ * Действуют Межотраслевые Правила по охране труда (правила безопасности) при эксплуатации электроустановок" (ПОТ Р М-016-2001, РД 153-34.0-03.150-00). - Примечание "КОДЕКС". | ||
[4] | СНиП 2.09.04-87 | Административные и бытовые здания |
[5] | Типовые отраслевые нормы бесплатной выдачи рабочим и служащим специальной одежды, специальной обуви и других средств индивидуальной защиты, утвержденные Постановлением Госкомтруда СССР и Президиумом ВЦСПС от 01.08.79 N 344/П-7 и дополненные 21.08.85 N 289/П-8* | |
_______________ * Действуют Типовые нормы бесплатной выдачи специальной одежды, специальной обуви и других средств индивидуальной защиты работникам сквозных профессий и должностей всех отраслей экономики (с изменениями на 17 декабря 2001 года). - Примечание "КОДЕКС". | ||
[6] | ТУ 6-09-05808009-262-92 | Железо карбонильное, ос.ч. 13-2, ос.ч. 6-2 |
[7] | ТУ 113-12-112-89 | Мышьяк металлический для полупроводниковых соединений, ос.ч. |
Текст документа сверен по:
официальное издание
М.: ИПК Издательство стандартов, 2000
Разместите заказ
сами сделают вам предложение
