ГОСТы сталей. ГОСТ 6012-98
ГОСТ 6012-98
Группа В59
МЕЖГОСУДАРСТВЕННЫЙ СТАНДАРТ
НИКЕЛЬ
Методы химико-атомно-эмиссионного спектрального анализа
Nickel. Methods of chemical-atomic-emission spectral analysis
МКС 77.040
ОКСТУ 1732
Дата введения 2000-01-01
Предисловие
1 РАЗРАБОТАН Техническим комитетом ТК 370 "Никель. Кобальт"
ВНЕСЕН Госстандартом России
2 ПРИНЯТ Межгосударственным Советом по стандартизации, метрологии и сертификации (протокол N 14 от 12 ноября 1998 г.)
За принятие проголосовали:
Наименование государства | Наименование национального органа по стандартизации |
Азербайджанская Республика | Азгосстандарт |
Республика Армения | Армгосстандарт |
Республика Беларусь | Госстандарт Беларуси |
Грузия | Грузстандарт |
Киргизская Республика | Киргизстандарт |
Республика Молдова | Молдовастандарт |
Российская Федерация | Госстандарт России |
Республика Таджикистан | Таджикгосстандарт |
Туркменистан | Главная государственная инспекция Туркменистана |
Республика Узбекистан | Узгосстандарт |
3 Постановлением Государственного комитета Российской Федерации по стандартизации и метрологии от 1 марта 1999 г. N 52 межгосударственный стандарт ГОСТ 6012-97 введен в действие непосредственно в качестве государственного стандарта Российской Федерации с 1 января 2000 г.
4 ВЗАМЕН ГОСТ 6012-78
5 ИЗДАНИЕ (ноябрь 2001 г.) с Поправками (ИУС 1-2000, 9-2000)
ВНЕСЕНО Изменение N 1, утвержденное и введенное в действие Протоколом МГС от 01.11.2001 N 20
Изменение N 1 внесено изготовителем базы данных по тексту ИУС N 8, 2002 год
1 Область применения
1 Область применения
Настоящий стандарт устанавливает химико-атомно-эмиссионные спектральные методы анализа с дугой постоянного тока и индуктивно связанной плазмой в качестве источников возбуждения спектра для определения массовых долей элементов в никеле по ГОСТ 849, никелевом порошке по ГОСТ 9722 и никеле и никелевых сплавах по ГОСТ 492 и ГОСТ 19241.
2 Нормативные ссылки
В настоящем стандарте использованы ссылки на следующие стандарты:
ГОСТ 8.315-97 ГСИ. Стандартные образцы состава и свойств веществ и материалов. Основные положения
ГОСТ 12.0.004-90 ССБТ. Организация обучения безопасности труда. Общие положения
ГОСТ 12.1.004-91 ССБТ. Пожарная безопасность. Общие требования
ГОСТ 12.1.005-88 ССБТ. Общие санитарно-гигиенические требования к воздуху рабочей зоны
ГОСТ 12.1.007-76 ССБТ. Вредные вещества. Классификация и общие требования безопасности
ГОСТ 12.1.016-79 ССБТ. Воздух рабочей зоны. Требования к методикам измерения концентраций вредных веществ
ГОСТ 12.1.019-79 ССБТ. Электробезопасность. Общие требования и номенклатура видов защиты
ГОСТ 12.1.030-81 ССБТ. Электробезопасность. Защитное заземление, зануление
ГОСТ 12.2.007.0-75 ССБТ. Изделия электротехнические. Общие требования безопасности
ГОСТ 12.3.002-75 ССБТ. Процессы производственные. Общие требования безопасности
ГОСТ 12.3.019-80 ССБТ. Испытания и измерения электрические. Общие требования безопасности
ГОСТ 12.4.009-83 ССБТ. Пожарная техника для защиты объектов. Основные виды. Размещение и обслуживание
ГОСТ 12.4.021-75 ССБТ. Системы вентиляционные. Общие требования
ГОСТ 61-75 Кислота уксусная. Технические условия
ГОСТ 83-79 Натрий углекислый. Технические условия
ГОСТ 123-98 Кобальт. Технические условия
ГОСТ 195-77 Натрий сернистокислый. Технические условия
ГОСТ 244-76 Натрия тиосульфат кристаллический. Технические условия
ГОСТ 492-73 Никель, сплавы никелевые и медно-никелевые, обрабатываемые давлением
ГОСТ 804-93 Магний первичный в чушках. Технические условия
ГОСТ 849-97 Никель первичный. Технические условия
ГОСТ 859-2001 Медь. Марки
ГОСТ 860-75 Олово. Технические условия
ГОСТ 1089-82 Сурьма. Технические условия
ГОСТ 1467-93 Кадмий. Технические условия
ГОСТ 2789-73 Шероховатость поверхности. Параметры и характеристики
ГОСТ 3118-77 Кислота соляная. Технические условия
ГОСТ 3640-94 Цинк. Технические условия
ГОСТ 3778-98 Свинец. Технические условия
ГОСТ 4160-74 Калий бромистый. Технические условия
ГОСТ 4198-75 Калий фосфорнокислый. Технические условия
ГОСТ 4204-77 Кислота серная. Технические условия
ГОСТ 4212-76 Реактивы. Приготовление растворов для колориметрического и нефелометрического анализа
ГОСТ 4461-77 Кислота азотная. Технические условия
ГОСТ 4530-76 Кальций углекислый. Технические условия
ГОСТ 5494-95 Пудра алюминиевая. Технические условия
ГОСТ 5817-77 Кислота винная. Технические условия
ГОСТ 6008-90 Марганец металлический и марганец азотированный. Технические условия
ГОСТ 6709-72 Вода дистиллированная. Технические условия
ГОСТ 6836-80 Серебро и серебряные сплавы. Марки
ГОСТ 8655-75 Фосфор красный технический. Технические условия
ГОСТ 9147-80 Посуда и оборудование лабораторные фарфоровые. Технические условия
ГОСТ 9428-73 Кремний (IV) оксид. Технические условия
ГОСТ 9722-97 Порошок никелевый. Технические условия
ГОСТ 9849-86 Порошок железный. Технические условия
ГОСТ 10157-79 Аргон газообразный и жидкий. Технические условия
ГОСТ 10298-79 Селен технический. Технические условия
ГОСТ 10484-78 Кислота фтористоводородная. Технические условия
ГОСТ 10928-90 Висмут. Технические условия
ГОСТ 11069-74 Алюминий первичный. Марки
ГОСТ 11125-84 Кислота азотная особой чистоты. Технические условия
ГОСТ 14261-77 Кислота соляная особой чистоты. Технические условия
ГОСТ 17299-78 Спирт этиловый технический. Технические условия
ГОСТ 17614-80 Теллур технический. Технические условия
ГОСТ 18300-87 Спирт этиловый ректификованный технический. Технические условия
ГОСТ 18337-95 Таллий. Технические условия
ГОСТ 19241-80 Никель и низколегированные никелевые сплавы, обрабатываемые давлением. Марки
ГОСТ 19627-74 Гидрохинон (парадиоксибензол). Технические условия
ГОСТ 19908-90 Тигли, чаши, стаканы, колбы, воронки, пробирки и наконечники из прозрачного кварцевого стекла. Общие технические условия
ГОСТ 22860-93 Кадмий высокой чистоты. Технические условия
ГОСТ 22861-93 Свинец высокой чистоты. Технические условия
ГОСТ 23148-78 Порошки металлические. Методы отбора и подготовки проб
ГОСТ 24104-2001 Весы лабораторные. Общие технические требования
ГОСТ 24231-80 Цветные металлы и сплавы. Общие требования к отбору и подготовке проб для химического анализа
ГОСТ 25086-87 Цветные металлы и сплавы. Общие требования к методам анализа
ГОСТ 25336-82 Посуда и оборудование лабораторные стеклянные. Типы, основные параметры и размеры
ГОСТ 25664-83 Метол (4-метиламинофенолсульфат). Технические условия
СТ СЭВ 543-77 Числа. Правила записи и округления
(Измененная редакция, Изм. N 1).
3 Общие требования
3.1 Общие требования к методам анализа должны соответствовать ГОСТ 25086.
3.2 Отбор и подготовку проб никеля и никелевых сплавов проводят по ГОСТ 849 и ГОСТ 24231, никелевого порошка - по ГОСТ 23148 и ГОСТ 9722.
3.3 Для установления градуировочной зависимости рекомендуется использовать не менее четырех стандартных образцов (СО) по ГОСТ 8.315 состава никеля или не менее четырех градуировочных растворов.
(Измененная редакция, Изм. N 1).
3.4 Анализ проводят на двух параллельных определениях.
3.5 Результат анализа представляют числовым значением, которое должно оканчиваться цифрой того же разряда, что и числовое значение погрешности , гарантируемой при применении методов анализа (далее - погрешность методов анализа), установленных настоящим стандартом.
При составлении документа о качестве продукции на основании результатов анализа допускается результат испытаний химического состава представлять числовым значением с тем же количеством значащих цифр, что и в таблицах химического состава ГОСТ 849, ГОСТ 9722, ГОСТ 492 и ГОСТ 19241.
3.6 Правила округления чисел должны соответствовать требованиям СТ СЭВ 543.
4 Требования безопасности
4.1. Все работы следует проводить на приборах и электроустановках, соответствующих правилам устройства электроустановок, утвержденным Госэнергонадзором, и требованиям ГОСТ 12.2.007.0.
4.2. При эксплуатации приборов и электроустановок необходимо соблюдать требования ГОСТ 12.3.019, правила технической эксплуатации электроустановок потребителей и правила техники безопасности при эксплуатации электроустановок потребителей, утвержденные Госэнергонадзором.
4.3. Все приборы и электроустановки должны быть снабжены устройствами для заземления в соответствии с требованиями ГОСТ 12.2.007.0 и ГОСТ 12.1.030. Заземление должно соответствовать правилам устройства электроустановок, утвержденным Госэнергонадзором.
4.4. При выполнении работ используются и образуются вещества, оказывающие вредное действие на организм человека: порошок никелевый, аэрозоли оксидов металлов, углеродсодержащая пыль, оксиды азота и углерода, пары соляной и азотной кислот и этилового спирта. Хранение и использование вредных веществ и материалов должно соответствовать требованиям, регламентированным в нормативных документах на эти вещества и материалы.
4.5. Работы по анализу никеля производят в помещениях, оборудованных общеобменной приточно-вытяжной вентиляцией по ГОСТ 12.4.021.
4.6. Для предотвращения попадания в воздух рабочей зоны оксидов углерода, азота и аэрозолей оксидов металлов в количествах, превышающих предельно допустимые ГОСТ 12.1.005, а также защиты от ультрафиолетового излучения каждый источник возбуждения спектра необходимо помещать внутрь приспособления, снабженного местной вытяжной вентиляцией и защитным экраном по ГОСТ 12.1.019.
4.7. Станок для заточки угольных электродов должен иметь отсасывающее устройство для предотвращения попадания угольной пыли в воздух рабочей зоны в количествах, превышающих предельно допустимые.
4.8. Контроль содержания вредных веществ в воздухе рабочей зоны следует осуществлять в соответствии с требованиями ГОСТ 12.1.007, ГОСТ 12.1.005 и ГОСТ 12.1.016.
4.9. Утилизацию, обезвреживание и уничтожение вредных отходов от производства анализов никеля следует проводить в соответствии с нормативным документом [1].
4.10. Организация обучения работающих требованиям безопасности труда - по ГОСТ 12.0.004.
4.11. Требования к профессиональному отбору и проверке знаний работающих - по ГОСТ 12.3.002.
4.12. Помещения лаборатории должны соответствовать требованиям пожарной безопасности ГОСТ 12.1.004 и иметь средства огнетушения согласно ГОСТ 12.4.009.
4.13. Персонал лаборатории должен быть обеспечен бытовыми помещениями по IIIа группе производственных процессов согласно нормативному документу [2].
4.14. Персонал лаборатории должен быть обеспечен спецодеждой, спецобувью и другими средствами индивидуальной защиты согласно нормативному документу [3].
5 Химико-атомно-эмиссионный спектральный метод с дугой постоянного тока в качестве источника возбуждения спектра
5.1 Метод измерения
Диапазоны определяемых массовых долей элементов составляют, %:
алюминий | 0,0002-0,1 |
висмут | 0,00001-0,01 |
железо | 0,001-1,0 |
кадмий | 0,00005-0,01 |
кальций | 0,0005-0,05 |
кобальт | 0,0003-1,0 |
кремний | 0,0003-0,2 |
магний | 0,0001-0,2 |
марганец | 0,00005-0,2 |
медь | 0,00005-1,0 |
мышьяк | 0,0001-0,01 |
олово | 0,00003-0,01 |
свинец | 0,00005-0,01 |
селен | 0,0001-0,01 |
серебро | 0,00001-0,001 |
сурьма | 0,0001-0,01 |
таллий | 0,00005-0,003 |
тантал | 0,0001-0,005 |
теллур | 0,00005-0,003 |
фосфор | 0,0001-0,005 |
цинк | 0,0002-0,01 |
Метод основан на возбуждении спектра глобульной дугой постоянного тока с последующей регистрацией излучения спектральных линий фотографическим или фотоэлектрическим способом. При проведении анализа используют зависимость интенсивностей спектральных линий элементов от их массовых долей в пробе. Пробу предварительно переводят в оксиды металлов.
Пункты и параметры, относящиеся только к фотографическому или только к фотоэлектрическому способу регистрации спектра, помечены соответственно "ФГ" и "ФЭ".
(Измененная редакция, Изм. N 1).
5.2 Средства измерений, вспомогательные устройства, материалы, реактивы, растворы
Спектрометр многоканальный фотоэлектрический типа МФС-8 (ФЭ) или спектрограф типа СТЭ-1 (ФГ) или любой другой спектрометр или спектрограф для ультрафиолетовой области спектра с обратной линейной дисперсией не более 0,6 нм/мм.
Источник питания дуги постоянного тока типа УГЭ-4 или любой другой, обеспечивающий напряжение до 400 В и силу тока до 20 А.
Микрофотометр нерегистрирующий любого типа (ФГ).
Весы аналитические лабораторные 2-го класса точности любого типа с погрешностью взвешивания по ГОСТ 24104.
Весы технические любого типа, обеспечивающие проведение взвешивания массы до 500 г.
СО состава никеля, изготовленные в соответствии с приложением А или иным способом и утвержденные в установленном порядке.
Печь муфельная любого типа с терморегулятором, обеспечивающая нагревание до температуры 850°С.
Пресс, обеспечивающий усилие, достаточное для таблетирования измельченных оксидов металлов.
Пресс-форма из легированной стали с пуансоном диаметром 4-8 мм. При изготовлении пуансон и внутреннюю поверхность матрицы закаливают, цементируют и шлифуют. Параметр шероховатости рабочих поверхностей при изготовлении пресс-формы должен быть не более 0,160 мкм по ГОСТ 2789.
Станок с набором фасонных резцов для заточки угольных электродов.
Стержни из графита марок ОСЧ, С-2, С-3 или С-3М диаметром 6 мм в качестве верхних электродов и диаметром 6-15 мм в качестве электродов-подставок.
Вата.
Бюксы по ГОСТ 25336 или фарфоровые лодочки типа Л3 по ГОСТ 9147.
Колпаки стеклянные или пластмассовые для защиты от загрязнения подготовленных к анализу таблеток проб, СО и заточенных электродов.
Пинцет.
Ступка агатовая или яшмовая с пестом.
Фотопластинки спектрографические контрастные (ФГ).
Чаши выпарительные или тигли из кварцевого стекла по ГОСТ 19908 или чаши, тигли и стаканы из стеклоуглерода для растворения проб, выпаривания растворов и прокаливания смеси солей. Допускается для растворения и выпаривания применять колбы и стаканы из химически и термически стойкого стекла по ГОСТ 25336. Допускается для анализа проб никеля марок Н3 и Н4, электролитического никелевого порошка и никелевых сплавов использовать чаши и тигли из фарфора по ГОСТ 9147.
Вода дистиллированная по ГОСТ 6709, дополнительно очищенная перегонкой или иным способом.
Кислота азотная особой чистоты по ГОСТ 11125 или марки ХЧ по ГОСТ 4461, или марки ЧДА по ГОСТ 4461, дополнительно очищенная перегонкой или иным способом, и разбавленная 1:1.
Кислота соляная по ГОСТ 3118, разбавленная 1:10.
Спирт этиловый ректификованный технический по ГОСТ 18300 или спирт этиловый технический по ГОСТ 17299, дополнительно очищенный перегонкой или иным способом.
Натрий салициловокислый, раствор в этиловом спирте с массовой концентрацией 60 г/дм (ФГ).
Проявитель, состоящий из двух растворов (ФГ).
Раствор 1: | |
Метол (параметиламинофенолсульфат) по ГОСТ 25664 | 2,5 г |
Гидрохинон (парадиоксибензол) по ГОСТ 19627 | 12 г |
Натрий сернистокислый безводный по ГОСТ 195 | 55 г |
Вода дистиллированная по ГОСТ 6709 | до 1 дм |
Раствор 2: | |
Натрий углекислый безводный по ГОСТ 83 | 42 г |
Калий бромистый по ГОСТ 4160 | 7 г |
Вода дистиллированная по ГОСТ 6709 | до 1 дм |
Перед проявлением растворы 1 и 2 сливают в соотношении объемов 1:1. | |
Допускается применять контрастно работающий проявитель другого состава. | |
Фиксажный раствор (ФГ): | |
Тиосульфат натрия кристаллический по ГОСТ 244 | 400 г |
Натрий сернистокислый безводный по ГОСТ 195 | 25 г |
Кислота уксусная по ГОСТ 61 | 8 см |
Вода дистиллированная по ГОСТ 6709 | до 1 дм |
5.3 Подготовка к анализу
Навеску пробы массой 5-10 г помещают в чашу из кварцевого стекла или иную посуду для растворения. Для удаления случайных загрязнений пробы железом рекомендуется при анализе катодного никеля марок Н-0, Н-1у и Н-1 пробу предварительно обрабатывать 30-50 см соляной кислоты, разбавленной 1:10, при перемешивании в течение 1 мин. Кислоту сливают декантацией и промывают пробу 2-3 раза водой порциями по 50 см
декантацией.
К пробе приливают порциями по 3-5 см азотной кислоты, разбавленной 1:1, до полного растворения навески при нагревании. При необходимости определения массовой доли селена разбавленную азотную кислоту заменяют на концентрированную.
Раствор выпаривают в чаше из кварцевого стекла или иной посуде для удаления избытка азотной кислоты и до получения сухих солей, не допуская разложения азотнокислых солей до оксидов (появление темных включений в материале пробы). Чашу с сухими солями помещают в муфельную печь, нагретую до температуры (825±25)°С, и выдерживают при этой температуре 15-20 мин. Полученные оксиды охлаждают, затем измельчают до получения порошка в ступке или другим методом, исключающим загрязнение материала пробы.
От порошка отбирают три навески массой 0,200-1,000 г в зависимости от условий проведения анализа и массовых долей определяемых элементов, и таблетируют их с помощью пресса и пресс-формы.
Пресс-форму очищают от остатков пробы ватой, смоченной этиловым спиртом. Расход этилового спирта составляет 10 см на пробу.
СО состава никеля в виде металла подготавливают к анализу так же, как и пробы. СО состава никеля в виде оксидов подготавливают к анализу, не проводя их через стадию растворения в азотной кислоте.
(Измененная редакция, Изм. N 1).
5.4 Проведение анализа
Подготовку спектрометра к выполнению измерений проводят в соответствии с инструкцией по эксплуатации и обслуживанию спектрометра (ФЭ).
Рекомендуемые аналитические линии и диапазоны определяемых массовых долей элементов приведены в таблице 1.
Таблица 1 - Рекомендуемые аналитические линии и диапазоны определяемых массовых долей элементов
Определяемый элемент | Длина волны аналитической линии, нм | Диапазон определяемых массовых долей, % |
Алюминий | 309,27 | 0,0002-0,005 |
308,22 | 0,005-0,1 | |
Висмут | 306,77 | 0,00001-0,001 |
289,80 | 0,0005-0,01 | |
Железо | 302,06 | 0,001-0,01 |
271,90 | 0,001-0,01 | |
248,33 | 0,001-0,01 | |
248,81 | 0,001-0,01 | |
296,69 | 0,001-0,01 | |
295,39 | 0,005-0,1 | |
296,53 | 0,01-1,0 | |
Кадмий | 228,80 | 0,00005-0,0003 |
214,44 | 0,00005-0,0005 | |
326,11 | 0,0003-0,01 | |
Кальций | 422,67 | 0,0005-0,005 |
317,93 | 0,005-0,05 | |
Кобальт | 340,51 | 0,0003-0,01 |
304,40 | 0,001-0,03 | |
240,72 | 0,001-0,03 | |
242,49 | 0,01-0,3 | |
307,23 | 0,01-0,3 | |
308,26 | 0,01-0,3 | |
298,96 | 0,05-1,0 | |
326,08 | 0,05-1,0 | |
Кремний | 288,16 | 0,0003-0,01 |
251,61 | 0,0003-0,01 | |
251,92 | 0,005-0,2 | |
Магний | 285,21 | 0,0001-0,02 |
279,55 | 0,0001-0,01 | |
280,27 | 0,0001-0,01 | |
277,98 | 0,002-0,1 | |
278,14 | 0,01-0,2 | |
Марганец | 279,48 | 0,00005-0,005 |
257,61 | 0,0001-0,005 | |
293,31 | 0,005-0,05 | |
294,92 | 0,005-0,05 | |
325,84 | 0,03-0,2 | |
Медь | 324,75 | 0,00005-0,005 |
327,40 | 0,00005-0,005 | |
296,12 | 0,005-0,1 | |
282,44 | 0,005-0,1 | |
249,20 | 0,005-0,1 | |
276,63 | 0,05-1,0 | |
Мышьяк | 234,98 | 0,0001-0,01 |
228,81 | 0,0001-0,01 | |
278,02 | 0,001-0,01 | |
286,04 | 0,001-0,01 | |
Олово | 284,00 | 0,00003-0,005 |
286,33 | 0,0001-0,005 | |
285,06 | 0,001-0,01 | |
242,95 | 0,001-0,01 | |
Свинец | 283,31 | 0,00005-0,005 |
405,78 | 0,00005-0,001 | |
287,33 | 0,005-0,01 | |
261,42 | 0,005-0,01 | |
Селен | 203,99 | 0,0001-0,01 |
Серебро | 328,07 | 0,00001-0,001 |
Сурьма | 259,81 | 0,0001-0,01 |
287,79 | 0,0001-0,01 | |
Таллий | 276,79 | 0,00005-0,003 |
Тантал | 265,33 | 0,0001-0,005 |
Теллур | 214,28 | 0,00005-0,001 |
238,58 | 0,0001-0,003 | |
Фосфор | 213,62 | 0,0001-0,005 |
253,56 | 0,0003-0,005 | |
Цинк | 206,19 | 0,0002-0,001 |
334,50 | 0,0002-0,005 | |
330,26 | 0,0002-0,005 | |
334,56 | 0,001-0,01 | |
Никель - линия сравнения | 204,37 | Основа |
205,32 | ||
213,35 | ||
242,91 | ||
283,46 | ||
287,62 | ||
311,67 | ||
329,62 |
Допускается использовать другие аналитические линии, если они обеспечивают определение массовых долей элементов в требуемом диапазоне с погрешностью, не превышающей установленную настоящим стандартом.
Таблетку пробы или СО помещают на электрод-подставку. Верхний электрод рекомендуется затачивать на усеченный конус.
Электроды предварительно прокаливают в дуге постоянного тока в течение 10-20 с при силе тока 6-10 А, включая их в качестве анода дуги. Электроды марки ОСЧ допускается не прокаливать.
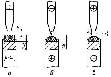
Форма и размеры электродов и их расположение во время аналитической экспозиции приведены на рисунке 1.
Рисунок 1. Форма и размеры электродов и их расположение во время аналитической экспозиции

а - до начала экспозиции; б - при анодной полярности образца; в - при катодной полярности образца
Рисунок 1
Спектрограммы снимают через трехступенчатый ослабитель. При работе в узком интервале определяемых массовых долей элементов съемку можно проводить без ослабителя (ФГ).
Электрод-подставку с помещенной на него таблеткой пробы или СО включают в качестве анода дуги. Регистрацию спектра начинают только после перехода анодного пятна дуги на расплав пробы. Переход ускоряют выключением тока после нескольких секунд горения дуги и повторным его включением, пока расплав еще не успел остыть. Первоначально установленный дуговой промежуток корректируют периодически в течение всей экспозиции по увеличенному изображению дуги на экране средней линзы осветительной системы или с помощью специальной короткофокусной проекционной линзы. Регистрацию спектра проводят при следующих условиях: ширина входной щели спектрального прибора 0,010-0,015 мм, освещение щели трехлинзовым конденсором, высота диафрагмы на средней линзе конденсора 5 мм, сила тока 5-10 А, экспозиция 40-60 с, масса таблетки 0,200-1,000 г. По измерениям, полученным на первом этапе, определяют легколетучие элементы - висмут, кадмий, мышьяк, олово, свинец, селен, серебро, сурьму, таллий, теллур, цинк и фосфор.
Образующийся при проведении первого этапа королек помещают на свежезаточенную подставку и включают ее в качестве катода дуги. Регистрацию спектра начинают после перехода катодного пятна дуги с подставки на расплавленную часть королька и проводят ее при следующих условиях: ширина входной щели 0,010-0,015 мм, освещение щели трехлинзовым конденсором, высота диафрагмы на средней линзе конденсора 3 мм, сила тока 3-6 А, экспозиция 20-40 с. По измерениям, полученным на втором этапе, определяют труднолетучие элементы - алюминий, железо, кальций, кобальт, кремний, магний, марганец, медь и тантал.
Допускается проводить второй этап, не снимая королек с подставки по окончании первого этапа, изменив автоматически полярность электродов и силу тока дуги (ФЭ).
При определении массовой доли селена и необходимости снижения пределов обнаружения легколетучих элементов по аналитическим линиям, длины волн которых менее 230 нм, проводят дополнительный третий этап. Фотопластинки обрабатывают в растворе салициловокислого натрия в течение 60 с и сушат. Таблетку пробы или СО включают в качестве анода дуги. Условия регистрации спектра: ширина щели спектрографа 0,018-0,020 мм, освещение щели трехлинзовым конденсором, высота диафрагмы на средней линзе конденсора 5 мм, сила тока 18-20 А, экспозиция 45-60 с, электрод-подставка диаметром 15 мм с углублением на торцовой части 1,5 мм, масса таблетки 0,700-1,000 г (ФГ).
Фотопластинки проявляют в течение 4-6 мин при температуре 18-20°С, фиксируют, промывают и сушат (ФГ).
Оптимизацию условий проведения анализа конкретного вида или марки продукции осуществляют путем подбора значений переменных параметров (масса таблетки, ток дуги, экспозиция, ширина входной щели спектрального прибора), выбора оптимальных аналитических линий, типа фотопластинок, формы верхнего электрода и т.п.
(Измененная редакция, Изм. N 1).
5.5 Обработка результатов
В спектрах проб и СО измеряют интенсивности аналитических линий элементов и линий сравнения никеля. Допускается вместо интенсивности линии сравнения использовать интенсивность неразложенного света (ФЭ) и минимальное значение оптической плотности фона, измеренного рядом с аналитической линией (ФГ).
При фотографической регистрации спектра в спектрограммах проб и СО измеряют почернения аналитических линий определяемых элементов и линий сравнения, выбирая ступень ослабления с оптимальными значениями почернений. По измеренным значениям вычисляют разности почернений
и их средние арифметические
для каждого СО и каждого параллельного определения пробы. Перед усреднением рекомендуется провести проверку пригодности результатов измерений в соответствии с приложением Б.
По вычисленным значениям для СО и соответствующим им значениям массовых долей определяемых элементов
строят градуировочные графики в координатах
.
По значениям для проб находят массовые доли определяемых элементов по соответствующим градуировочным графикам.
При фотоэлектрической регистрации спектра по полученным результатам измерений интенсивности аналитических линий определяемых элементов вычисляют средние арифметические
для каждого СО и каждого параллельного определения пробы. Перед усреднением рекомендуется провести проверку пригодности результатов измерений в соответствии с приложением Б.
По вычисленным значениям для СО и соответствующим им значениям массовых долей определяемых элементов
строят градуировочные графики в координатах
или
.
По значениям или
для проб находят массовые доли определяемых элементов по соответствующим градуировочным графикам.
При работе на спектрометре с ЭВМ значения массовых долей элементов в СО и соответствующие им средние арифметические значения измерений интенсивностей аналитических линий определяемых элементов вводят в ЭВМ, которая формирует уравнение градуировочной зависимости. Допускается вводить алгоритм обработки результатов анализа в аналитическую программу и считывать с монитора или печатающего устройства значения массовых долей определяемых элементов.
За результат анализа принимают среднее арифметическое результатов параллельных определений, если их расхождение не превышает значения допускаемого расхождения , приведенного в 5.6.
При расхождении результатов параллельных определений более допускаемого анализ повторяют. Если при проведении повторного анализа расхождение результатов параллельных определений превышает допускаемое, пробу заменяют новой, полученной при повторном пробоотборе.
Расхождение результатов анализа одной и той же пробы, полученных в двух лабораториях, а также в одной лаборатории, но в разных условиях (в различное время, разными исполнителями), не должно превышать допускаемого расхождения двух результатов анализа .
Если результат анализа отличается от марочного содержания на значение, меньшее или равное значению погрешности метода, рекомендуется проведение повторного анализа. За окончательный результат анализа в этом случае принимают среднее арифметическое первичного и повторного результатов анализа, если расхождение между ними не превышает значения допускаемого расхождения , приведенного в 5.6.
(Измененная редакция, Изм. N 1).
5.6 Контроль точности анализа
Контроль точности анализа осуществляют в соответствии с ГОСТ 25086 не реже одного раза в квартал. В качестве норматива при контроле точности используют значения погрешности метода анализа , приведенные в таблице 2.
Нормативы оперативного контроля - допускаемые расхождения результатов двух параллельных определений и допускаемые расхождения двух результатов анализа - приведены в таблице 2.
Таблица 2 - Нормативы контроля и погрешность метода анализа (при доверительной вероятности =0,95)
В процентах
Определяемый элемент | Массовая доля | Допускаемое расхождение результатов двух параллельных определений | Допускаемое расхождение двух результатов анализа | Погрешность метода анализа |
Алюминий | 0,0002 | 0,0001 | 0,0002 | 0,0001 |
0,0005 | 0,0003 | 0,0004 | 0,0003 | |
0,0010 | 0,0006 | 0,0007 | 0,0005 | |
0,0020 | 0,0010 | 0,0013 | 0,0009 | |
0,005 | 0,002 | 0,003 | 0,002 | |
0,010 | 0,004 | 0,006 | 0,004 | |
0,020 | 0,008 | 0,010 | 0,007 | |
0,050 | 0,019 | 0,024 | 0,017 | |
0,10 | 0,03 | 0,04 | 0,03 | |
Висмут | 0,000010 | 0,000005 | 0,000007 | 0,000005 |
0,00003 | 0,00001 | 0,00002 | 0,00001 | |
0,00005 | 0,00002 | 0,00003 | 0,00002 | |
0,00010 | 0,00004 | 0,00005 | 0,00004 | |
0,00020 | 0,00008 | 0,00010 | 0,00007 | |
0,00050 | 0,00018 | 0,00023 | 0,00016 | |
0,0010 | 0,0003 | 0,0004 | 0,0003 | |
0,0020 | 0,0006 | 0,0008 | 0,0006 | |
0,0050 | 0,0014 | 0,0018 | 0,0013 | |
0,010 | 0,003 | 0,003 | 0,002 | |
Железо | 0,0010 | 0,0004 | 0,0005 | 0,0004 |
0,0020 | 0,0007 | 0,0009 | 0,0007 | |
0,0050 | 0,0015 | 0,0019 | 0,0014 | |
0,010 | 0,003 | 0,003 | 0,002 | |
0,020 | 0,005 | 0,006 | 0,004 | |
0,050 | 0,010 | 0,012 | 0,009 | |
0,100 | 0,017 | 0,021 | 0,015 | |
0,20 | 0,03 | 0,04 | 0,03 | |
0,50 | 0,06 | 0,08 | 0,05 | |
1,00 | 0,11 | 0,13 | 0,09 | |
Кадмий | 0,00005 | 0,00002 | 0,00003 | 0,00002 |
0,00010 | 0,00004 | 0,00005 | 0,00004 | |
0,00020 | 0,00008 | 0,00010 | 0,00007 | |
0,00050 | 0,00018 | 0,00023 | 0,00016 | |
0,0010 | 0,0003 | 0,0004 | 0,0003 | |
0,0020 | 0,0006 | 0,0008 | 0,0006 | |
0,0050 | 0,0014 | 0,0018 | 0,0013 | |
0,010 | 0,003 | 0,003 | 0,002 | |
Кальций | 0,0005 | 0,0003 | 0,0004 | 0,0003 |
0,0010 | 0,0006 | 0,0007 | 0,0005 | |
0,0020 | 0,0010 | 0,0013 | 0,0009 | |
0,005 | 0,002 | 0,003 | 0,002 | |
0,010 | 0,004 | 0,006 | 0,004 | |
0,020 | 0,008 | 0,010 | 0,007 | |
0,050 | 0,019 | 0,024 | 0,017 | |
Кобальт | 0,0003 | 0,0001 | 0,0002 | 0,0001 |
0,0005 | 0,0002 | 0,0003 | 0,0002 | |
0,0010 | 0,0004 | 0,0005 | 0,0003 | |
0,0020 | 0,0006 | 0,0008 | 0,0006 | |
0,0050 | 0,0013 | 0,0016 | 0,0012 | |
0,010 | 0,002 | 0,003 | 0,002 | |
0,020 | 0,004 | 0,005 | 0,004 | |
0,050 | 0,008 | 0,011 | 0,007 | |
0,100 | 0,015 | 0,019 | 0,013 | |
0,20 | 0,03 | 0,03 | 0,02 | |
0,50 | 0,05 | 0,07 | 0,05 | |
1,00 | 0,09 | 0,12 | 0,08 | |
Кремний | 0,0003 | 0,0002 | 0,0003 | 0,0002 |
0,0005 | 0,0003 | 0,0004 | 0,0003 | |
0,0010 | 0,0006 | 0,0007 | 0,0005 | |
0,0020 | 0,0010 | 0,0013 | 0,0009 | |
0,005 | 0,002 | 0,003 | 0,002 | |
0,010 | 0,004 | 0,006 | 0,004 | |
0,020 | 0,008 | 0,010 | 0,007 | |
0,050 | 0,019 | 0,024 | 0,017 | |
0,10 | 0,03 | 0,04 | 0,03 | |
0,20 | 0,07 | 0,08 | 0,06 | |
Магний | 0,00010 | 0,00007 | 0,00009 | 0,00006 |
0,00020 | 0,00013 | 0,00016 | 0,00012 | |
0,0005 | 0,0003 | 0,0004 | 0,0003 | |
0,0010 | 0,0006 | 0,0007 | 0,0005 | |
0,0020 | 0,0010 | 0,0013 | 0,0009 | |
0,005 | 0,002 | 0,003 | 0,002 | |
0,010 | 0,004 | 0,006 | 0,004 | |
0,020 | 0,008 | 0,010 | 0,007 | |
0,050 | 0,019 | 0,024 | 0,017 | |
0,10 | 0,03 | 0,04 | 0,03 | |
0,20 | 0,07 | 0,08 | 0,06 | |
Марганец | 0,00005 | 0,00003 | 0,00004 | 0,00003 |
0,00010 | 0,00006 | 0,00007 | 0,00005 | |
0,00020 | 0,00010 | 0,00013 | 0,00009 | |
0,0005 | 0,0002 | 0,0003 | 0,0002 | |
0,0010 | 0,0004 | 0,0005 | 0,0003 | |
0,0020 | 0,0006 | 0,0008 | 0,0006 | |
0,0050 | 0,0013 | 0,0016 | 0,0012 | |
0,010 | 0,002 | 0,003 | 0,002 | |
0,020 | 0,004 | 0,005 | 0,004 | |
0,050 | 0,008 | 0,011 | 0,007 | |
0,100 | 0,015 | 0,019 | 0,013 | |
0,20 | 0,03 | 0,03 | 0,02 | |
Медь | 0,00005 | 0,00003 | 0,00004 | 0,00003 |
0,00010 | 0,00006 | 0,00008 | 0,00005 | |
0,00020 | 0,00011 | 0,00014 | 0,00010 | |
0,0005 | 0,0002 | 0,0003 | 0,0002 | |
0,0010 | 0,0005 | 0,0006 | 0,0004 | |
0,0020 | 0,0009 | 0,0011 | 0,0008 | |
0,005 | 0,002 | 0,003 | 0,002 | |
0,010 | 0,004 | 0,005 | 0,003 | |
0,020 | 0,007 | 0,009 | 0,006 | |
0,050 | 0,016 | 0,020 | 0,014 | |
0,10 | 0,03 | 0,04 | 0,03 | |
0,20 | 0,06 | 0,07 | 0,05 | |
0,50 | 0,13 | 0,16 | 0,11 | |
1,0 | 0,2 | 0,3 | 0,2 | |
Мышьяк | 0,00010 | 0,00004 | 0,00005 | 0,00004 |
0,0003 | 0,0001 | 0,0002 | 0,0001 | |
0,0005 | 0,0002 | 0,0003 | 0,0002 | |
0,0010 | 0,0003 | 0,0004 | 0,0003 | |
0,0020 | 0,0006 | 0,0008 | 0,0006 | |
0,0050 | 0,0014 | 0,0018 | 0,0013 | |
0,010 | 0,003 | 0,003 | 0,002 | |
Олово | 0,00003 | 0,00001 | 0,00002 | 0,00001 |
0,00005 | 0,00002 | 0,00003 | 0,00002 | |
0,00010 | 0,00003 | 0,00004 | 0,00003 | |
0,00020 | 0,00007 | 0,00008 | 0,00006 | |
0,00050 | 0,00015 | 0,00019 | 0,00014 | |
0,0010 | 0,0003 | 0,0004 | 0,0003 | |
0,0020 | 0,0005 | 0,0007 | 0,0005 | |
0,0050 | 0,0012 | 0,0015 | 0,0011 | |
0,010 | 0,002 | 0,003 | 0,002 | |
Свинец | 0,00005 | 0,00002 | 0,00003 | 0,00002 |
0,00010 | 0,00003 | 0,00004 | 0,00003 | |
0,00020 | 0,00007 | 0,00008 | 0,00006 | |
0,00050 | 0,00015 | 0,00019 | 0,00014 | |
0,0010 | 0,0003 | 0,0004 | 0,0003 | |
0,0020 | 0,0005 | 0,0007 | 0,0005 | |
0,0050 | 0,0012 | 0,0015 | 0,0011 | |
0,010 | 0,002 | 0,003 | 0,002 | |
Селен | 0,00010 | 0,00004 | 0,00005 | 0,00004 |
0,00020 | 0,00008 | 0,00010 | 0,00007 | |
0,00050 | 0,00018 | 0,00023 | 0,00016 | |
0,0010 | 0,0003 | 0,0004 | 0,0003 | |
0,0020 | 0,0006 | 0,0008 | 0,0006 | |
0,0050 | 0,0014 | 0,0018 | 0,0013 | |
0,010 | 0,003 | 0,003 | 0,002 | |
Серебро | 0,000010 | 0,000005 | 0,000007 | 0,000005 |
0,000020 | 0,000010 | 0,000012 | 0,000009 | |
0,00005 | 0,00002 | 0,00003 | 0,00002 | |
0,00010 | 0,00004 | 0,00005 | 0,00004 | |
0,00020 | 0,00008 | 0,00010 | 0,00007 | |
0,00050 | 0,00018 | 0,00023 | 0,00016 | |
0,0010 | 0,0003 | 0,0004 | 0,0003 | |
Сурьма | 0,00010 | 0,00004 | 0,00005 | 0,00004 |
0,00020 | 0,00008 | 0,00010 | 0,00007 | |
0,00050 | 0,00018 | 0,00023 | 0,00016 | |
0,0010 | 0,0003 | 0,0004 | 0,0003 | |
0,0020 | 0,0006 | 0,0008 | 0,0006 | |
0,0050 | 0,0014 | 0,0018 | 0,0013 | |
0,010 | 0,003 | 0,003 | 0,002 | |
Таллий | 0,00005 | 0,00002 | 0,00003 | 0,00002 |
0,00010 | 0,00004 | 0,00005 | 0,00004 | |
0,00020 | 0,00008 | 0,00010 | 0,00007 | |
0,00050 | 0,00018 | 0,00023 | 0,00016 | |
0,0010 | 0,0003 | 0,0004 | 0,0003 | |
0,0020 | 0,0006 | 0,0008 | 0,0006 | |
0,0030 | 0,0009 | 0,0011 | 0,0008 | |
Тантал | 0,00010 | 0,00006 | 0,00007 | 0,00005 |
0,00020 | 0,00010 | 0,00013 | 0,00009 | |
0,0005 | 0,0002 | 0,0003 | 0,0002 | |
0,0010 | 0,0004 | 0,0005 | 0,0003 | |
0,0020 | 0,0006 | 0,0008 | 0,0006 | |
0,0050 | 0,0013 | 0,0016 | 0,0012 | |
Теллур | 0,00005 | 0,00002 | 0,00003 | 0,00002 |
0,00010 | 0,00004 | 0,00005 | 0,00004 | |
0,00020 | 0,00008 | 0,00010 | 0,00007 | |
0,00050 | 0,00018 | 0,00023 | 0,00016 | |
0,0010 | 0,0003 | 0,0004 | 0,0003 | |
0,0020 | 0,0006 | 0,0008 | 0,0006 | |
0,0030 | 0,0009 | 0,0011 | 0,0008 | |
Фосфор | 0,00010 | 0,00004 | 0,00005 | 0,00004 |
0,00020 | 0,00008 | 0,00010 | 0,00007 | |
0,00050 | 0,00018 | 0,00023 | 0,00016 | |
0,0010 | 0,0003 | 0,0004 | 0,0003 | |
0,0020 | 0,0006 | 0,0008 | 0,0006 | |
0,0050 | 0,0014 | 0,0018 | 0,0013 | |
Цинк | 0,00020 | 0,00006 | 0,00007 | 0,00005 |
0,00030 | 0,00008 | 0,00011 | 0,00008 | |
0,00050 | 0,00013 | 0,00017 | 0,00012 | |
0,0010 | 0,0002 | 0,0003 | 0,0002 | |
0,0020 | 0,0005 | 0,0006 | 0,0004 | |
0,0050 | 0,0011 | 0,0013 | 0,0009 | |
0,010 | 0,002 | 0,003 | 0,002 |
Для промежуточных значений массовых долей элементов расчет значений ,
и
проводят методом линейной интерполяции.
(Измененная редакция, Изм. N 1).
6 Химико-атомно-эмиссионный спектральный метод с индуктивно связанной плазмой в качестве источника возбуждения спектра
6.1 Метод измерения
Диапазоны определяемых массовых долей элементов составляют, %:
алюминий | 0,0005-0,3 |
железо | 0,001-1,0 |
кадмий | 0,0002-0,005 |
кобальт | 0,0005-1,0 |
кремний | 0,001-0,3 |
магний | 0,0005-0,01 |
марганец | 0,0002-0,3 |
медь | 0,0005-0,3 |
фосфор | 0,001-0,01 |
цинк | 0,0003-0,010 |
Метод основан на возбуждении спектра индуктивно связанной плазмой с последующей регистрацией излучения спектральных линий фотоэлектрическим способом. При проведении анализа используют зависимость интенсивностей спектральных линий элементов от их массовых долей в пробе. Пробу предварительно растворяют в смеси соляной и азотной кислот.
6.2 Средства измерений, вспомогательные устройства, материалы, реактивы, растворы
Автоматизированный спектрометр (полихроматор или монохроматор) атомно-эмиссионный с индуктивно связанной плазмой в качестве источника возбуждения спектра со всеми принадлежностями.
Весы аналитические лабораторные 2-го класса точности любого типа с погрешностью взвешивания по ГОСТ 24104.
Аргон по ГОСТ 10157.
Вода дистиллированная по ГОСТ 6709, дополнительно очищенная перегонкой или иным способом.
Кислота азотная особой чистоты по ГОСТ 11125 или марки ХЧ по ГОСТ 4461, или марки ЧДА по ГОСТ 4461, дополнительно очищенная перегонкой или иным способом и разбавленная 1:1 и 1:10.
Кислота соляная особой чистоты по ГОСТ 14261.
Смесь кислот: к 800 см воды добавляют 300 см
соляной кислоты и 100 см
азотной кислоты.
Алюминий по ГОСТ 11069 или порошок алюминиевый по ГОСТ 5494.
Кадмий по ГОСТ 1467 или ГОСТ 22860.
Калий фосфорнокислый по ГОСТ 4198, высушенный при температуре (105±2)°С в течение 1 ч.
Кобальт по ГОСТ 123.
Магний первичный по ГОСТ 804.
Марганец по ГОСТ 6008.
Медь по ГОСТ 859.
Натрий кремнекислый 9-водный.
Натрий углекислый по ГОСТ 83, раствор с массовой концентрацией 200 г/дм.
Порошок железный марки ПЖВ-1 по ГОСТ 9849 или железо карбонильное особой чистоты, или железо восстановленное.
Порошок никелевый карбонильный группы "У" или "0" по ГОСТ 9722 или никель марки Н-0 по ГОСТ 849, с установленными массовыми долями элементов.
Цинк по ГОСТ 3640.
6.3 Подготовка к анализу
6.3.1 Приготовление растворов с известной концентрацией
Раствор никеля с массовой концентрацией 200 г/дм:
Навеску никелевого порошка или никеля массой 100,00 г помещают в стакан вместимостью 1000 см, добавляют 50 см
воды и порциями по 5-10 см
приливают 400 см
азотной кислоты. Раствор выпаривают до объема 250-300 см
, охлаждают, переводят в мерную колбу вместимостью 500 см
и доливают до метки водой. При использовании никелевого порошка раствор фильтруют через фильтр средней плотности, предварительно промытый азотной кислотой, разбавленной 1:10.
Раствор железа и кобальта с массовыми концентрациями 1 г/дм:
Навеску железа массой 0,5000 г растворяют при нагревании в 30 см смеси кислот, кипятят 5-10 мин, охлаждают и переводят в мерную колбу вместимостью 500 см
. Навеску кобальта массой 0,5000 г растворяют при нагревании в 25 см
азотной кислоты, разбавленной 1:1, раствор охлаждают, переводят в ту же мерную колбу и доливают до метки водой.
Раствор марганца и меди с массовыми концентрациями 1 г/дм и магния массовой концентрацией 0,1 г/дм
:
Навески марганца и меди массой по 0,5000 г и магния массой 0,1000 г отдельно растворяют при нагревании в 25 см азотной кислоты, разбавленной 1:1, кипятят 5-10 мин, охлаждают, каждый раствор переводят в мерные колбы вместимостью 100 см
и доливают до метки водой. В мерную колбу вместимостью 100 см
отбирают по 20 см
полученных растворов марганца и меди и 10 см
раствора магния и доливают до метки водой.
Раствор алюминия с массовой концентрацией 1 г/дм:
Навеску алюминия или алюминиевого порошка массой 0,4000 г растворяют при нагревании в 25 см соляной кислоты, разбавленной 1:1, переводят в мерную колбу вместимостью 100 см
и доливают до метки водой. В мерную колбу вместимостью 100 см
отбирают 25 см
полученного раствора и доливают до метки водой.
Раствор кадмия и цинка массовыми концентрациями 0,02 г/дм и фосфора массовой концентрацией 0,04 г/дм
:
Навески кадмия и цинка массой по 0,1000 г отдельно растворяют при нагревании в 25 см азотной кислоты, разбавленной 1:1, охлаждают, каждый раствор переводят в мерные колбы вместимостью 500 см
и доливают до метки водой. Навеску фосфорнокислого калия массой 0,4393 г растворяют в воде, раствор переводят в мерную колбу вместимостью 500 см
и доливают до метки водой. В мерную колбу вместимостью 100 см
отбирают по 10 см
полученных растворов кадмия и цинка и 20 см
раствора фосфора и доливают до метки водой.
Раствор кремния с массовой концентрацией 0,5 г/дм:
Навеску кремнекислого натрия массой 2,5297 г растворяют в 50 см раствора углекислого натрия, раствор переводят в мерную колбу вместимостью 500 см
и доливают до метки водой.
Для приготовления растворов с известными концентрациями элементов допускается использовать оксиды или соли стабильного состава, а также государственные стандартные образцы растворов металлов.
Растворы с известной концентрацией элементов хранят в полиэтиленовой посуде. Условия хранения и использования растворов - в соответствии с ГОСТ 4212.
6.3.2 Приготовление градуировочных растворов
Для приготовления градуировочных растворов 1-11, рекомендуемый состав которых приведен в таблице 3, в мерные колбы вместимостью 100 см отбирают расчетные объемы растворов с известной концентрацией элементов и доливают до метки водой. При необходимости вносят поправки на массовую долю элементов в карбонильном никелевом порошке или никеле, использованных для приготовления раствора никеля. Градуировочные растворы хранят в посуде из полиэтилена и используют в течение не более трех месяцев.
Таблица 3 - Состав градуировочных растворов 1-11
Элемент | Массовая концентрация элемента в градуировочных растворах, мг/дм | ||||||||||
1 | 2 | 3 | 4 | 5 | 6 | 7 | 8 | 9 | 10 | 11 | |
Алюминий | - | 1 | 5 | 25 | 50 | - | 0,1 | 0,5 | 5 | 50 | 100 |
Железо | - | 5 | 10 | 50 | 100 | - | 0,2 | 1 | 10 | 100 | 200 |
Кадмий | - | 0,1 | 0,4 | 1 | 5 | - | 1 | 1 | 1 | 1 | 1 |
Кобальт | - | 5 | 10 | 50 | 100 | - | 0,1 | 1 | 10 | 100 | 200 |
Кремний | - | 1 | 5 | 10 | 20 | - | 0,25 | 0,5 | 2,5 | 25 | 50 |
Магний | - | 0,5 | 1 | 5 | 10 | - | 0,05 | 0,25 | 2,5 | 5 | 10 |
Марганец | - | 1 | 5 | 25 | 50 | - | 0,1 | 0,5 | 5 | 50 | 100 |
Медь | - | 1 | 5 | 25 | 50 | - | 0,1 | 0,5 | 5 | 50 | 100 |
Фосфор | - | 0,4 | 0,8 | 2 | 10 | - | 2 | 2 | 2 | 2 | 2 |
Цинк | - | 0,1 | 0,4 | 1 | 5 | - | 1 | 1 | 1 | 1 | 1 |
Массовая концентрация никеля в градуировочных растворах 1-5 составляет 50 г/дм, в градуировочных растворах 6-11 - 20 г/дм
.
6.3.3 Приготовление растворов проб
Навеску пробы массой 5,000 г помещают в стакан вместимостью 250-400 см, растворяют в 100 см
смеси кислот, добавляя смесь порциями по 5-10 см
, раствор выпаривают до объема 25-30 см
, переводят в мерную колбу вместимостью 100 см
и доливают до метки водой. Полученный первичный раствор пробы используют для определения кадмия, цинка и фосфора.
В мерную колбу вместимостью 100 см отбирают 20 см
первичного раствора пробы и доливают до метки водой. Разбавленный раствор пробы используют для определения кобальта, железа, меди, марганца, кремния, алюминия и магния.
6.4 Проведение анализа
Подготовку спектрометра к выполнению измерений проводят в соответствии с инструкцией по эксплуатации и обслуживанию спектрометра. Параметры спектрометра и расход аргона устанавливают в пределах, обеспечивающих максимальную чувствительность определения массовых долей элементов.
Рекомендуемые аналитические линии и диапазоны определяемых массовых долей приведены в таблице 4.
Таблица 4 - Рекомендуемые аналитические линии и диапазоны определяемых массовых долей элементов
Определяемый элемент | Длина волны аналитической линии, нм | Диапазон определяемых массовых долей, % |
Алюминий | 396,15 | 0,0005-0,3 |
308,22 | 0,0005-0,3 | |
Железо | 259,94 | 0,001-1,0 |
238,20 | 0,001-1,0 | |
239,56 | 0,001-1,0 | |
Кадмий | 214,44 | 0,0002-0,005 |
Кобальт | 238,89 | 0,0005-1,0 |
237,86 | 0,0005-1,0 | |
345,35 | 0,001-1,0 | |
Кремний | 251,61 | 0,001-0,3 |
Магний | 279,55 | 0,0005-0,01 |
280,27 | 0,0005-0,01 | |
Марганец | 257,61 | 0,0002-0,3 |
259,37 | 0,0002-0,3 | |
293,31 | 0,0002-0,3 | |
Медь | 324,75 | 0,0005-0,3 |
327,40 | 0,001-0,3 | |
Фосфор | 178,29 | 0,001-0,01 |
213,62 | 0,001-0,01 | |
214,91 | 0,001-0,01 | |
Цинк | 206,20 | 0,0003-0,01 |
Допускается использовать другие аналитические линии, если они обеспечивают определение массовых долей элементов в требуемом диапазоне с погрешностью, не превышающей установленную настоящим стандартом.
При работе на монохроматоре проверяют положение аналитических линий, используя градуировочный раствор 5 или 10.
Градуировочные зависимости для кадмия, цинка и фосфора находят, используя градуировочные растворы 1-5, а для кобальта, железа, марганца, меди, магния, алюминия и кремния - градуировочные растворы 6-11.
Для каждого градуировочного раствора выполняют не менее пяти параллельных измерений интенсивностей аналитических линий определяемых элементов. По вычисленным средним арифметическим значениям интенсивностей и соответствующим им массовым концентрациям элементов определяют параметры градуировочных графиков, которые вводят в память компьютера на стадии создания аналитической программы.
Перед началом измерений и через каждые два часа работы прибора проводят корректировку градуировочных графиков по двум градуировочным растворам 2 и 5 или 7 и 11.
Дня каждого раствора пробы выполняют три параллельных измерения и считывают с экрана монитора или ленты печатающего устройства значения массовых концентраций определяемых элементов в растворе пробы и их средние арифметические значения.
6.5 Обработка результатов
Массовую долю элемента в пробе, %, вычисляют по формуле
, (1)
где - массовая концентрация элемента в растворе пробы, мг/дм
;
- объем анализируемого раствора, см
;
- масса навески пробы, г;
- коэффициент разбавления.
Допускается обработку результатов анализа вводить в аналитическую программу и считывать с монитора или печатающего устройства значения массовых долей определяемых элементов.
За результат анализа принимают среднее арифметическое результатов параллельных определений, если их расхождение не превышает величины допускаемого расхождения , приведенного в 6.6.
При расхождении результатов параллельных определений более допускаемого анализ повторяют.
Если при проведении повторного анализа расхождение результатов параллельных определений превышает допускаемое, пробу заменяют новой, полученной при повторном пробоотборе.
Если результат анализа отличается от марочного содержания на величину, меньшую или равную значению погрешности метода, рекомендуется проведение повторного анализа. За окончательный результат анализа в этом случае принимают среднее арифметическое первичного и повторного результатов анализа, если расхождение между ними не превышает величины допускаемого расхождения приведенного в 5.6.
6.6 Контроль точности анализа
Контроль точности анализа осуществляют в соответствии с ГОСТ 25086 не реже одного раза в квартал. В качестве норматива при контроле точности используют значения погрешности метода анализа , приведенные в таблице 5.
Нормативы оперативного контроля - допускаемые расхождения результатов двух параллельных определений и допускаемые расхождения двух результатов анализа - приведены в таблице 5.
Таблица 5 - Нормативы контроля и погрешность метода анализа (при доверительной вероятности =0,95)
В процентах
Определяемый | Массовая | Допускаемое расхождение результатов двух параллельных определений | Допускаемое расхождение двух результатов анализа | Погрешность метода анализа |
Алюминий | 0,0005 | 0,0002 | 0,0003 | 0,0002 |
0,0010 | 0,0005 | 0,0006 | 0,0004 | |
0,0020 | 0,0007 | 0,0009 | 0,0006 | |
0,0050 | 0,0015 | 0,0019 | 0,0014 | |
0,010 | 0,003 | 0,004 | 0,003 | |
0,020 | 0,005 | 0,006 | 0,004 | |
0,050 | 0,012 | 0,015 | 0,011 | |
0,10 | 0,02 | 0,03 | 0,02 | |
0,30 | 0,06 | 0,08 | 0,06 | |
Железо | 0,0010 | 0,0004 | 0,0005 | 0,0004 |
0,0030 | 0,0009 | 0,0012 | 0,0008 | |
0,0050 | 0,0015 | 0,0019 | 0,0014 | |
0,010 | 0,003 | 0,004 | 0,003 | |
0,030 | 0,007 | 0,009 | 0,006 | |
0,100 | 0,018 | 0,022 | 0,016 | |
0,20 | 0,03 | 0,03 | 0,02 | |
0,50 | 0,06 | 0,07 | 0,05 | |
1,00 | 0,11 | 0,14 | 0,10 | |
Кадмий | 0,00020 | 0,00008 | 0,00010 | 0,00007 |
0,0005 | 0,0003 | 0,0003 | 0,0002 | |
0,0010 | 0,0004 | 0,0005 | 0,0004 | |
0,0020 | 0,0006 | 0,0007 | 0,0005 | |
0,0050 | 0,0014 | 0,0017 | 0,0012 | |
Кобальт | 0,0005 | 0,0001 | 0,0002 | 0,0001 |
0,0010 | 0,0003 | 0,0004 | 0,0003 | |
0,0020 | 0,0005 | 0,0006 | 0,0004 | |
0,0050 | 0,0009 | 0,0011 | 0,0008 | |
0,0100 | 0,0019 | 0,0024 | 0,0017 | |
0,020 | 0,004 | 0,006 | 0,004 | |
0,050 | 0,006 | 0,007 | 0,005 | |
0,100 | 0,010 | 0,012 | 0,008 | |
0,200 | 0,018 | 0,023 | 0,016 | |
0,50 | 0,04 | 0,05 | 0,04 | |
1,00 | 0,06 | 0,07 | 0,05 | |
Кремний | 0,0010 | 0,0006 | 0,0007 | 0,0005 |
0,005 | 0,001 | 0,002 | 0,001 | |
0,010 | 0,003 | 0,004 | 0,003 | |
0,030 | 0,007 | 0,009 | 0,006 | |
0,050 | 0,011 | 0,014 | 0,010 | |
0,10 | 0,02 | 0,03 | 0,02 | |
0,30 | 0,07 | 0,09 | 0,06 | |
Магний | 0,0005 | 0,0002 | 0,0003 | 0,0002 |
0,0010 | 0,0004 | 0,0006 | 0,0004 | |
0,0020 | 0,0008 | 0,0011 | 0,0007 | |
0,0050 | 0,0014 | 0,0017 | 0,0012 | |
0,010 | 0,003 | 0,003 | 0,002 | |
Марганец | 0,00020 | 0,00007 | 0,00009 | 0,00006 |
0,0005 | 0,0001 | 0,0002 | 0,0001 | |
0,0010 | 0,0003 | 0,0004 | 0,0003 | |
0,0050 | 0,0009 | 0,0011 | 0,0008 | |
0,0100 | 0,0019 | 0,0024 | 0,0017 | |
0,030 | 0,004 | 0,005 | 0,004 | |
0,070 | 0,007 | 0,009 | 0,006 | |
0,100 | 0,010 | 0,012 | 0,008 | |
0,30 | 0,02 | 0,03 | 0,02 | |
Медь | 0,0005 | 0,0001 | 0,0002 | 0,0001 |
0,0010 | 0,0003 | 0,0004 | 0,0003 | |
0,0020 | 0,0006 | 0,0007 | 0,0005 | |
0,0050 | 0,0011 | 0,0014 | 0,0010 | |
0,010 | 0,002 | 0,003 | 0,002 | |
0,020 | 0,004 | 0,005 | 0,004 | |
0,030 | 0,006 | 0,007 | 0,005 | |
0,050 | 0,008 | 0,010 | 0,007 | |
0,080 | 0,011 | 0,014 | 0,010 | |
0,100 | 0,015 | 0,019 | 0,014 | |
0,30 | 0,04 | 0,05 | 0,04 | |
Фосфор | 0,0010 | 0,0004 | 0,0005 | 0,0004 |
0,0020 | 0,0008 | 0,0010 | 0,0007 | |
0,0030 | 0,0011 | 0,0014 | 0,0010 | |
0,0050 | 0,0015 | 0,0018 | 0,0013 | |
0,010 | 0,003 | 0,004 | 0,003 | |
Цинк | 0,0003 | 0,0001 | 0,0002 | 0,0001 |
0,0005 | 0,0002 | 0,0003 | 0,0002 | |
0,0010 | 0,0004 | 0,0005 | 0,0004 | |
0,0020 | 0,0006 | 0,0009 | 0,0006 | |
0,0030 | 0,0008 | 0,0010 | 0,0007 | |
0,010 | 0,002 | 0,003 | 0,002 |
Для промежуточных значений массовых долей элементов расчет значений ,
и
проводят методом линейной интерполяции.
ПРИЛОЖЕНИЕ А (рекомендуемое). Методика приготовления стандартных образцов
ПРИЛОЖЕНИЕ А
(рекомендуемое)
_____________
* Измененная редакция, Изм. N 1.
Стандартные образцы для градуировки представляют собой измельченный оксид никеля с введенными добавками определяемых элементов. Состав СО разрабатывают с учетом массовых долей элементов в анализируемых продуктах. Метрологические характеристики СО устанавливают в соответствии с требованиями ГОСТ 8.315.
А.1 Средства измерений, вспомогательные устройства, материалы, реактивы, растворы
Весы аналитические лабораторные 2-го класса точности любого типа с погрешностью взвешивания по ГОСТ 24104.
Печь муфельная любого типа с терморегулятором, обеспечивающая нагревание до температуры 850°С.
Чаши выпарительные из кварцевого стекла по ГОСТ 19908 или стеклоуглерода.
Ступка агатовая или яшмовая с пестом.
Вода дистиллированная по ГОСТ 6709, дополнительно очищенная перегонкой или иным способом.
Кислота азотная особой чистоты по ГОСТ 11125 или марки ХЧ по ГОСТ 4461, или марки ЧДА по ГОСТ 4461, дополнительно очищенная перегонкой или иным способом и разбавленная 1:1 и 1:2.
Кислота серная по ГОСТ 4204, разбавленная 1:2.
Кислота винная по ГОСТ 5817.
Спирт этиловый ректификованный технический по ГОСТ 18300 или спирт этиловый технический по ГОСТ 17299, дополнительно очищенный перегонкой или иным способом.
Висмут по ГОСТ 10928.
Кадмий по ГОСТ 1467 или ГОСТ 22860.
Кальций углекислый по ГОСТ 4530.
Кобальт по ГОСТ 123.
Кремний (IV) оксид по ГОСТ 9428, измельченный и просеянный через сито с размером ячеек 0,074 мм, или тетраэтиловый эфир кремниевой кислоты, раствор в этиловом спирте.
Магний первичный по ГОСТ 804.
Марганец по ГОСТ 6008.
Медь катодная по ГОСТ 859.
Мышьяк по нормативному документу [4].
Порошок алюминиевый по ГОСТ 5494.
Порошок железный марки ПЖВ-1 по ГОСТ 9849 или железо карбонильное особой чистоты, или железо восстановленное.
Порошок никелевый карбонильный группы "У" или "0" по ГОСТ 9722 или никель марки Н-0 по ГОСТ 849 с установленными массовыми долями определяемых элементов.
Олово по ГОСТ 860 или порошок олова.
Свинец по ГОСТ 3778 или ГОСТ 22861.
Серебро по ГОСТ 6836.
Сурьма по ГОСТ 1089.
Таллий по ГОСТ 18337.
Теллур по ГОСТ 17614.
Фосфор красный по ГОСТ 8655 или калий фосфорнокислый по ГОСТ 4198, высушенный при температуре (105±2)°С в течение 1 ч.
Цинк по ГОСТ 3640.
Селен по ГОСТ 10298
Кислота фтористоводородная по ГОСТ 10484
Тантал по нормативному документу [5].
Для приготовления растворов вводимых элементов допускается использовать оксиды или азотнокислые соли стабильного состава, а также государственные стандартные образцы растворов металлов.
А.2 Изготовление материала СО
Для приготовления раствора основы СО навеску никелевого порошка или никеля расчетной массы растворяют при нагревании в азотной кислоте, разбавленной 1:1.
Навески расчетных масс железа, кобальта, меди, магния, марганца, алюминиевого порошка, цинка, свинца, висмута, кадмия, серебра, таллия, фосфора и углекислого кальция растворяют при нагревании в азотной кислоте, разбавленной 1:1. Сурьму растворяют в присутствии винной кислоты при соотношении масс сурьмы и винной кислоты 1:5. Мышьяк, селен и теллур растворяют в горячей азотной кислоте. Фосфорнокислый калий растворяют в воде.
Растворы переводят в мерные колбы и доливают до метки азотной кислотой, разбавленной 1:2. Сроки хранения растворов с известной концентрацией по ГОСТ 4212.
Олово растворяют в серной кислоте, раствор переводят в мерную колбу и доливают до метки серной кислотой, разбавленной 1:2.
Порошок олова растворяют в азотной кислоте, разбавленной 1:2, на ледяной бане при перемешивании, раствор используют в течение 1 ч.
Тантал растворяют в смеси азотной и фтористоводородной кислот с последующей многократной отгонкой иона фтора горячей азотной кислотой.
Полученный раствор охлаждают, переводят в мерную колбу и доливают до метки раствором винной кислоты с массовой концентрацией 0,15 г/см.
Расчетные объемы растворов с известным содержанием элементов вводят в раствор никеля и перемешивают. При необходимости учитывают массовые доли примесей в металле, используемом для приготовления раствора никеля.
После этого вводят кремний в виде водной взвеси оксида кремния или раствора тетраэтилового эфира кремниевой кислоты в этиловом спирте, раствор используют в течение 1 ч.
Полученные растворы выпаривают до сухих солей и прокаливают в муфельной печи при температуре (825±25)°С. Прокаленную смесь оксидов охлаждают, измельчают до получения порошка в ступке или другим методом, исключающим загрязнение материала СО. Материал усредняют перемешиванием и используют для определения метрологических характеристик.
Материал СО хранят в плотно закрытых банках или бюксах в условиях, исключающих его загрязнение и увлажнение.
Приложение А. (Измененная редакция, Изм. N 1).
ПРИЛОЖЕНИЕ Б (рекомендуемое). Порядок проверки пригодности результатов параллельных измерений при вычислении результата определения
ПРИЛОЖЕНИЕ Б
(рекомендуемое)
По трем значениям разностей почернений (или интенсивностей) аналитических спектральных линий находят массовые доли определяемых элементов по градуировочному графику. Пригодными считаются измерения, для которых выполняется условие
, (Б.1)
где ,
и
- значения массовых долей определяемого элемента, соответствующие наибольшему, наименьшему и среднему значениям разностей почернений (или интенсивности);
- относительное значение допускаемого расхождения между
и
, приведенное ниже для определяемых элементов;
подстрочный цифровой индекс - число измерений.
Если это условие не выполняется, допускается исключить результат, наиболее удаленный от среднего значения. Оставшиеся два измерения считаются пригодными, если выполняется условие
. (Б.2)
Если это условие не выполняется, измерения повторяют из новых таблеток той же пробы.
Для алюминия, висмута, кадмия, кальция, кремния, магния, меди, мышьяка, селена, серебра, сурьмы, таллия, теллура и фосфора значение равно 0,50; для остальных элементов - 0,33.
Приложение Б. (Измененная редакция, Изм. N 1).
ПРИЛОЖЕНИЕ В (справочное). Библиография
ПРИЛОЖЕНИЕ В
(справочное)
[1] | Порядок накопления, транспортировки, обезвреживания и захоронения токсичных отходов. Утвержден Минздравом СССР. 1985. N 31-83-84 | |
[2] | СНиП 2.09.04-87 | Административные и бытовые здания. |
[3] | Типовые отраслевые нормы бесплатной выдачи рабочим и служащим специальной одежды, специальной обуви и других средств индивидуальной защиты. Утверждены Постановлением Госкомтруда СССР и Президиумом ВЦСПС от 01.08.79 N 344/II-7 и дополнены 21.08.85 N 289/II-8 | |
[4] | ТУ 113-12-112-89* | Мышьяк металлический для полупроводниковых соединений ОСЧ |
________________ | ||
[5] | ТУ 48-19-258-77 | Фольга танталовая и ниобиевая. |
Приложение В. (Измененная редакция, Изм. N 1).
________________________________________________________________________________________
УДК 669.24:543.42:006.354 МКС 77.040 В59 ОКСТУ 1732
Ключевые слова: никель, спектральный анализ, средства измерений, реактив, раствор, проба, результат
________________________________________________________________________________________
Электронный текст документа
подготовлен ЗАО "Кодекс" и сверен по:
официальное издание
М.: Издательство стандартов, 2001
Редакция документа с учетом
изменений и дополнений подготовлена
АО "Кодекс"
Разместите заказ
сами сделают вам предложение
