ГОСТы сталей. ГОСТ 8956-75
ГОСТ 8956-75
Группа В61
МЕЖГОСУДАРСТВЕННЫЙ СТАНДАРТ
СОЕДИНИТЕЛЬНЫЕ ЧАСТИ ИЗ КОВКОГО ЧУГУНА С ЦИЛИНДРИЧЕСКОЙ РЕЗЬБОЙ ДЛЯ ТРУБОПРОВОДОВ. МУФТЫ КОМПЕНСИРУЮЩИЕ
Основные размеры
Ductile iron fittings with parallel thread for pipelines. Compensation sockets. Basic dimensions
МКС 23.040.60
Дата введения 1977-01-01
Постановлением Государственного комитета стандартов Совета Министров СССР от 14.11.75 N 2901 дата введения установлена 01.01.77
Ограничение срока действия снято по протоколу N 2-92 Межгосударственного совета по стандартизации, метрологии и сертификации (ИУС 2-93)
ВЗАМЕН ГОСТ 8956-59
ИЗДАНИЕ (сентябрь 2010 г.) с Изменением N 1, утвержденным в сентябре 1980 г. (ИУС 11-80)
Введение
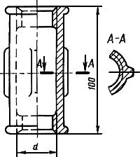
1. Основные размеры муфты должны соответствовать указанным на чертеже и в таблице.
Чертеж. Основные размеры муфты

Примечание. Чертеж не определяет конструкцию муфты.
Размеры в мм
Условный проход | Резьба | Число ребер | Масса без покрытия, кг, не более* |
15 | G | 2 | 0,175 |
20 | G | 2 | 0,236 |
25 | G 1 - В | 4 | 0,342 |
32 | G 1 | 4 | 0,462 |
40 | G 1 | 4 | 0,582 |
50 | G 2 - В | 6 | 0,832 |
_______________
* Для справок.
Примечание. Масса оцинкованных соединительных частей не должна превышать массу неоцинкованных более чем на 5%.
Примеры условных обозначений
Компенсирующей муфты без покрытий с 40 мм:
Муфта компенсирующая 40 ГОСТ 8956-75
То же, с цинковым покрытием:
Муфта компенсирующая Ц-40 ГОСТ 8956-75
(Измененная редакция, Изм. N 1).
2. Конструктивные размеры и технические требования - по ГОСТ 8944-75.
Электронный текст документа
подготовлен АО "Кодекс" и сверен по:
официальное издание
Трубы металлические и соединительные
части к ним. Часть 4. Трубы из черных
металлов и сплавов литые и соединительные
части к ним. Основные размеры. Методы
технологических испытаний труб:
Сб. ГОСТов. - М.: Стандартинформ, 2010
Разместите заказ
сами сделают вам предложение
